Каталог запасных частей к технике: ЧТЗ ДЭТ-250М2. Фильтр топливный

zoom-in zoom-out enlarge shrink circle-right circle-left file-text2 info cart arraw right arraw left zoom out zoom in arraw maximize arraw minimize
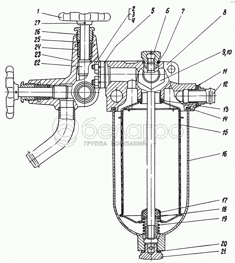
1
2
3
4
5
6
7
8
9
10
11
12
13
14
15
16
17
18
19
20
21
22
23
24
25
26
27
748-25-202СП
Крышка
В узле: ---
748-25-352СП
Кран
В узле: ---
1
748-25-639
Маховичок
В узле: ---
2
ГайкаМ8-7Н.6.019 [ГОСТ 5915-70]
ГайкаМ8-7Н.6.019
В узле: ---
3
Шайба 8Т 65Г 09 [ГОСТ 6402-70]
Шайба 8Т 65Г 09
В узле: ---
4
Шпилька М8-6gх20.66.029 [ГОСТ 22034-76]
Шпилька М8-6gх20.66.029
В узле: ---
5
748-25-391
Прокладка
В узле: ---
6
329-29
Гайка
В узле: ---
7
329-30
Прокладка
В узле: ---
8
748-25-213
Крышка фильтра
В узле: ---
9
МН 4152-62
Кольцо 12х18
В узле: ---
10
748-25-398
Штуцер
В узле: ---
11
МН 4152-62
Кольцо 12х18
В узле: ---
12
748-25-294
Трубка
В узле: ---
13
46571
Кольцо СП35-25-3
В узле: ---
14
КВ-05-100
Прокладка
В узле: ---
15
КВ-сб 05-35
Секция фильтра в сборе
В узле: ---
16
748-25-334СП
Стакан
В узле: ---
17
46570
Кольцо СП23-10-10
В узле: ---
18
Шайба 10.02 [ГОСТ 11371-78]
Шайба 10.02
В узле: ---
19
700-38-2662
Пружина
В узле: ---
20
КВ-05-97
Прокладка
В узле: ---
21
КВ-05-102
Пробка спускная
В узле: ---
22
КВ-05-26
Клапан
В узле: ---
23
748-25-351 СП
Корпус
В узле: ---
24
730-05-461
Прокладка
В узле: ---
25
КВ-05-30
Шайба
В узле: ---
26
КВ-05-27
Нажимная гайка
В узле: ---
27
Проволока 4-1 [ГОСТ 3282-74]
Проволока 4-1
В узле: ---
Содержащиеся в справочниках-каталогах запасные части и детали не предлагаются к продаже, а носят исключительно информационный характер

Ваша заявка была отправлена. В ближайшее время наши специалисты с Вами свяжутся по указанному Вами телефону.

Представьтесь
Поле обязательно для заполнения
Ваш телефон
Введите правильный номер телефона
E-mail
Введите правильный e-mail
Тема
Тема
применяемость финансирование доставка цена, наличие другое сервис и гарантия
Время для звонка
08:00
08:00 09:00 10:00 11:00 12:00 13:00 14:00 15:00 16:00 17:00 18:00 19:00
19:00
08:00 09:00 10:00 11:00 12:00 13:00 14:00 15:00 16:00 17:00 18:00 19:00

Мы постараемся перезвонить в указанное время

Если вы не хотите ждать, то звоните нашим вежливым консультантам:

8 800 100-2-700
Подтвердите, что вы не робот
Подтвердите, что вы не робот
Спасибо!

Ваше сообщение успешно отправлено!

ЗакрытьПовторить попытку