Каталог запасных частей к технике: ЧТЗ ДЭТ-250М2. Механизмы управления и тормоза

zoom-in zoom-out enlarge shrink circle-right circle-left file-text2 info cart arraw right arraw left zoom out zoom in arraw maximize arraw minimize
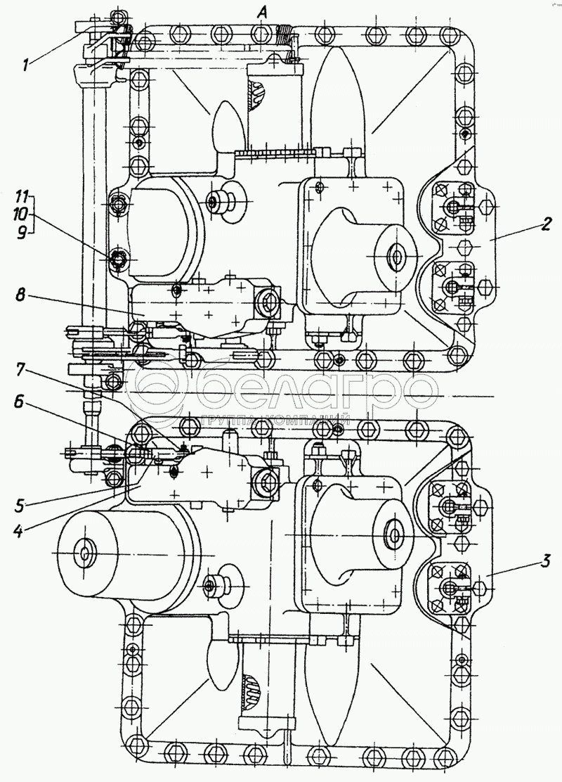
1
2
3
4
5
6
7
8
9
10
11
1
700-38-996
Пружина
В узле: ---
2
748-18-212СП
Механизм управления правый
В узле: ---
3
748-18-213СП
Механизм управления левый
В узле: ---
4
748-18-163СП
Золотник
В узле: ---
5
748-18-452-1
Проушина
В узле: ---
6
Гайка шестигранная специальная ГПШ М10х1
Гайка шестигранная специальная ГПШ М10х1
В узле: ---
7
700-31-344
Шайба
В узле: ---
8
748-18-162СП
Золотник
В узле: ---
9
30335
Гайка
В узле: ---
10
700-29-2256
Шпилька
В узле: ---
11
Шплинт 4х36.019 [ГОСТ 397-79]
Шплинт 4х36.019
В узле: ---
Содержащиеся в справочниках-каталогах запасные части и детали не предлагаются к продаже, а носят исключительно информационный характер

Ваша заявка была отправлена. В ближайшее время наши специалисты с Вами свяжутся по указанному Вами телефону.

Представьтесь
Поле обязательно для заполнения
Ваш телефон
Введите правильный номер телефона
E-mail
Введите правильный e-mail
Тема
Тема
применяемость финансирование доставка цена, наличие другое сервис и гарантия
Время для звонка
08:00
08:00 09:00 10:00 11:00 12:00 13:00 14:00 15:00 16:00 17:00 18:00 19:00
19:00
08:00 09:00 10:00 11:00 12:00 13:00 14:00 15:00 16:00 17:00 18:00 19:00

Мы постараемся перезвонить в указанное время

Если вы не хотите ждать, то звоните нашим вежливым консультантам:

8 800 100-2-700
Подтвердите, что вы не робот
Подтвердите, что вы не робот
Спасибо!

Ваше сообщение успешно отправлено!

ЗакрытьПовторить попытку