Каталог запасных частей к технике: ЧТЗ ДЭТ-250М2. Редуктор раздаточный

zoom-in zoom-out enlarge shrink circle-right circle-left file-text2 info cart arraw right arraw left zoom out zoom in arraw maximize arraw minimize
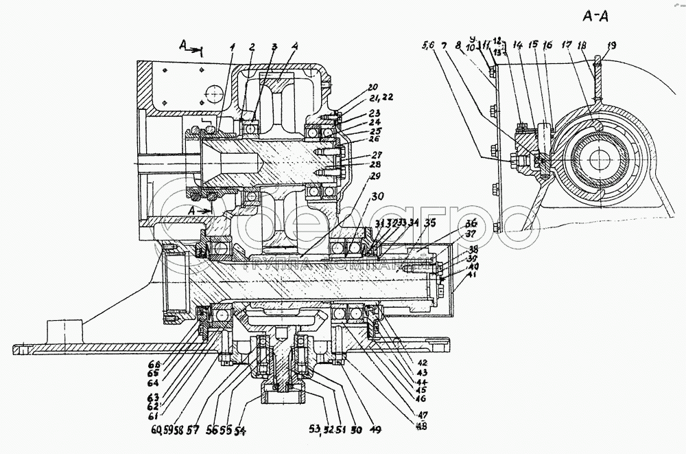
1
2
3
3
4
5
6
7
8
9
10
11
12
13
14
15
16
17
18
19
20
21
22
23
23
24
25
26
27
28
29
30
31
31
32
32
33
33
34
35
36
37
38
39
40
41
42
43
44
45
46
47
47
48
49
50
50
51
52
53
54
55
56
57
57
58
59
60
61
62
62
63
64
65
66
748-50-123СП
Крышка
В узле: ---
743-50-122СП
Крышка
В узле: ---
1
748-50-408
Муфта
В узле: ---
2
700-39-144
Кольцо пружинное
В узле: ---
3
Подшипник 214 [ГОСТ 8338-75]
Подшипник 214
В узле: ---
3
Подшипник 214 [ГОСТ 8338-75]
Подшипник 214
В узле: ---
4
748-50-445
Шестерня
В узле: ---
5
700-37-317-01
Пробка
В узле: ---
6
МН 4152-62
Кольцо 12х18
В узле: ---
7
748-50-164
Стопор
В узле: ---
8
748-50-268
Прокладка
В узле: ---
9
Болт М10-6gх25.58.019 [ГОСТ 7796-70]
Болт М10-6gх25.58.019
В узле: ---
10
Шайба 10 ОТ 65Г 09 [ГОСТ 6402-70]
Шайба 10 ОТ 65Г 09
В узле: ---
11
748-50-267
Крышка
В узле: ---
12
Болт М8-6gх20.88.35.019 [ГОСТ 7796-70]
Болт М8-6gх20.88.35.019
В узле: ---
13
Шайба 8Т 65Г 09 [ГОСТ 6402-70]
Шайба 8Т 65Г 09
В узле: ---
14
748-50-181
Кольцо
В узле: ---
15
748-50-378
Валик
В узле: ---
16
748-50-449
Пластина
В узле: ---
17
748-50-379
Вилка
В узле: ---
18
700-42-2394
Табличка
В узле: ---
19
Заклепка 3х14-32 [ГОСТ-10299-80]
Заклепка 3х14-32
В узле: ---
20
748-50-161
Прокладка
В узле: ---
21
700-28-912
Болт
В узле: ---
22
Проволока КО 1 [ГОСТ 792-67]
Проволока КО 1
В узле: ---
23
Подшипник 212 [ГОСТ 8338-75]
Подшипник 212
В узле: ---
23
Подшипник 212 [ГООСТ 8338-75]
Подшипник 212
В узле: ---
24
748-50-544
Шайба
В узле: ---
25
748-50-447
Крышка
В узле: ---
26
748-16-88
Крышка
В узле: ---
27
748-50-450
Планка
В узле: ---
28
748-50-484
Вал ведомый
В узле: ---
29
748-50-501
Шестерня
В узле: ---
30
748-50-543
Шайба
В узле: ---
31
701-212-63
Пружина
В узле: ---
31
701-212-63
Пружина
В узле: ---
32
701-212-62
Манжета
В узле: ---
32
701-212-62
Манжета
В узле: ---
33
700-58-2458
Кольцо упорное
В узле: ---
33
700-58-2458
Кольцо упорное
В узле: ---
34
700-40-2014
Кольцо
В узле: ---
35
748-50-497
Вал ведущий
В узле: ---
36
748-50-498
Втулка
В узле: ---
37
748-50-499
Крышка
В узле: ---
38
700-28-2197
Болт
В узле: ---
39
301-161А
Кольцо
В узле: ---
40
Проволока КО 2 [ГОСТ 792-67]
Проволока КО 2
В узле: ---
41
748-50-205СП
Чехол
В узле: ---
42
748-50-162
Втулка распорная
В узле: ---
43
748-50-153
Крышка
В узле: ---
44
748-50-157
Кольцо маслоотражательное
В узле: ---
45
748-50-160
Прокладка
В узле: ---
46
748-50-568
Корпус редуктора
В узле: ---
47
Подшипник 213 [ГОСТ 8338-75]
Подшипник 213
В узле: ---
47
Подшипник 213 [ГОСТ 8338-75]
Подшипник 213
В узле: ---
48
748-50-382
Стакан
В узле: ---
49
700-28-911
Болт
В узле: ---
50
Подшипник 42207 [ГОСТ 8328-75]
Подшипник 42207
В узле: ---
50
Подшипник 42207 [ГОСТ 8328-75]
Подшипник 42207
В узле: ---
51
748-50-381
Шестерня
В узле: ---
52
700-30-2322
Гайка
В узле: ---
53
700-31-490
Шайба стопорная
В узле: ---
54
748-50-144СП
Муфта
В узле: ---
55
748-50-383
Втулка
В узле: ---
56
748-50-384
Втулка
В узле: ---
57
Подшипник 207 [ГОСТ 8338-75]
Подшипник 207
В узле: ---
57
Подшипник 207 [ГОСТ 8338-75]
Подшипник 207
В узле: ---
58
748-50-389
Прокладка
В узле: ---
59
748-50-390
Прокладка
В узле: ---
60
748-50-391
Прокладка
В узле: ---
61
748-50-380
Шестерня
В узле: ---
62
Подшипник 312 [ГОСТ 8338-75]
Подшипник 312
В узле: ---
62
Подшипник 312 [ГОСТ 8338-75]
Подшипник 312
В узле: ---
63
748-50-577
Прокладка
В узле: ---
64
700-28-910
Болт
В узле: ---
65
748-50-156
Кольцо маслоотражательное
В узле: ---
66
748-50-152
Крышка
В узле: ---
Содержащиеся в справочниках-каталогах запасные части и детали не предлагаются к продаже, а носят исключительно информационный характер

Ваша заявка была отправлена. В ближайшее время наши специалисты с Вами свяжутся по указанному Вами телефону.

Представьтесь
Поле обязательно для заполнения
Ваш телефон
Введите правильный номер телефона
E-mail
Введите правильный e-mail
Тема
Тема
применяемость финансирование доставка цена, наличие другое сервис и гарантия
Время для звонка
08:00
08:00 09:00 10:00 11:00 12:00 13:00 14:00 15:00 16:00 17:00 18:00 19:00
19:00
08:00 09:00 10:00 11:00 12:00 13:00 14:00 15:00 16:00 17:00 18:00 19:00

Мы постараемся перезвонить в указанное время

Если вы не хотите ждать, то звоните нашим вежливым консультантам:

8 800 100-2-700
Подтвердите, что вы не робот
Подтвердите, что вы не робот
Спасибо!

Ваше сообщение успешно отправлено!

ЗакрытьПовторить попытку