Каталог запасных частей к технике: ЧТЗ Кран ТР-20, ТР-12. Фильтр масляный

zoom-in zoom-out enlarge shrink circle-right circle-left file-text2 info cart arraw right arraw left zoom out zoom in arraw maximize arraw minimize
65-09-123СП
1
2
3
4
5
6
7
8
9
10
11
12
13
14
15
16
17
18
19
20
21
22
23
23
24
25
26
27
28
29
30
31
32
33
34
35
36
37
38
39
19
022-028-36-2-2
Кольцо 022-028-36-2-2
В узле: ---
022-028-36-2-2 Кольцо уплотнительное, Беларусь >10 шт. 11.63 р.
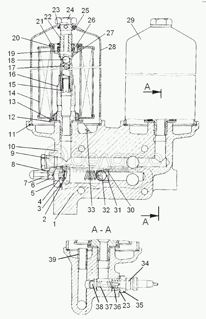
65-09-123СП
Фильтр маслянный
В узле: ---
1
51-09-254
Корпус
В узле: ---
2
700-58-2590
Кольцо
В узле: ---
3
700-38-2191
Пружина
В узле: ---
4
65-09-9
Винт
В узле: ---
5
700-41-4010
Штуцер
В узле: ---
6
3084
Гайка
В узле: ---
7
02277
Наконечник
В узле: ---
8
40912
Кольцо
В узле: ---
9
379
Пробка
В узле: ---
10
65-09-129СП
Корпус
В узле: ---
11
700-40-8391
Прокладка
В узле: ---
12
700-31-2674
Шайба
В узле: ---
13
65-09-77
Прокладка
В узле: ---
14
ЭФМ-011-1
Элемент фильтрующий
В узле: ---
15
65-09-22
Винт
В узле: ---
16
51-09-255-01
Вставка
В узле: ---
17
38347
Пружина
В узле: ---
18
Б12-200
Шарик Б12-200
В узле: ---
20
700-40-8390
Прокладка
В узле: ---
21
51-09-260
Чашка опорная
В узле: ---
22
65-09-124СП
Болт
В узле: ---
23
700-31-2678
Шайба
В узле: ---
24
65-09-112СП
Болт с перепускным клапаном
В узле: ---
25
700-38-2877
Пружина
В узле: ---
26
700-31-2677
Шайба
В узле: ---
27
308-19
Кольцо стопорное
В узле: ---
28
51-09-257СП
Колпак
В узле: ---
29
65-09-113СП
Колпак с уплотнением
В узле: ---
30
65-09-95
Седло клапана
В узле: ---
31
ВинтВ.М5-6gх12.58.019
Винт В.М5-6gх12.58.019
В узле: ---
32
Б19-200
Шарик Б19-200
В узле: ---
33
65-09-43
Втулка
В узле: ---
34
65-09-132СП
Датчик сигнализатора
В узле: ---
35
65-09-49
Штуцер
В узле: ---
36
65-09-48
Седло
В узле: ---
37
700-38-2319
Пружина
В узле: ---
38
65-09-35-01
Клапан
В узле: ---
39
65-09-42
Втулка
В узле: ---
Содержащиеся в справочниках-каталогах запасные части и детали не предлагаются к продаже, а носят исключительно информационный характер

Ваша заявка была отправлена. В ближайшее время наши специалисты с Вами свяжутся по указанному Вами телефону.

Представьтесь
Поле обязательно для заполнения
Ваш телефон
Введите правильный номер телефона
E-mail
Введите правильный e-mail
Тема
Тема
применяемость финансирование доставка цена, наличие другое сервис и гарантия
Время для звонка
08:00
08:00 09:00 10:00 11:00 12:00 13:00 14:00 15:00 16:00 17:00 18:00 19:00
19:00
08:00 09:00 10:00 11:00 12:00 13:00 14:00 15:00 16:00 17:00 18:00 19:00

Мы постараемся перезвонить в указанное время

Если вы не хотите ждать, то звоните нашим вежливым консультантам:

8 800 100-2-700
Подтвердите, что вы не робот
Подтвердите, что вы не робот
Спасибо!

Ваше сообщение успешно отправлено!

ЗакрытьПовторить попытку