Каталог запасных частей к технике: ЧТЗ Кран ТР-20, ТР-12. Фильтр топливный грубой очистки

zoom-in zoom-out enlarge shrink circle-right circle-left file-text2 info cart arraw right arraw left zoom out zoom in arraw maximize arraw minimize
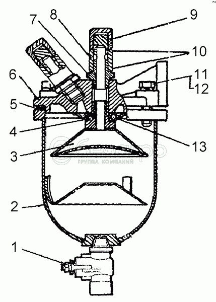
51-70-148СП
1
2
3
4
5
6
7
8
9
10
11
11
12
13
51-70-148СП
Фильтр топливный грубой очистки
В узле: ---
1
ПС7-2
Кран ПС 7-2
В узле: ---
2
51-70-138СП
Стакан
В узле: ---
3
51-70-142СП
Отражатель
В узле: ---
4
Шайба14.ОТ.65Г.09
Шайба 14.ОТ.65Г.09
В узле: ---
5
700-40-20012
Прокладка
В узле: ---
6
51-70-44
Корпус
В узле: ---
7
700-41-3747
Штуцер
В узле: ---
8
51-70-48
Втулка
В узле: ---
9
700-30-2296
Гайка накидная
В узле: ---
10
51-06-8
Кольцо
В узле: ---
11
БолтМ8х30.88.35.019
Болт М8х30.88.35.019
В узле: ---
11
356-73
Болт М8х30
В узле: ---
12
Шайба8Т.65Г.09
Шайба 8Т.65Г.09
В узле: ---
13
51-70-45
Распределитель
В узле: ---
Содержащиеся в справочниках-каталогах запасные части и детали не предлагаются к продаже, а носят исключительно информационный характер

Ваша заявка была отправлена. В ближайшее время наши специалисты с Вами свяжутся по указанному Вами телефону.

Представьтесь
Поле обязательно для заполнения
Ваш телефон
Введите правильный номер телефона
E-mail
Введите правильный e-mail
Тема
Тема
применяемость финансирование доставка цена, наличие другое сервис и гарантия
Время для звонка
08:00
08:00 09:00 10:00 11:00 12:00 13:00 14:00 15:00 16:00 17:00 18:00 19:00
19:00
08:00 09:00 10:00 11:00 12:00 13:00 14:00 15:00 16:00 17:00 18:00 19:00

Мы постараемся перезвонить в указанное время

Если вы не хотите ждать, то звоните нашим вежливым консультантам:

8 800 100-2-700
Подтвердите, что вы не робот
Подтвердите, что вы не робот
Спасибо!

Ваше сообщение успешно отправлено!

ЗакрытьПовторить попытку