Каталог запасных частей к технике: ЧТЗ Кран ТР-20, ТР-12. Муфта сцепления

zoom-in zoom-out enlarge shrink circle-right circle-left file-text2 info cart arraw right arraw left zoom out zoom in arraw maximize arraw minimize
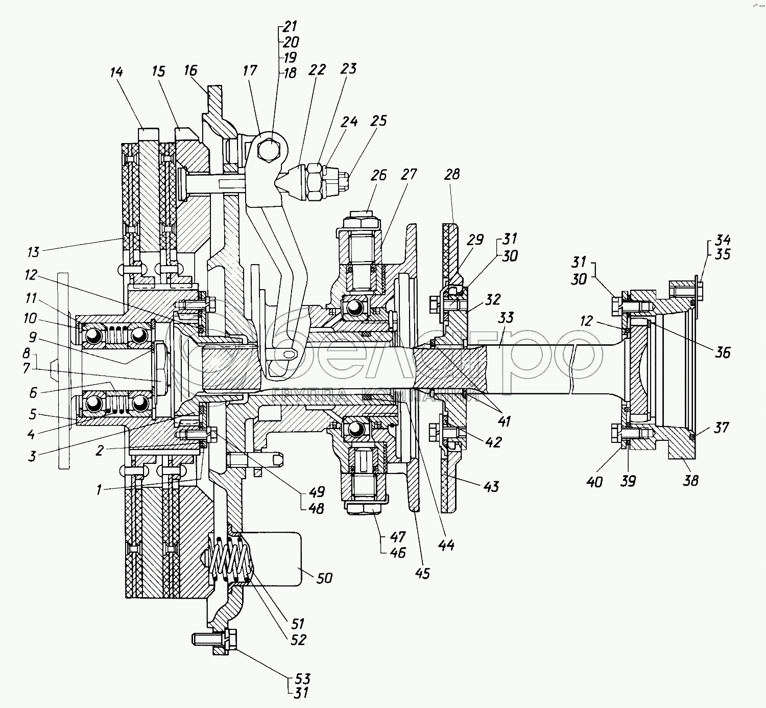
20-14-2СП
1
2
2
3
4
5
6
7
8
9
10
11
11
12
12
13
14
15
16
17
18
19
20
21
22
23
24
25
26
27
28
29
30
30
31
31
31
32
33
34
35
36
37
38
38
39
39
40
41
42
43
44
45
46
47
48
49
50
51
52
53
20-14-2СП
Муфта сцепления
В узле: ---
1
18-14-114
Крышка
В узле: ---
2
700-40-2532-1
Прокладка
В узле: ---
2
700-40-2532
Прокладка
В узле: ---
3
18-14-78
Муфта
В узле: ---
4
38462
Пружина
В узле: ---
5
18-14-104
Барабан зубчатый
В узле: ---
6
18-14-62
Втулка
В узле: ---
7
3170
Шайба
В узле: ---
8
700-30-2032
Гайка
В узле: ---
9
50-14-2
Пластина
В узле: ---
10
18-14-66
Кольцо
В узле: ---
11
180308УС9
Подшипник 180308УС9
В узле: ---
11
180308У1С9Ш
Подшипник шариковый радиальный однорядный
В узле: ---
12
46812
Кольцо
В узле: ---
13
18-14-135СП
Диск ведомый
В узле: ---
14
18-14-44
Диск ведущий
В узле: ---
15
50-14-64
Диск нажимной
В узле: ---
16
18-14-142СП
Фланец
В узле: ---
17
18-14-92
Рычаг
В узле: ---
18
18-14-49
Палец
В узле: ---
19
18-14-69
Ролик
В узле: ---
20
ГайкаМ12х1,25.6Н.6А.019
Гайка М12х1,25.6Н.6А.019
В узле: ---
21
Шплинт3,2х25.019
Шплинт 3,2х25.019
В узле: ---
22
18-14-47
Призма
В узле: ---
23
18-14-130
Гайка
В узле: ---
24
ПроволокаКО3,0
Проволока КО 3,0
В узле: ---
25
18-14-131
Болт
В узле: ---
26
18-14-128
Палец
В узле: ---
27
24-14-104СП
Рычаг
В узле: ---
28
18-14-140-1СП
Тормозок
В узле: ---
29
18-14-122
Пластина
В узле: ---
30
БолтМ12х25.88.45.019
Болт М12х25.88.45.019
В узле: ---
31
Шайба12.ОТ.65Г.09
Шайба 12.ОТ.65Г.09
В узле: ---
32
20-14-21
Муфта
В узле: ---
33
20-14-24
Вал
В узле: ---
34
12304
Болт
В узле: ---
35
31545
Пластина замковая
В узле: ---
36
700-58-2520
Кольцо
В узле: ---
37
21363
Кольцо
В узле: ---
38
20-14-25
Муфта
В узле: ---
38
50-14-26
Муфта
В узле: ---
39
700-40-5259
Прокладка
В узле: ---
39
700-40-5259-1
Прокладка
В узле: ---
40
18-14-125
Крышка
В узле: ---
41
700-58-2412
Кольцо
В узле: ---
42
20-14-22
Крышка
В узле: ---
43
18-14-135
Накладка фрикционная
В узле: ---
44
700-40-2122
Кольцо
В узле: ---
45
18-14-133СП
Муфта включения
В узле: ---
46
18-14-127
Палец
В узле: ---
47
31364
Пластина
В узле: ---
48
БолтМ10х25.46.019
Болт М10х25.46.019
В узле: ---
49
Шайба10.ОТ.65Г.09
Шайба 10.ОТ.65Г.09
В узле: ---
50
50-14-63
Стакан
В узле: ---
51
38461
Пружина
В узле: ---
52
38460
Пружина
В узле: ---
53
БолтМ12-6gх35.46.019
Болт М12-6gх35.46.019
В узле: ---
Содержащиеся в справочниках-каталогах запасные части и детали не предлагаются к продаже, а носят исключительно информационный характер

Ваша заявка была отправлена. В ближайшее время наши специалисты с Вами свяжутся по указанному Вами телефону.

Представьтесь
Поле обязательно для заполнения
Ваш телефон
Введите правильный номер телефона
E-mail
Введите правильный e-mail
Тема
Тема
применяемость финансирование доставка цена, наличие другое сервис и гарантия
Время для звонка
08:00
08:00 09:00 10:00 11:00 12:00 13:00 14:00 15:00 16:00 17:00 18:00 19:00
19:00
08:00 09:00 10:00 11:00 12:00 13:00 14:00 15:00 16:00 17:00 18:00 19:00

Мы постараемся перезвонить в указанное время

Если вы не хотите ждать, то звоните нашим вежливым консультантам:

8 800 100-2-700
Подтвердите, что вы не робот
Подтвердите, что вы не робот
Спасибо!

Ваше сообщение успешно отправлено!

ЗакрытьПовторить попытку