Каталог запасных частей к технике: ЧТЗ Кран ТР-20, ТР-12. Редукторы - продолжение

zoom-in zoom-out enlarge shrink circle-right circle-left file-text2 info cart arraw right arraw left zoom out zoom in arraw maximize arraw minimize
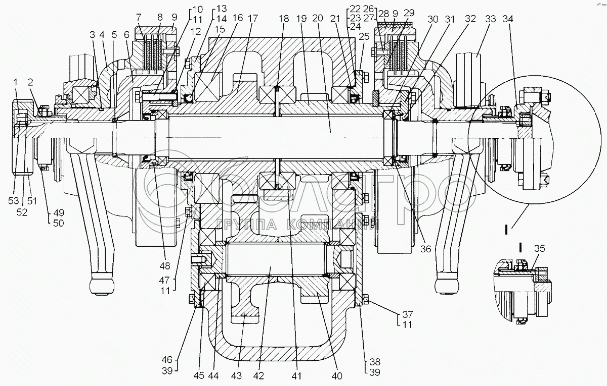
71-44-101СП
71-44-102СП
1
2
3
4
5
6
7
8
9
9
10
11
11
11
12
13
14
15
16
17
18
19
20
21
22
23
24
25
26
27
28
29
30
31
32
33
34
35
36
37
38
39
39
40
41
42
43
44
45
46
47
48
49
50
51
51
52
53
71-44-101СП
Редуктор
В узле: ---
71-44-102СП
Редуктор
В узле: ---
1
700-30-2264
Гайка
В узле: ---
2
71-44-129
Втулка
В узле: ---
3
700-40-2940
Кольцо У-85х80-2
В узле: ---
4
71-44-107СП
Диск нажимной
В узле: ---
5
71-44-49
Кольцо разрезное
В узле: ---
6
71-44-127
Барабан ведущий
В узле: ---
7
71-44-124СП
Диск
В узле: ---
8
71-44-34
Диск
В узле: ---
9
71-44-69
Барабан
В узле: ---
10
БолтМ10х55.58.019
Болт М10х55.58.019
В узле: ---
11
Шайба10.ОТ.65Г.09
Шайба 10.ОТ.65Г.09
В узле: ---
12
71-44-94
Кольцо
В узле: ---
13
71-44-21
Крышка
В узле: ---
14
700-40-8593
Прокладка
В узле: ---
15
2.1-100х125-4
Манжета 2.1-100х125-4
В узле: ---
16
221
Подшипник 221
В узле: ---
17
71-44-58
Колесо зубчатое
В узле: ---
18
71-44-38
Кольцо
В узле: ---
19
71-44-59
Колесо зубчатое
В узле: ---
20
71-44-326
Вал ведущий
В узле: ---
21
700-40-3052
Кольцо
В узле: ---
22
71-44-134
Прокладка регулировочная
В узле: ---
23
71-44-134-01
Прокладка регулировочная
В узле: ---
24
71-44-134-02
Прокладка регулировочная
В узле: ---
25
71-44-139
Крышка
В узле: ---
26
БолтМ8-6gх25.88.35.019
Болт
В узле: ---
27
Шайба8Т.65Г.09
Шайба 8Т.65Г.09
В узле: ---
28
71-44-148СП
Лента тормозная
В узле: ---
29
71-44-150
Кольцо
В узле: ---
30
110
Подшипник 110
В узле: ---
31
71-44-92
Корпус
В узле: ---
32
2.1-50х70-1
Манжета 2.1-50х70-1
В узле: ---
33
71-44-108СП
Диск нажимной
В узле: ---
34
71-44-100
Полумуфта
В узле: ---
35
71-44-46
Втулка
В узле: ---
36
700-39-507
Кольцо В50
В узле: ---
37
БолтМ10-6gх25.58.019
Болт
В узле: ---
38
71-44-23
Крышка
В узле: ---
39
700-40-8594
Прокладка
В узле: ---
40
71-44-8
Колесо зубчатое
В узле: ---
41
120А
Подшипник 120 А
В узле: ---
42
71-44-13
Вал
В узле: ---
43
71-44-7
Колесо зубчатое
В узле: ---
44
71-44-35
Втулка
В узле: ---
45
308А
Подшипник 308 А
В узле: ---
46
71-44-109СП
Крышка
В узле: ---
47
БолтМ10-6gх30.58
Болт М10-6gх30.58
В узле: ---
48
700-40-3123
Кольцо
В узле: ---
49
28447
Болт
В узле: ---
50
КО1,6
Проволока КО 1,6
В узле: ---
51
71-44-130
Полумуфта
В узле: ---
51
71-44-130-01
Полумуфта
В узле: ---
52
62-14-59
Пластина
В узле: ---
53
ВинтВ.М8х16.14Н
Винт В.М8х16.14Н
В узле: ---
Содержащиеся в справочниках-каталогах запасные части и детали не предлагаются к продаже, а носят исключительно информационный характер

Ваша заявка была отправлена. В ближайшее время наши специалисты с Вами свяжутся по указанному Вами телефону.

Представьтесь
Поле обязательно для заполнения
Ваш телефон
Введите правильный номер телефона
E-mail
Введите правильный e-mail
Тема
Тема
применяемость финансирование доставка цена, наличие другое сервис и гарантия
Время для звонка
08:00
08:00 09:00 10:00 11:00 12:00 13:00 14:00 15:00 16:00 17:00 18:00 19:00
19:00
08:00 09:00 10:00 11:00 12:00 13:00 14:00 15:00 16:00 17:00 18:00 19:00

Мы постараемся перезвонить в указанное время

Если вы не хотите ждать, то звоните нашим вежливым консультантам:

8 800 100-2-700
Подтвердите, что вы не робот
Подтвердите, что вы не робот
Спасибо!

Ваше сообщение успешно отправлено!

ЗакрытьПовторить попытку