Каталог запасных частей к технике: ЧТЗ Кран ТР-20, ТР-12. Турбокомпрессор ТКР 8,5С

zoom-in zoom-out enlarge shrink circle-right circle-left file-text2 info cart arraw right arraw left zoom out zoom in arraw maximize arraw minimize
51-54-1-01СП
1
2
3
4
5
6
7
8
9
10
11
12
13
14
15
16
17
18
19
20
21
22
23
24
25
26
27
28
29
30
31
32
51-54-1-01СП
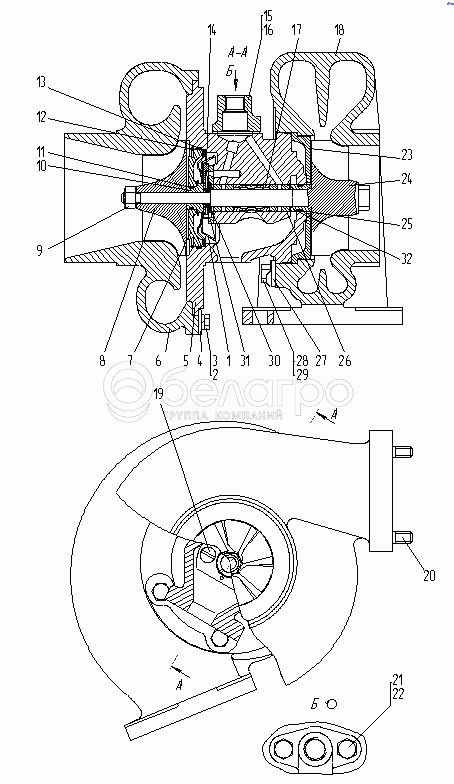
Турбокомпрессор ТКР8,5С
В узле: ---
1
51-54-102СП
Щиток
В узле: ---
2
БолтМ6-6gх14.88.35.019
Болт М6-6gх14.88.35.019
В узле: ---
3
Шайба6Т.65Г.09
Шайба 6Т.65Г.09
В узле: ---
4
700-31-2606
Шайба
В узле: ---
5
51-54-3
Корпус подшипников
В узле: ---
6
51-54-29
Корпус компрессора
В узле: ---
7
51-54-5
Диск
В узле: ---
8
51-54-23
Колесо компрессора
В узле: ---
9
700-30-2345
Гайка
В узле: ---
10
51-54-15
Кольцо
В узле: ---
11
51-54-10
Кольцо
В узле: ---
12
51-54-18
Кольцо
В узле: ---
13
700-40-9198
Кольцо
В узле: ---
14
51-54-109СП
Подшипник упорный
В узле: ---
15
51-09-178
Фланец
В узле: ---
16
700-40-5650
Прокладка
В узле: ---
17
51-54-36
Втулка дистанционная
В узле: ---
18
51-54-1
Корпус турбины
В узле: ---
19
ВинтВ.М6-6gх16.58.019
Винт В.М6-6gх16.58.019
В узле: ---
20
ШпилькаМ8х1,25-3р/1-6gх22.66.019
Шпилька М8х1,25-3р/1-6gх22.66.019
В узле: ---
21
БолтМ8-6gх20.58.019
Болт М8-6gх20.58.019
В узле: ---
22
Шайба8Т.65Г.09
Шайба 8Т.65Г.09
В узле: ---
23
51-54-4
Экран
В узле: ---
24
51-54-108СП
Вал
В узле: ---
25
51-54-11
Кольцо
В узле: ---
26
51-54-37
Подшипник
В узле: ---
27
51-54-20
Планка
В узле: ---
28
700-31-2593
Пластина стопорная
В узле: ---
29
БолтМ8-6gх12.88.35.019
Болт
В узле: ---
30
51-54-19
Кольцо
В узле: ---
31
51-54-12
Планка
В узле: ---
32
51-54-35
Втулка
В узле: ---
Содержащиеся в справочниках-каталогах запасные части и детали не предлагаются к продаже, а носят исключительно информационный характер

Ваша заявка была отправлена. В ближайшее время наши специалисты с Вами свяжутся по указанному Вами телефону.

Представьтесь
Поле обязательно для заполнения
Ваш телефон
Введите правильный номер телефона
E-mail
Введите правильный e-mail
Тема
Тема
применяемость финансирование доставка цена, наличие другое сервис и гарантия
Время для звонка
08:00
08:00 09:00 10:00 11:00 12:00 13:00 14:00 15:00 16:00 17:00 18:00 19:00
19:00
08:00 09:00 10:00 11:00 12:00 13:00 14:00 15:00 16:00 17:00 18:00 19:00

Мы постараемся перезвонить в указанное время

Если вы не хотите ждать, то звоните нашим вежливым консультантам:

8 800 100-2-700
Подтвердите, что вы не робот
Подтвердите, что вы не робот
Спасибо!

Ваше сообщение успешно отправлено!

ЗакрытьПовторить попытку