Каталог запасных частей к технике: ЧТЗ Кран ТР-20, ТР-12. Установка коллекторов

zoom-in zoom-out enlarge shrink circle-right circle-left file-text2 info cart arraw right arraw left zoom out zoom in arraw maximize arraw minimize
51-05-51СП
1
2
3
3
3
3
4
4
5
6
6
7
7
8
9
10
11
12
13
13
13
14
15
16
17
18
19
20
20
21
22
23
24
24
25
25
26
27
28
29
30
31
32
33
34
35
36
51-05-51СП
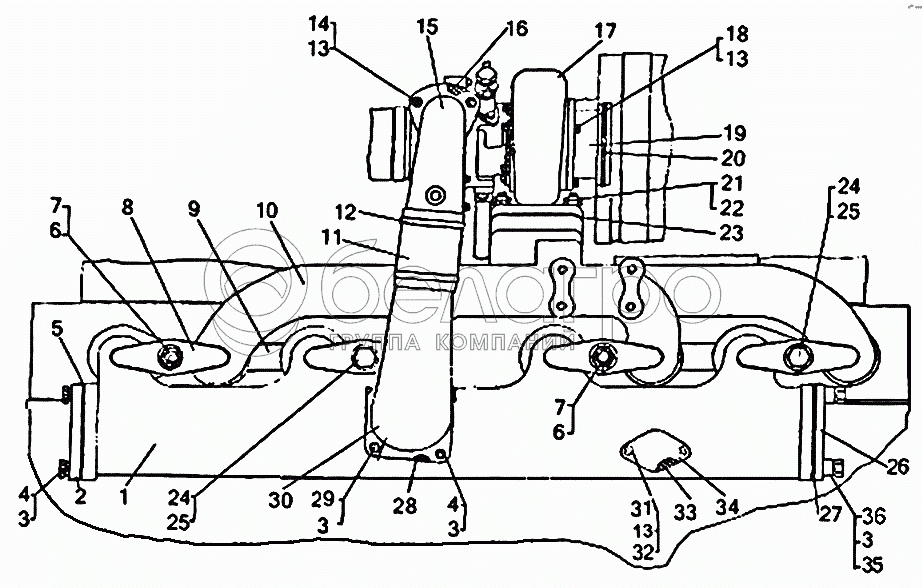
Установка коллекторов
В узле: ---
1
51-05-299СП
Коллектор впускной
В узле: ---
2
51-05-325
Крышка
В узле: ---
3
Шайба10.ОТ.65Г.09
Шайба 10.ОТ.65Г.09
В узле: ---
4
БолтМ10-6gх25.58.019
Болт
В узле: ---
5
700-40-7403
Прокладка
В узле: ---
6
3013
Гайка
В узле: ---
7
700-29-2210
Шпилька
В узле: ---
8
05688-1
Планка
В узле: ---
9
700-40-3880СП
Прокладка
В узле: ---
10
51-05-313
Коллектор выпускной
В узле: ---
11
700-46-2283
Рукав
В узле: ---
12
700-41-2222СП
Хомут
В узле: ---
13
Шайба8Т6509
Шайба 8Т 65 09
В узле: ---
14
ГайкаМ8х1.6.019
Гайка М8х1.6.019
В узле: ---
15
51-05-370СП
Патрубок
В узле: ---
16
700-40-8147
Прокладка
В узле: ---
17
51-54-1-01СП
Турбокомпрессор ТКР8,5С
В узле: ---
18
БолтМ8-6gх20.58.019
Болт М8-6gх20.58.019
В узле: ---
19
51-05-314
Вставка
В узле: ---
20
92.264
Кольцо
В узле: ---
20
51-54-30
Кольцо уплотнительное
В узле: ---
21
700-30-2099-01
Гайка
В узле: ---
22
700-29-2354-01
Шпилька
В узле: ---
23
700-40-8750СП
Прокладка
В узле: ---
24
700-28-2486
Болт
В узле: ---
25
3178
Шайба
В узле: ---
26
16-05-279-01
Крышка
В узле: ---
27
700-40-7420
Прокладка
В узле: ---
28
700-40-2233
Прокладка
В узле: ---
29
БолтМ10-6gх35.58.019
Болт
В узле: ---
30
51-05-518
Патрубок
В узле: ---
31
ГайкаМ8.6.019
Гайка
В узле: ---
32
ШпилькаМ8х1,25-3р/1-6gх22.66.019
Шпилька М8х1,25-3р/1-6gх22.66.019
В узле: ---
33
46238
Прокладка
В узле: ---
34
16-05-433
Крышка
В узле: ---
35
0474
Втулка
В узле: ---
36
БолтМ10-6gх45.58.019
Болт
В узле: ---
Содержащиеся в справочниках-каталогах запасные части и детали не предлагаются к продаже, а носят исключительно информационный характер

Ваша заявка была отправлена. В ближайшее время наши специалисты с Вами свяжутся по указанному Вами телефону.

Представьтесь
Поле обязательно для заполнения
Ваш телефон
Введите правильный номер телефона
E-mail
Введите правильный e-mail
Тема
Тема
применяемость финансирование доставка цена, наличие другое сервис и гарантия
Время для звонка
08:00
08:00 09:00 10:00 11:00 12:00 13:00 14:00 15:00 16:00 17:00 18:00 19:00
19:00
08:00 09:00 10:00 11:00 12:00 13:00 14:00 15:00 16:00 17:00 18:00 19:00

Мы постараемся перезвонить в указанное время

Если вы не хотите ждать, то звоните нашим вежливым консультантам:

8 800 100-2-700
Подтвердите, что вы не робот
Подтвердите, что вы не робот
Спасибо!

Ваше сообщение успешно отправлено!

ЗакрытьПовторить попытку