Каталог запасных частей к технике: ЧТЗ Кран ТР-20, ТР-12. Установка маслозакачивающего насоса

zoom-in zoom-out enlarge shrink circle-right circle-left file-text2 info cart arraw right arraw left zoom out zoom in arraw maximize arraw minimize
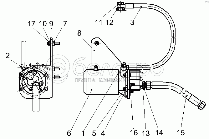
65-09-150-01СП
1
2
3
4
5
6
7
8
9
10
11
12
13
14
15
16
17
65-09-150-01СП
Установка маслозакачивающего насоса МЗН-5
В узле: ---
1
3327-112-01
Зажим
В узле: ---
2
355-08
Кольцо
В узле: ---
3
РВД8-4-570-16(09)/18(09)-90-У
РВД8-4-570-16(09)/18(09)-90-У
В узле: ---
4
Шайба8Т.65Г.019
Шайба 8Т.65Г.019
В узле: ---
5
ГайкаМ8-6H.5.019
Гайка М8-6H.5.019
В узле: ---
6
сб.346-00-7
Маслозакачивающий насос МЗН-5
В узле: ---
7
51-70-2
Втулка
В узле: ---
8
65-09-82
Кронштейн
В узле: ---
9
Шайба10.02.016
Шайба 10.02.016
В узле: ---
10
Шайба10.ОТ.65Г.019
Шайба 10.ОТ.65Г.019
В узле: ---
11
40911
Кольцо
В узле: ---
12
411143
Штуцер
В узле: ---
13
40910
Кольцо
В узле: ---
14
700-41-3533
Штуцер
В узле: ---
15
РВД16-90-360-200-М27х1,5(13)/М27х1,5(13)-90-У
РВД 16-90-360-200-М27х1,5(13)/М27х1,5(13)-90-У
В узле: ---
16
БолтМ8-8gх30.58.019
Болт М8-8gх30.58.019
В узле: ---
17
БолтМ10-6gх45.58.019
Болт
В узле: ---
Содержащиеся в справочниках-каталогах запасные части и детали не предлагаются к продаже, а носят исключительно информационный характер

Ваша заявка была отправлена. В ближайшее время наши специалисты с Вами свяжутся по указанному Вами телефону.

Представьтесь
Поле обязательно для заполнения
Ваш телефон
Введите правильный номер телефона
E-mail
Введите правильный e-mail
Тема
Тема
применяемость финансирование доставка цена, наличие другое сервис и гарантия
Время для звонка
08:00
08:00 09:00 10:00 11:00 12:00 13:00 14:00 15:00 16:00 17:00 18:00 19:00
19:00
08:00 09:00 10:00 11:00 12:00 13:00 14:00 15:00 16:00 17:00 18:00 19:00

Мы постараемся перезвонить в указанное время

Если вы не хотите ждать, то звоните нашим вежливым консультантам:

8 800 100-2-700
Подтвердите, что вы не робот
Подтвердите, что вы не робот
Спасибо!

Ваше сообщение успешно отправлено!

ЗакрытьПовторить попытку