Каталог запасных частей к технике: ЧТЗ Рабочее оборудование Б10М. Оборудование бульдозерное Е, E1, B

zoom-in zoom-out enlarge shrink circle-right circle-left file-text2 info cart arraw right arraw left zoom out zoom in arraw maximize arraw minimize
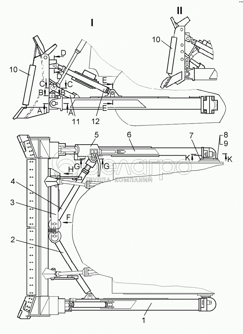
1
2
3
4
5
6
7
8
9
10
10
10
10
10
10
10
10
10
10
10
10
10
11
12
80-52-20-01СП
Оборудование бульдозерное 10В
В узле: 1
80-52-19СП
Оборудование бульдозерное 10Е
В узле: 1
80-52-20-03СП
Оборудование бульдозерное 10В
В узле: 1
80-52-20-02СП
Оборудование бульдозерное 10В
В узле: 1
80-52-20СП
Оборудование бульдозерное 10В
В узле: 1
80-52-19-07СП
Оборудование бульдозерное 10Е1
В узле: 1
80-52-19-06СП
Оборудование бульдозерное 10Е1
В узле: 1
80-52-19-05СП
Оборудование бульдозерное 10Е1
В узле: 1
80-52-19-01СП
Оборудование бульдозерное 10Е1
В узле: 1
80-52-19-04СП
Оборудование бульдозерное 10Е
В узле: 1
80-52-19-03СП
Оборудование бульдозерное 10Е
В узле: 1
80-52-19-02СП
Оборудование бульдозерное 10Е
В узле: 1
1
80-52-103СП
Брус
В узле: 1
2
80-52-272СП
Тяга
В узле: 1
3
80-52-271СП
Балка
В узле: 1
4
80-52-273СП
Подкос
В узле: 1
5
50-50-121СП
Гидрораскос
В узле: 1
6
80-52-102-01СП
Брус
В узле: 1
7
80-52-118СП
Опора
В узле: 2
8
БолтМ20х1,5х62
Болт
В узле: 12
9
Шайба20ОТ65Г09
Шайба
В узле: 12
10
80-52-291-05СП
Отвал
В узле: 1
10
80-52-294-03СП
Отвал
В узле: 1
10
80-52-294-02СП
Отвал
В узле: 1
10
80-52-294-01СП
Отвал
В узле: 1
10
80-52-294СП
Отвал
В узле: 1
10
80-52-291-07СП
Отвал
В узле: 1
10
80-52-291-06СП
Отвал
В узле: 1
10
80-52-291-04СП
Отвал
В узле: 1
10
80-52-291-03СП
Отвал
В узле: 1
10
80-52-291-02СП
Отвал
В узле: 1
10
80-52-291-01СП
Отвал
В узле: 1
10
80-52-291СП
Отвал
В узле: 1
11
80-52-183СП
Стопор
В узле: 2
12
80-52-101СП
Раскос
В узле: 1
Содержащиеся в справочниках-каталогах запасные части и детали не предлагаются к продаже, а носят исключительно информационный характер

Ваша заявка была отправлена. В ближайшее время наши специалисты с Вами свяжутся по указанному Вами телефону.

Представьтесь
Поле обязательно для заполнения
Ваш телефон
Введите правильный номер телефона
E-mail
Введите правильный e-mail
Тема
Тема
применяемость финансирование доставка цена, наличие другое сервис и гарантия
Время для звонка
08:00
08:00 09:00 10:00 11:00 12:00 13:00 14:00 15:00 16:00 17:00 18:00 19:00
19:00
08:00 09:00 10:00 11:00 12:00 13:00 14:00 15:00 16:00 17:00 18:00 19:00

Мы постараемся перезвонить в указанное время

Если вы не хотите ждать, то звоните нашим вежливым консультантам:

8 800 100-2-700
Подтвердите, что вы не робот
Подтвердите, что вы не робот
Спасибо!

Ваше сообщение успешно отправлено!

ЗакрытьПовторить попытку