Каталог запасных частей к технике: ЧТЗ Т-10.02. Гидравлическая система питания, управления и смазки ГМТ

zoom-in zoom-out enlarge shrink circle-right circle-left file-text2 info cart arraw right arraw left zoom out zoom in arraw maximize arraw minimize
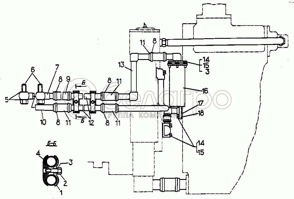
1
2
3
3
4
5
6
7
8
8
8
8
8
9
10
11
11
11
11
12
13
14
14
15
15
16
17
18
1
50-60-230
Прижим
В узле: 2
2
[Болт М10х30.58.019]
Болт М10х30.58.019
В узле: 2
3
31308
Шайба
В узле: 4
4
700-3137
Прокладка
В узле: 2
5
261164
Кольцо
В узле: 4
6
700-41-2575
Штуцер
В узле: 2
7
64-60-104СП
Труба
В узле: 1
8
700-41-2224СП
Хомут
В узле: 16
9
700-46-2157
Рукав
В узле: 1
10
64-60-102СП
Труба
В узле: 1
11
700-40-5967
Рукав
В узле: 7
12
64-60-1
Труба
В узле: 2
13
64-60-114СП
Труба
В узле: 1
14
[Болт М10х25.019]
Болт М10х25.019
В узле: 7
15
[Шайба 10 ОТ 65Г 09]
Шайба 10 ОТ 65Г 09
В узле: 15
16
64-60-106СП
Фильтр
В узле: 1
17
700-40-7594
Прокладка
В узле: 2
18
64-60-109СП
Труба
В узле: 1
Содержащиеся в справочниках-каталогах запасные части и детали не предлагаются к продаже, а носят исключительно информационный характер

Ваша заявка была отправлена. В ближайшее время наши специалисты с Вами свяжутся по указанному Вами телефону.

Представьтесь
Поле обязательно для заполнения
Ваш телефон
Введите правильный номер телефона
E-mail
Введите правильный e-mail
Тема
Тема
применяемость финансирование доставка цена, наличие другое сервис и гарантия
Время для звонка
08:00
08:00 09:00 10:00 11:00 12:00 13:00 14:00 15:00 16:00 17:00 18:00 19:00
19:00
08:00 09:00 10:00 11:00 12:00 13:00 14:00 15:00 16:00 17:00 18:00 19:00

Мы постараемся перезвонить в указанное время

Если вы не хотите ждать, то звоните нашим вежливым консультантам:

8 800 100-2-700
Подтвердите, что вы не робот
Подтвердите, что вы не робот
Спасибо!

Ваше сообщение успешно отправлено!

ЗакрытьПовторить попытку