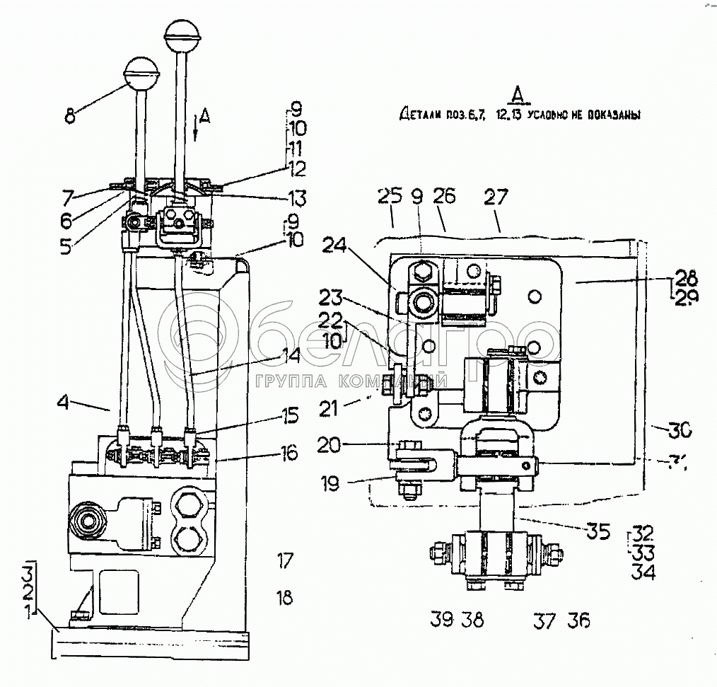
Каталог запасных частей к технике: ЧТЗ Т-10.02. Управление гидрораспределителем

zoom-in zoom-out enlarge shrink circle-right circle-left file-text2 info cart arraw right arraw left zoom out zoom in arraw maximize arraw minimize
1
2
3
4
5
6
7
8
9
9
9
10
10
10
11
12
13
14
15
16
17
18
19
20
21
22
23
24
25
26
27
28
29
30
31
32
33
34
35
36
37
38
39
64-82-62СП
Управление гидрораспределителем
В узле: 1
1
28558
Болт
В узле: 4
2
[Шайба 12 ОТ65Г 09]
Шайба 12 ОТ65Г 09
В узле: 4
3
3011
Гайка
В узле: 4
4
64-82-150
Тяга
В узле: 1
5
700-38-2525
Пружина
В узле: 2
6
700-40-7781
Уплотнитель
В узле: 1
7
64-82-146
Лист
В узле: 1
8
13310СП
Рукоятка
В узле: 2
9
[Болт М10х25.58.019]
Болт М10х25.58.019
В узле: 11
10
[Шайба 10 ОТ 65Г 09]
Шайба 10 ОТ 65Г 09
В узле: 14
11
[Шайба 10.02.3КП]
Шайба 10.02.3КП
В узле: 3
12
700-40-7779
Крышка
В узле: 1
13
700-40-7780
Уплотнитель
В узле: 1
14
64-82-49
Тяга
В узле: 2
15
62-26-621СП
Шарнир
В узле: 5
16
64-82-108
Рычаг
В узле: 3
17
[Гидрораспределитель Р160-3/1-111]
Гидрораспределитель Р160-3/1-111
В узле: 1
18
64-82-256СП
Опора
В узле: 1
19
64-82-89
Палец
В узле: 1
20
700-28-2483-01
Болт
В узле: 1
21
700-28-2483
Болт
В узле: 4
22
[Гайка М10.6.019]
Гайка М10.6.019
В узле: 13
23
64-82-257СП
Рычаг
В узле: 1
24
64-82-37
Валик
В узле: 1
25
64-82-113
Кронштейн
В узле: 1
26
[Подшипник 604703Е]
Подшипник 604703Е
В узле: 8
27
64-82-43
Ригель
В узле: 3
28
[Болт М8х16.58.019]
Болт М8х16.58.019
В узле: 6
29
[Шайба 8Т 65Г 09]
Шайба 8Т 65Г 09
В узле: 6
30
64-82-41
Проставка
В узле: 1
31
64-82-40
Вилка
В узле: 1
32
[Болт М6х45.58.019]
Болт М6х45.58.019
В узле: 1
33
[Гайка М6.6.019]
Гайка М6.6.019
В узле: 1
34
[Шайба 6Т 65Г 09]
Шайба 6Т 65Г 09
В узле: 1
35
64-82-258СП
Рычаг
В узле: 1
36
[Подшипник 941/17 ШС-10]
Подшипник 941/17 ШС-10
В узле: 2
37
64-82-57
Цапфа
В узле: 1
38
64-82-158
Вилка
В узле: 1
39
31437
Шайба
В узле: 4
Содержащиеся в справочниках-каталогах запасные части и детали не предлагаются к продаже, а носят исключительно информационный характер

Ваша заявка была отправлена. В ближайшее время наши специалисты с Вами свяжутся по указанному Вами телефону.

Представьтесь
Поле обязательно для заполнения
Ваш телефон
Введите правильный номер телефона
E-mail
Введите правильный e-mail
Тема
Тема
применяемость финансирование доставка цена, наличие другое сервис и гарантия
Время для звонка
08:00
08:00 09:00 10:00 11:00 12:00 13:00 14:00 15:00 16:00 17:00 18:00 19:00
19:00
08:00 09:00 10:00 11:00 12:00 13:00 14:00 15:00 16:00 17:00 18:00 19:00

Мы постараемся перезвонить в указанное время

Если вы не хотите ждать, то звоните нашим вежливым консультантам:

8 800 100-2-700
Подтвердите, что вы не робот
Подтвердите, что вы не робот
Спасибо!

Ваше сообщение успешно отправлено!

ЗакрытьПовторить попытку