Каталог запасных частей к технике: ЧТЗ Т-10М. Фильтр гидросистемы

zoom-in zoom-out enlarge shrink circle-right circle-left file-text2 info cart arraw right arraw left zoom out zoom in arraw maximize arraw minimize
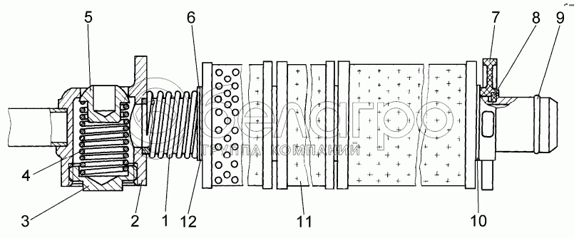
1
2
3
4
5
6
7
8
9
10
11
12
64-26-250СП
Фильтр
В узле: 1
1
700-38-2112
Пружина
В узле: 1
2
64-26-251СП
Труба
В узле: 1
3
700-37-2045
Пробка
В узле: 1
4
700-38-2225
Пружина
В узле: 1
5
261755
Клапан
В узле: 1
6
700-31-2042
Шайба
В узле: 1
7
18-26-314-1
Втулка
В узле: 1
8
700-42-2320
Кольцо упорное
В узле: 2
9
46766
Кольцо уплотнительное
В узле: 1
10
700-40-6517
Прокладка
В узле: 3
11
ЭФМ-011
Элемент фильтрующий
В узле: 3
12
401063
Кольцо
В узле: 1
Содержащиеся в справочниках-каталогах запасные части и детали не предлагаются к продаже, а носят исключительно информационный характер

Ваша заявка была отправлена. В ближайшее время наши специалисты с Вами свяжутся по указанному Вами телефону.

Представьтесь
Поле обязательно для заполнения
Ваш телефон
Введите правильный номер телефона
E-mail
Введите правильный e-mail
Тема
Тема
применяемость финансирование доставка цена, наличие другое сервис и гарантия
Время для звонка
08:00
08:00 09:00 10:00 11:00 12:00 13:00 14:00 15:00 16:00 17:00 18:00 19:00
19:00
08:00 09:00 10:00 11:00 12:00 13:00 14:00 15:00 16:00 17:00 18:00 19:00

Мы постараемся перезвонить в указанное время

Если вы не хотите ждать, то звоните нашим вежливым консультантам:

8 800 100-2-700
Подтвердите, что вы не робот
Подтвердите, что вы не робот
Спасибо!

Ваше сообщение успешно отправлено!

ЗакрытьПовторить попытку