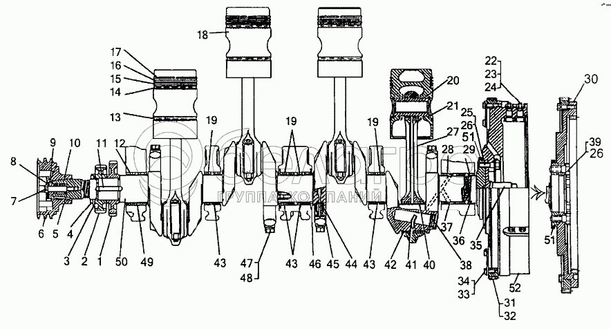
Каталог запасных частей к технике: ЧТЗ Т-10М. Кривошипно-шатунный механизм дизеля

zoom-in zoom-out enlarge shrink circle-right circle-left file-text2 info cart arraw right arraw left zoom out zoom in arraw maximize arraw minimize
1
2
3
4
5
6
7
8
9
10
10
10
10
11
12
13
14
15
17
18
19
19
19
20
21
22
23
24
25
26
26
27
28
29
30
30
30
31
32
33
34
35
36
37
38
38
39
40
41
42
43
43
43
44
45
45
45
45
45
46
47
48
49
50
50
50
50
51
51
52
52
52
1
16-03-37
Шестерня
В узле: 1
2
16-03-20
Шестерня
В узле: 1
3
16-03-49
Шайба
В узле: 1
4
03323
Гайка
В узле: 1
5
34107
Шпонка
В узле: 1
6
14-03-12
Шкив коленчатого вала
В узле: 1
7
03331
Болт
В узле: 1
8
51-03-15
Стопор
В узле: 1
9
31337
Пластина замковая
В узле: 1
10
16-03-112СП
Вал коленчатый
В узле: 2
10
16-03-112ОКСП
Вал коленчатый
В узле: 2
10
16-03-112ОШСП
Вал коленчатый
В узле: 2
10
16-03-112ОКШСП
Вал коленчатый
В узле: 2
11
34106
Шпонка
В узле: 1
12
А23.01-103.059-04
Вкладыш коренного подшипника верхний
В узле: 1
13
СТА27.17.83.072
Кольцо маслосъемное
В узле: 4
14
СТА27.17.83.000
Кольцо маслосъемное
В узле: 4
15
СТА27.07.01.064
Кольцо компрессионное
В узле: 4
17
СТА27.07.02.162
Кольцо компрессионное
В узле: 4
18
51-03-40-01
Поршень
В узле: 4
19
А23.01-103.061-04
Вкладыш коренного подшипника верхний
В узле: 4
20
16-03-50-01
Палец поршневой
В узле: 4
21
03306
Замок
В узле: 8
22
16-03-13
Сухарик
В узле: 6
23
3011
Гайка
В узле: 6
24
16-03-12
Пластина замковая
В узле: 3
25
28504
Болт
В узле: 6
26
31335
Пластина замковая
В узле: 3
27
51-03-112СП
Шатун
В узле: 4
28
А23.01-103.063-04
Вкладыш коренного подшипника верхний
В узле: 1
29
А23.01-103.065-04
Вкладыш коренного подшипника верхний
В узле: 1
30
65-03-103СП
Маховик
В узле: 1
30
65-03-103СП
Маховик
В узле: 1
30
65-03-104СП
Маховик для дизеля с ЭССП
В узле: 1
31
59-03-21
Венец
В узле: 1
32
03618-1
Венец
В узле: 1
33
700-28-2465
Болт
В узле: 10
34
Шайба10.ОТ.65Г.09
Шайба 10.ОТ.65Г.09
В узле: 10
35
16-03-17
Цапфа
В узле: 1
36
А23.01-103.066-04
Вкладыш коренного подшипника нижний
В узле: 1
37
А23.01-103.064-04
Вкладыш коренного подшипника нижний
В узле: 1
38
03652
Заглушка
В узле: 4
38
03652-1
Заглушка
В узле: 4
39
03327
Болт
В узле: 6
40
А23.01-100.025
Вкладыш шатунного подшипника верхний
В узле: 4
41
03396
Труба
В узле: 4
42
А23.01-100.026
Вкладыш шатунного подшипника нижний
В узле: 4
43
А23.01-103.062-04
Вкладыш коренного подшипника верхний
В узле: 4
44
14-03-17
Втулка
В узле: 8
45
14-03-18
Противовес
В узле: 4
45
65-03-10
Противовес
В узле: 4
45
65-03-9
Противовес
В узле: 4
45
51-03-16
Противовес
В узле: 4
45
14-03-20
Противовес
В узле: 4
46
А23.01-13701А-03
Полукольцо упорное
В узле: 4
47
700-31-2125
Пластина замковая
В узле: 4
48
700-28-2130
Болт
В узле: 8
49
А23.01-103.060-04
Вкладыш коренного подшипника нижний
В узле: 1
50
16-03-36
Вал коленчатый
В узле: 1
50
16-03-36ОК
Вал коленчатый
В узле: 1
50
16-03-36ОШ
Вал коленчатый
В узле: 1
50
16-03-36ОКШ
Вал коленчатый
В узле: 1
51
65-03-4
Втулка
В узле: 1
52
59-03-117СП
Маховик
В узле: 1
52
16-03-111СП
Маховик
В узле: 1
52
16-03-30
Маховик
В узле: 1
Содержащиеся в справочниках-каталогах запасные части и детали не предлагаются к продаже, а носят исключительно информационный характер

Ваша заявка была отправлена. В ближайшее время наши специалисты с Вами свяжутся по указанному Вами телефону.

Представьтесь
Поле обязательно для заполнения
Ваш телефон
Введите правильный номер телефона
E-mail
Введите правильный e-mail
Тема
Тема
применяемость финансирование доставка цена, наличие другое сервис и гарантия
Время для звонка
08:00
08:00 09:00 10:00 11:00 12:00 13:00 14:00 15:00 16:00 17:00 18:00 19:00
19:00
08:00 09:00 10:00 11:00 12:00 13:00 14:00 15:00 16:00 17:00 18:00 19:00

Мы постараемся перезвонить в указанное время

Если вы не хотите ждать, то звоните нашим вежливым консультантам:

8 800 100-2-700
Подтвердите, что вы не робот
Подтвердите, что вы не робот
Спасибо!

Ваше сообщение успешно отправлено!

ЗакрытьПовторить попытку