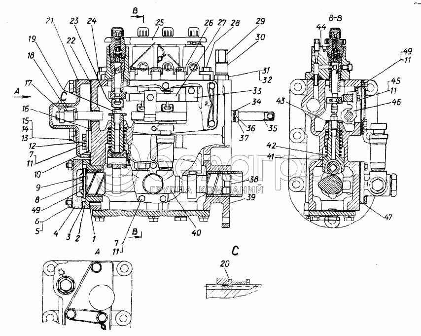
Каталог запасных частей к технике: ЧТЗ Т-10М. Топливный насос

zoom-in zoom-out enlarge shrink circle-right circle-left file-text2 info cart arraw right arraw left zoom out zoom in arraw maximize arraw minimize
1
2
3
4
5
6
7
7
8
9
10
11
11
11
11
12
13
14
15
16
17
18
19
20
21
22
23
24
25
26
27
28
29
30
30
31
32
33
34
35
36
37
38
39
40
41
42
43
43
44
45
46
47
49
49
51-67-24-03СП
Топливный насос
В узле: 1
1
40743
Прокладка
В узле: 1
2
67206СП
Подшипник
В узле: 1
3
40742-1
Прокладка
В узле: 1
4
67243
Крышка
В узле: 1
5
Шайба8Т.65Г.09
Шайба 8Т.65Г.09
В узле: 4
6
ГайкаМ8х1.6.019
Гайка М8х1.6.019
В узле: 4
7
БолтМ6х20.88.019
БолтМ6х20.88.019
В узле: 5
8
3185
Пластина
В узле: 1
9
67233
Шайба
В узле: 1
10
51-67-95
Пластина корректора
В узле: 1
11
Шайба6Т65Г09
Шайба
В узле: 8
12
51-67-82
Накладка
В узле: 1
13
Шайба10.ОТ.65Г.09
Шайба 10.ОТ.65Г.09
В узле: 3
14
31437
Шайба
В узле: 3
15
28474
Болт
В узле: 3
16
67239
Пружина корректора
В узле: 1
17
30202
Гайка
В узле: 1
18
67255
Муфта
В узле: 1
19
3083
Гайка
В узле: 4
20
67127
Угольник
В узле: 1
21
14-67-2-2
Крышка
В узле: 1
22
40741-2
Прокладка
В узле: 1
23
67230
Хвостовик
В узле: 4
24
67224-1
Угольник
В узле: 10
25
51-67-44
Штуцер
В узле: 1
26
28475
Болт
В узле: 2
27
67234
Рейка
В узле: 1
28
БолтМ10x25.58.019
Болт М10x25.58.019
В узле: 8
29
700-30-2296
Гайка накидная
В узле: 1
30
51-70-48
Втулка
В узле: 1
30
41832
Втулка
В узле: ---
31
51-06-8
Кольцо
В узле: 3
32
51-69-136СП
Штуцер
В узле: 1
33
67237
Пластина
В узле: 2
34
700-58-2512
Кольцо
В узле: 1
35
51-67-147СП
Тяга рейки
В узле: 1
36
700-32-2194
Штифт
В узле: 1
37
67315
Кольцо
В узле: 1
38
51-67-23
Вал кулачковый
В узле: 1
39
51-67-117-01СП
Блок топливного насоса
В узле: 1
40
51-71-4СП
Насос топливоподкачивающий
В узле: 1
41
67225СП
Толкатель
В узле: 4
42
38305
Пружина толкателя
В узле: 4
43
3197
Шайба
В узле: 4
43
3197-02
Шайба 10х3.02.3кп.05
В узле: 4
44
51-67-154СП
Секция топливного насоса
В узле: 4
45
67236
Болт
В узле: 1
46
67235
Поводок
В узле: 1
47
700-40-3323
Прокладка
В узле: 1
48
Пломба10/6.5
Пломба 10/6.5
В узле: 2
49
БолтМ6x16.88.019
Болт М6x16.88.019
В узле: 4
50
65-67-38
Прокладка
В узле: 4
Содержащиеся в справочниках-каталогах запасные части и детали не предлагаются к продаже, а носят исключительно информационный характер

Ваша заявка была отправлена. В ближайшее время наши специалисты с Вами свяжутся по указанному Вами телефону.

Представьтесь
Поле обязательно для заполнения
Ваш телефон
Введите правильный номер телефона
E-mail
Введите правильный e-mail
Тема
Тема
применяемость финансирование доставка цена, наличие другое сервис и гарантия
Время для звонка
08:00
08:00 09:00 10:00 11:00 12:00 13:00 14:00 15:00 16:00 17:00 18:00 19:00
19:00
08:00 09:00 10:00 11:00 12:00 13:00 14:00 15:00 16:00 17:00 18:00 19:00

Мы постараемся перезвонить в указанное время

Если вы не хотите ждать, то звоните нашим вежливым консультантам:

8 800 100-2-700
Подтвердите, что вы не робот
Подтвердите, что вы не робот
Спасибо!

Ваше сообщение успешно отправлено!

ЗакрытьПовторить попытку