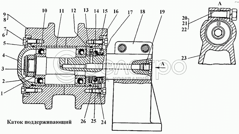
Каталог запасных частей к технике: ЧТЗ Т-170. Каток поддерживающий

zoom-in zoom-out enlarge shrink circle-right circle-left file-text2 info cart arraw right arraw left zoom out zoom in arraw maximize arraw minimize
1
2
3
4
5
6
7
8
9
10
11
12
13
14
15
16
17
18
19
20
21
22
23
24
25
26
50-21-394СП
Каток поддерживающий
В узле: 2
1
50-21-318
Кольцо
В узле: 1
2
700-30-2195
Гайка
В узле: 1
3
35-21-37
Шплинт
В узле: 1
4
50-21-313
Крышка
В узле: 1
5
700-40-4451
Кольцо
В узле: 2
6
Шайба 12 ОТ 65Г 09
Шайба 12 ОТ 65Г 09
В узле: 10
7
2816
Болт
В узле: 12
8
50-21-395 СП
Ролик
В узле: 1
9
50-21-395-01
Ролик
В узле: 1
10
Подшипник 310А
Подшипник 310А
В узле: 2
11
50-21-315
Втулка
В узле: 1
12
700-40-5377
Прокладка
В узле: 1
13
24-21-155
Кольцо
В узле: 1
14
24-21-156
Кольцо
В узле: 1
15
50-21-345СП
Упор
В узле: 1
16
700-58-2158-01
Кольцо
В узле: 1
17
50-21-316
Лабиринт
В узле: 1
18
50-21-375
Ось
В узле: 1
19
700-37-2240
Пробка
В узле: 1
20
20 ОТ 65Г 09
20 ОТ 65Г 09
В узле: 2
21
28234 или 28234-01
Болт
В узле: 2
22
28234-01 или 28234
Болт
В узле: 2
23
50-21-314
Кронштейн
В узле: 1
24
700-38-2752
Пружина
В узле: 1
25
211220
Обойма
В узле: 1
26
700-40-5378
Манжета
В узле: 1
Содержащиеся в справочниках-каталогах запасные части и детали не предлагаются к продаже, а носят исключительно информационный характер

Ваша заявка была отправлена. В ближайшее время наши специалисты с Вами свяжутся по указанному Вами телефону.

Представьтесь
Поле обязательно для заполнения
Ваш телефон
Введите правильный номер телефона
E-mail
Введите правильный e-mail
Тема
Тема
применяемость финансирование доставка цена, наличие другое сервис и гарантия
Время для звонка
08:00
08:00 09:00 10:00 11:00 12:00 13:00 14:00 15:00 16:00 17:00 18:00 19:00
19:00
08:00 09:00 10:00 11:00 12:00 13:00 14:00 15:00 16:00 17:00 18:00 19:00

Мы постараемся перезвонить в указанное время

Если вы не хотите ждать, то звоните нашим вежливым консультантам:

8 800 100-2-700
Подтвердите, что вы не робот
Подтвердите, что вы не робот
Спасибо!

Ваше сообщение успешно отправлено!

ЗакрытьПовторить попытку