Каталог запасных частей к технике: ЧТЗ Т-170М-01. Блок управления дизелем с пусковым двигателем

zoom-in zoom-out enlarge shrink circle-right circle-left file-text2 info cart arraw right arraw left zoom out zoom in arraw maximize arraw minimize
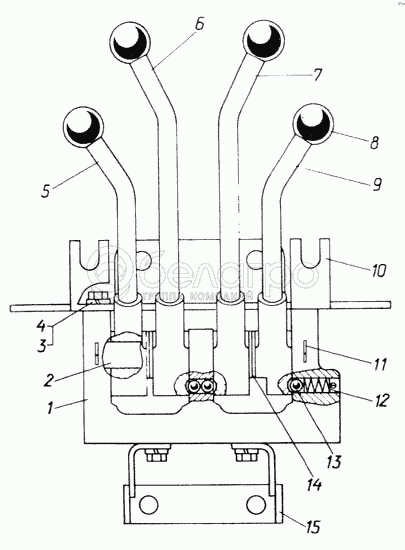
1
2
3
4
5
6
7
8
8
9
10
11
12
13
14
15
51-74-128СП
Блок управления
В узле: 1
1
51-74-85
Кронштейн
В узле: 1
2
700-47-2104
Ось
В узле: 1
3
Шайба 10 ОТ 65Г 09
Шайба 10 ОТ 65Г 09
В узле: 4
4
Болт М10х20.58.019
Болт М10х20.58.019
В узле: 4
5
51-74-163СП
Рычаг
В узле: 1
6
51-74-164СП
Рычаг
В узле: 1
7
51-74-162СП
Рычаг
В узле: 1
8
Ручка 409474.001-03
Ручка 409474.001-03
В узле: 4
8
Ручка 409474.001-03Т
Ручка 409474.001-03Т
В узле: 4
9
51-74-161СП
Рычаг
В узле: 1
10
51-74-129СП
Кронштейн
В узле: 1
11
Шплинт 4х50
Шплинт 4х50
В узле: 3
12
38506
Пружина
В узле: 1
13
Шарик Б 10-200 ГОСТ 3722-81
Шарик Б 10-200 ГОСТ 3722-81
В узле: 3
14
18-74-122
Прокладка
В узле: 12
15
51-74-187СП
Кронштейн
В узле: 1
Содержащиеся в справочниках-каталогах запасные части и детали не предлагаются к продаже, а носят исключительно информационный характер

Ваша заявка была отправлена. В ближайшее время наши специалисты с Вами свяжутся по указанному Вами телефону.

Представьтесь
Поле обязательно для заполнения
Ваш телефон
Введите правильный номер телефона
E-mail
Введите правильный e-mail
Тема
Тема
применяемость финансирование доставка цена, наличие другое сервис и гарантия
Время для звонка
08:00
08:00 09:00 10:00 11:00 12:00 13:00 14:00 15:00 16:00 17:00 18:00 19:00
19:00
08:00 09:00 10:00 11:00 12:00 13:00 14:00 15:00 16:00 17:00 18:00 19:00

Мы постараемся перезвонить в указанное время

Если вы не хотите ждать, то звоните нашим вежливым консультантам:

8 800 100-2-700
Подтвердите, что вы не робот
Подтвердите, что вы не робот
Спасибо!

Ваше сообщение успешно отправлено!

ЗакрытьПовторить попытку