Каталог запасных частей к технике: ЧТЗ Т-170М-01. Муфта сцепления

zoom-in zoom-out enlarge shrink circle-right circle-left file-text2 info cart arraw right arraw left zoom out zoom in arraw maximize arraw minimize
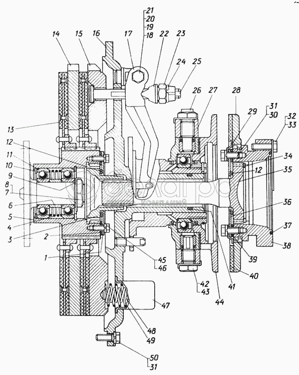
1
2
2
3
4
4
5
6
7
8
9
10
11
12
12
13
14
15
16
17
18
19
20
21
22
23
24
25
26
27
27
28
29
30
31
31
32
33
34
35
36
37
38
39
39
40
42
43
44
45
46
47
48
49
50
20-14-2-СП
Муфта сцепления болотоходных тракторов
В узле: 1
18-14-4-СП
Муфта сцепления
В узле: 1
Подшипник 180308УС9
Подшипник 180308УС9
В узле: ---
1
18-14-114
Крышка
В узле: 1
2
700-40-2532
Прокладка
В узле: 1
2
700-40-2532-1
Прокладка
В узле: 1
3
18-14-78
Муфта
В узле: 1
4
700-40-2122
Кольцо
В узле: 1
4
38462
Пружина
В узле: 1
5
18-14-104
Барабан зубчатый
В узле: 1
6
18-14-62
Втулка
В узле: 1
7
3170
Шайба
В узле: 1
8
700-30-2032
Гайка
В узле: 1
9
50-14-2
Пластина
В узле: 1
10
18-14-66
Кольцо
В узле: 2
11
Подшипник 180308У1С9Ш
Подшипник 180308У1С9Ш
В узле: 2
12
46812
Кольцо
В узле: 2
13
18-14-135-СП
Диск ведомый
В узле: 2
14
18-14-44
Диск ведущий
В узле: 1
15
50-14-64
Диск нажимной
В узле: 1
16
18-14-142-СП
Фланец
В узле: 1
17
18-14-92
Рычаг
В узле: 3
18
18-14-49
Палец
В узле: 3
19
18-14-69
Ролик
В узле: 3
20
Гайка М12х1,25-6Н.6А.019
Гайка М12х1,25-6Н.6А.019
В узле: 3
21
Шплинт 3,2х25.019
Шплинт 3,2х25.019
В узле: 3
22
18-14-47
Призма
В узле: 3
23
18-14-130
Гайка
В узле: 3
24
Проволока К03 ГОСТ 792-67
Проволока К03 ГОСТ 792-67
В узле: ---
25
18-14-131
Болт
В узле: 3
26
18-14-128
Палец
В узле: 1
27
24-14-104-СП
Рычаг
В узле: 1
27
24-14-104-СП
Рычаг
В узле: 1
28
18-14-140-1СП
Тормозок
В узле: 1
29
18-14-122
Пластина
В узле: 4
30
Болт М12х25.88.45.019
Болт М12х25.88.45.019
В узле: 4
31
Шайба 12 ОТ 65Г 09
Шайба 12 ОТ 65Г 09
В узле: 16
32
12304
Болт
В узле: 8
33
31545
Пластина замковая
В узле: 4
34
700-58-2520
Кольцо
В узле: 1
35
50-14-23
Вал
В узле: 1
36
18-14-125
Крышка
В узле: 1
37
21363
Кольцо
В узле: 1
38
50-14-26
Муфта
В узле: 1
39
700-40-5259
Прокладка
В узле: 1
39
700-40-5259-1
Прокладка
В узле: 1
40
18-14-135
Накладка фрикционная
В узле: 1
42
18-14-127
Палец
В узле: 1
43
31364
Пластина
В узле: 2
44
18-14-133-СП
Муфта включения
В узле: 1
45
Болт М10х25.46.019
Болт М10х25.46.019
В узле: 4
46
Шайба 10 ОТ 65Г 09
Шайба 10 ОТ 65Г 09
В узле: 4
47
50-14-63
Стакан
В узле: 12
48
38461
Пружина
В узле: 12
49
38460
Пружина
В узле: 12
50
Болт М12-6gх35.46.019
Болт М12-6gх35.46.019
В узле: 12
Содержащиеся в справочниках-каталогах запасные части и детали не предлагаются к продаже, а носят исключительно информационный характер

Ваша заявка была отправлена. В ближайшее время наши специалисты с Вами свяжутся по указанному Вами телефону.

Представьтесь
Поле обязательно для заполнения
Ваш телефон
Введите правильный номер телефона
E-mail
Введите правильный e-mail
Тема
Тема
применяемость финансирование доставка цена, наличие другое сервис и гарантия
Время для звонка
08:00
08:00 09:00 10:00 11:00 12:00 13:00 14:00 15:00 16:00 17:00 18:00 19:00
19:00
08:00 09:00 10:00 11:00 12:00 13:00 14:00 15:00 16:00 17:00 18:00 19:00

Мы постараемся перезвонить в указанное время

Если вы не хотите ждать, то звоните нашим вежливым консультантам:

8 800 100-2-700
Подтвердите, что вы не робот
Подтвердите, что вы не робот
Спасибо!

Ваше сообщение успешно отправлено!

ЗакрытьПовторить попытку