Каталог запасных частей к технике: ЧТЗ Т-170М-01. Система смазки трансмиссии

zoom-in zoom-out enlarge shrink circle-right circle-left file-text2 info cart arraw right arraw left zoom out zoom in arraw maximize arraw minimize
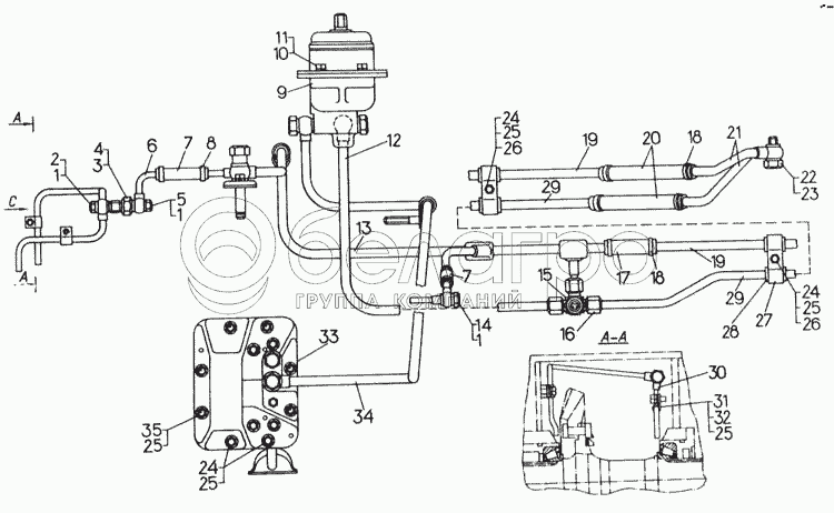
1
1
1
2
3
4
5
6
7
7
8
9
10
11
12
13
14
15
16
17
18
18
19
19
20
21
22
23
24
24
24
25
25
25
25
25
26
26
27
28
29
29
30
31
32
33
34
34
35
24-60-1СП
Система смазки трансмиссии
В узле: 1
20-60-3СП
Система смазки трансмиссии болотоходных тракторов
В узле: 1
50-60-205-СП
Труба
В узле: 1
20-60-119-СП
Труба
В узле: 1
1
700-41-3249
Штуцер
В узле: 1
2
40911
Кольцо
В узле: 6
3
700-41-2976
Ниппель
В узле: 1
4
Кольцо 24 х 30
Кольцо 24 х 30
В узле: 1
5
700-41-2974
Штуцер
В узле: 1
6
24-60-144-СП
Труба
В узле: 1
7
700-40-3481
Рукав
В узле: 2
8
700-41-2235-37СП
Хомут
В узле: 4
9
24-60-111-СП
Фильтр
В узле: 1
10
2816
Болт
В узле: 2
11
Шайба 12 ОТ 65Г 09
Шайба 12 ОТ 65Г 09
В узле: 2
12
24-60-147-СП
Труба
В узле: 1
13
50-60-202-СП
Труба
В узле: 1
14
700-41-3248
Зажим
В узле: 1
15
24-60-107-СП
Кран
В узле: 1
16
Н.036.01.005А
Гайка накидная
В узле: 1
17
700-46-2185
Рукав
В узле: 1
18
700-41-2228-СП
Хомут
В узле: 6
19
50-60-229
Труба
В узле: 1
20
700-46-2185-01
Рукав
В узле: 2
21
21-09-115-СП
Труба
В узле: 2
22
700-41-3306
Болт полый
В узле: 5
23
40910
Кольцо
В узле: 12
24
Болт М10х25.58.019
Болт М10х25.58.019
В узле: 7
25
Шайба 10 ОТ 65Г 09
Шайба 10 ОТ 65Г 09
В узле: 15
26
31308
Шайба
В узле: 2
27
50-60-230
Прижим
В узле: 2
28
42212
Муфта
В узле: 5
29
50-60-227-СП
Труба
В узле: 1
30
24-60-151-СП
Труба
В узле: 1
31
8414
Скоба
В узле: 2
32
Болт М10х18.58.019
Болт М10х18.58.019
В узле: 2
33
50-60-200СП
Насос
В узле: 1
34
20-60-121-СП
Труба
В узле: 1
34
50-60-203-СП
Труба
В узле: 1
35
Болт М10х30.58.019
Болт М10х30.58.019
В узле: 6
Содержащиеся в справочниках-каталогах запасные части и детали не предлагаются к продаже, а носят исключительно информационный характер

Ваша заявка была отправлена. В ближайшее время наши специалисты с Вами свяжутся по указанному Вами телефону.

Представьтесь
Поле обязательно для заполнения
Ваш телефон
Введите правильный номер телефона
E-mail
Введите правильный e-mail
Тема
Тема
применяемость финансирование доставка цена, наличие другое сервис и гарантия
Время для звонка
08:00
08:00 09:00 10:00 11:00 12:00 13:00 14:00 15:00 16:00 17:00 18:00 19:00
19:00
08:00 09:00 10:00 11:00 12:00 13:00 14:00 15:00 16:00 17:00 18:00 19:00

Мы постараемся перезвонить в указанное время

Если вы не хотите ждать, то звоните нашим вежливым консультантам:

8 800 100-2-700
Подтвердите, что вы не робот
Подтвердите, что вы не робот
Спасибо!

Ваше сообщение успешно отправлено!

ЗакрытьПовторить попытку