Каталог запасных частей к технике: ЧТЗ Т-170М-01. Установка коллекторов

zoom-in zoom-out enlarge shrink circle-right circle-left file-text2 info cart arraw right arraw left zoom out zoom in arraw maximize arraw minimize
1
2
3
3
3
3
4
4
4
5
6
7
8
9
10
11
12
13
14
15
16
17
18
19
20
21
22
23
24
25
26
27
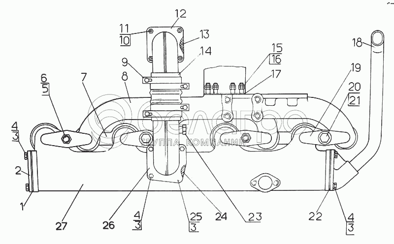
51-05-25СП
Установка коллекторов
В узле: 1
1
700-40-7403
Прокладка
В узле: 1
2
51-05-325
Крышка
В узле: 1
3
Шайба 10 ОТ 65Г 09
Шайба 10 ОТ 65Г 09
В узле: 12
4
Болт М10х25.58.019
Болт М10х25.58.019
В узле: 10
5
3013
Гайка
В узле: 2
6
700-29-2210
Шпилька
В узле: 2
7
700-40-3880СП
Прокладка
В узле: 2
8
51-05-345
Коллектор выпускной
В узле: 1
9
15-05-115СП
Хомут
В узле: 4
10
Шайба 8Т 65Г 09
Шайба 8Т 65Г 09
В узле: 4
11
Гайка М8х1-6.019
Гайка М8х1-6.019
В узле: 4
12
51-05-135СП
Патрубок
В узле: 1
13
700-40-27-58
Прокладка
В узле: 1
14
700-40-3484
Рукав
В узле: 1
15
Гайка М10.6.089
Гайка М10.6.089
В узле: 16
16
Шпилька 2М10(3Р/6q)х35.66.083
Шпилька 2М10(3Р/6q)х35.66.083
В узле: 8
17
700-40-2754СП
Прокладка
В узле: 1
18
51-05-300СП
Труба выпускная
В узле: 1
19
05688-1
Планка
В узле: 4
20
700-28-2486
Болт
В узле: 2
21
3178
Шайба
В узле: 2
22
700-40-7420
Прокладка
В узле: 1
23
375
Пробка
В узле: 1
24
700-40-2233
Прокладка
В узле: 1
25
Болт М10х20.58.019
Болт М10х20.58.019
В узле: 2
26
51-05-200СП
Патрубок
В узле: 1
27
51-05-299СП
Коллектор впускной
В узле: 1
Содержащиеся в справочниках-каталогах запасные части и детали не предлагаются к продаже, а носят исключительно информационный характер

Ваша заявка была отправлена. В ближайшее время наши специалисты с Вами свяжутся по указанному Вами телефону.

Представьтесь
Поле обязательно для заполнения
Ваш телефон
Введите правильный номер телефона
E-mail
Введите правильный e-mail
Тема
Тема
применяемость финансирование доставка цена, наличие другое сервис и гарантия
Время для звонка
08:00
08:00 09:00 10:00 11:00 12:00 13:00 14:00 15:00 16:00 17:00 18:00 19:00
19:00
08:00 09:00 10:00 11:00 12:00 13:00 14:00 15:00 16:00 17:00 18:00 19:00

Мы постараемся перезвонить в указанное время

Если вы не хотите ждать, то звоните нашим вежливым консультантам:

8 800 100-2-700
Подтвердите, что вы не робот
Подтвердите, что вы не робот
Спасибо!

Ваше сообщение успешно отправлено!

ЗакрытьПовторить попытку