Каталог запасных частей к технике: МАЗ-537. Принципиальная схема вентиляции агрегатов

zoom-in zoom-out enlarge shrink circle-right circle-left file-text2 info cart arraw right arraw left zoom out zoom in arraw maximize arraw minimize
1
1
2
3
4
5
6
7
7
7
7
7
7
7
8
8
8
8
8
8
8
9
10
11
12
13
14
15
16
17
18
19
20
21
22
23
24
25
26
27
28
29
30
200220-П2
Болт
В узле: 6
201415-П2
Болт
В узле: 2
201416-П2
Болт
В узле: 3
201420-П2
Болт
В узле: 1
201422-П2
Болт
В узле: 4
201426-П2
Болт
В узле: 4
201491-П2
Болт
В узле: 1
202195-П2
Болт
В узле: 2
372768-П2
Болт
В узле: 20
537-2304113
Болт
В узле: 4
535А-2001016
Болт крепления повышающей передачи
В узле: 10
525-3724042
Втулка резиновая
В узле: 2
537-3506596
Втулка
В узле: 8
250508-П2
Гайка
В узле: 17
374819-П2
Гайка прорезная
В узле: 24
375063-П8
Гайка
В узле: 1
314708-П8
Гайка соединительная
В узле: 30
314710-П8
Гайка соединительная
В узле: 4
379230-П8
Гайка соединительная
В узле: 8
537-8005419
Дно крышки фильтра
В узле: 6
535А-2312011
Картер в сборе
В узле: 1
315406-П1
Кляммер
В узле: 3
379168-П1
Кляммер
В узле: 5
379204-П
Кляммер
В узле: 1
535А-3506175
Кляммер
В узле: 1
535А-2304084
Кольцо упорное цапфы
В узле: 2
537-8005412
Корпус воздушного фильтра
В узле: 3
535А-1512016-Б
Корпус механизма с валом привода в сборе
В узле: 1
535Б-1512016
Корпус механизма с валом привода в сборе
В узле: 1
535А-1512018-Б
Корпус механизма с втулкой и сальником в сборе
В узле: 1
537-8005302
Кронштейн фильтра в сборе
В узле: 1
537-8005414
Крышка фильтра в сборе
В узле: 6
279588-П8
Лента стяжная
В узле: 3
535А-8005272
Лента стяжная
В узле: 14
535А-1511026
Манжета уплотнительная
В узле: 2
535Б-1512010
Механизм управления трансмиссией в сборе
В узле: 1
314802-П
Муфта конусная
В узле: 30
314803-П
Муфта конусная
В узле: 4
379260-П
Муфта конусная
В узле: 8
(Конский волос)
Набивка воздушного фильтра
В узле: ---
314612-П8
Ниппель
В узле: 8
379002-П8
Ниппель проходной
В узле: 1
537-3506595
Обойма защитная
В узле: 4
537-8005423
Отражатель крышки фильтра
В узле: 6
537-8005354-Б
Пластина крепления фильтра в сборе
В узле: 1
535А-1804397-А
Прокладка резиновая
В узле: 3
535А-3506222-А
Прокладка резиновая
В узле: 7
535А-3506223-А
Прокладка
В узле: 2
537-8005443
Прокладка фильтра
В узле: 3
537-8005438
Пружина замковая фильтра
В узле: 3
537-8005431
Пружина распорная фильтра
В узле: 3
279580-П8
Пряжка
В узле: 19
537Б-1800020
Раздаточная коробка в сборе
В узле: 1
537-2402004-Б
Редуктор главной передачи второго заднего моста в сборе
В узле: 1
537-2312004-Б
Редуктор главной передачи второго переднего моста в сборе
В узле: 1
537-8005427
Сетка крышки фильтра
В узле: 6
537-8005364
Скоба крепления бака
В узле: 2
379096-П8
Тройник
В узле: 1
379117-П8
Тройник
В узле: 2
379123-П8
Тройник
В узле: 2
379435-П8
Тройник
В узле: 1
379522-П8
Тройник
В узле: 1
379530-П8
Тройник
В узле: 1
537А-8005099
Трубка лебедки
В узле: 1
537-8005097
Трубка тормозного крана
В узле: 1
537А-8005058
Трубка четвертого моста третья
В узле: 1
379051-П8
Угольник
В узле: 1
379053-П8
Угольник
В узле: 4
379645-П8
Угольник
В узле: 1
379658-П8
Угольник
В узле: 1
379649-П8
Угольник конечный
В узле: 2
537-2504081-Б
Цапфа задняя
В узле: 2
537-2504080-Б
Цапфа задняя в сборе
В узле: 2
252004-П2
Шайба
В узле: 12
252140-П2
Шайба пружинная
В узле: 26
252134-П2
Шайба
В узле: 21
252136-П2
Шайба
В узле: 1
252137-П2
Шайба пружинная
В узле: 10
252164-П2
Шайба пружинная
В узле: 1
535-А-1804394-А
Шланг защитный
В узле: 2
279575-П8
Шплинт
В узле: 19
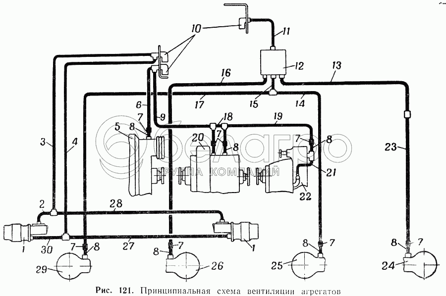
1
537-3505010-А
Главный тормозной цилиндр в сборе
В узле: 2
2
537-8005032
Трубка бачка правого тормозного цилиндра
В узле: 1
3
537-8005040
Трубка бачков тормозных цилиндров
В узле: 1
4
537-8005026
Трубка от тормозных цилиндров к воздушному фильтру
В узле: 1
5
537-2001010-Б
Повышающая передача в сборе
В узле: 1
6
537-8005084
Трубка повышающей передачи
В узле: 1
7
535-А-8005270
Шланг соединительный
В узле: 8
8
537-8005015
Трубка концевая
В узле: 7
9
537-8005075
Трубка гидротрансформатора и коробки передач
В узле: 1
10
537-8005410
Фильтр воздушный в сборе
В узле: 3
11
537-8005067
Трубка от бака сапунирования к фильтру
В узле: 1
12
537-8005325
Бак сапунирования в сборе
В узле: 1
13
537-8005055
Трубка четвертого моста первая
В узле: 1
14
537-8005052
Трубка третьего моста
В узле: 1
15
537-8005046
Трубка первого и третьего мостов
В узле: 1
16
537-8005048
Трубка второго моста
В узле: 1
17
537-8005045
Трубка первого моста
В узле: 1
18
537-8005078
Трубка сапунов коробки передач
В узле: 1
19
537-8005080
Трубка раздаточной коробки
В узле: 1
20
535А-1512010-Б
Механизм управления трансмиссией в сборе
В узле: 1
21
537-8005091
Трубка горловины раздаточной коробки
В узле: 1
22
537-1800020-А
Раздаточная коробка в сборе
В узле: 1
23
537-8005056
Трубка четвертого моста вторая
В узле: 1
24
537-2402010-А
Редуктор второго заднего моста в сборе
В узле: 1
25
537-2502010
Редуктор первого заднего моста в сборе
В узле: 1
26
537-2312010-А
Редуктор переднего второго моста в сборе
В узле: 1
27
537-8005021
Трубка левого тормозного цилиндра
В узле: 1
28
537-8005037
Трубка бачка левого тормозного цилиндра
В узле: 1
29
537-2302010
Редуктор первого переднего моста в сборе
В узле: 1
30
537-8005018
Трубка правого тормозного цилиндра
В узле: 1
Содержащиеся в справочниках-каталогах запасные части и детали не предлагаются к продаже, а носят исключительно информационный характер

Ваша заявка была отправлена. В ближайшее время наши специалисты с Вами свяжутся по указанному Вами телефону.

Представьтесь
Поле обязательно для заполнения
Ваш телефон
Введите правильный номер телефона
E-mail
Введите правильный e-mail
Тема
Тема
применяемость финансирование доставка цена, наличие другое сервис и гарантия
Время для звонка
08:00
08:00 09:00 10:00 11:00 12:00 13:00 14:00 15:00 16:00 17:00 18:00 19:00
19:00
08:00 09:00 10:00 11:00 12:00 13:00 14:00 15:00 16:00 17:00 18:00 19:00

Мы постараемся перезвонить в указанное время

Если вы не хотите ждать, то звоните нашим вежливым консультантам:

8 800 100-2-700
Подтвердите, что вы не робот
Подтвердите, что вы не робот
Спасибо!

Ваше сообщение успешно отправлено!

ЗакрытьПовторить попытку