Каталог запасных частей к технике: МТЗ БЕЛАРУС 1502. Корчеватель

zoom-in zoom-out enlarge shrink circle-right circle-left file-text2 info cart arraw right arraw left zoom out zoom in arraw maximize arraw minimize
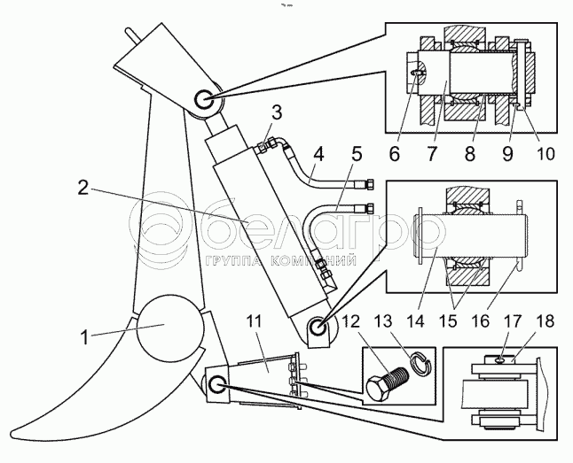
1
2
3
4
5
6
7
8
9
10
11
12
13
14
15
16
17
18
1502-4607390КМЧ
Комплект монтажных частей
В узле: 1
1502-4607300
Корчеватель
В узле: ---
1
МП-18.06.00.000
Орган корчевательный
В узле: 1
2
УГЦ140.003.000-02
Гидроцилиндр
В узле: 2
3
1502-4600320
Патрубок
В узле: 4
4
952-4607140-02
Рукав
В узле: 2
5
П80-4607120-02
Рукав высокого давления ф16х2 армирован.
В узле: 2
6
Масленка1.2Ц6
Масленка 1.2 Ц6
В узле: 2
7
МП-7А.00.00.027
Палец
В узле: 2
8
МП-7А.00.00.028
Втулка
В узле: 2
9
Шплинт4x25.019
Шплинт
В узле: 2
10
МП-7А.26.00.000
Ось в сборе
В узле: 2
11
1502-4607320
Опора
В узле: 2
12
БолтМ20-6gх50.88.35.019
Болт М20-6gх50.88.35.019
В узле: 12
13
Шайба20.ОТ
Шайба
В узле: 12
14
1502-4607365
Палец
В узле: 2
15
1502-4607368
Втулка
В узле: 4
16
Шплинт8x80.019
Шплинт 8x80.019
В узле: 4
17
Шплинт4x25.019
Шплинт
В узле: 2
18
1502-4607360
Палец
В узле: 2
Содержащиеся в справочниках-каталогах запасные части и детали не предлагаются к продаже, а носят исключительно информационный характер

Ваша заявка была отправлена. В ближайшее время наши специалисты с Вами свяжутся по указанному Вами телефону.

Представьтесь
Поле обязательно для заполнения
Ваш телефон
Введите правильный номер телефона
E-mail
Введите правильный e-mail
Тема
Тема
применяемость финансирование доставка цена, наличие другое сервис и гарантия
Время для звонка
08:00
08:00 09:00 10:00 11:00 12:00 13:00 14:00 15:00 16:00 17:00 18:00 19:00
19:00
08:00 09:00 10:00 11:00 12:00 13:00 14:00 15:00 16:00 17:00 18:00 19:00

Мы постараемся перезвонить в указанное время

Если вы не хотите ждать, то звоните нашим вежливым консультантам:

8 800 100-2-700
Подтвердите, что вы не робот
Подтвердите, что вы не робот
Спасибо!

Ваше сообщение успешно отправлено!

ЗакрытьПовторить попытку