Каталог запасных частей к технике: МТЗ БЕЛАРУС МПТ-461.1. Устройство опорно-поворотное

zoom-in zoom-out enlarge shrink circle-right circle-left file-text2 info cart arraw right arraw left zoom out zoom in arraw maximize arraw minimize
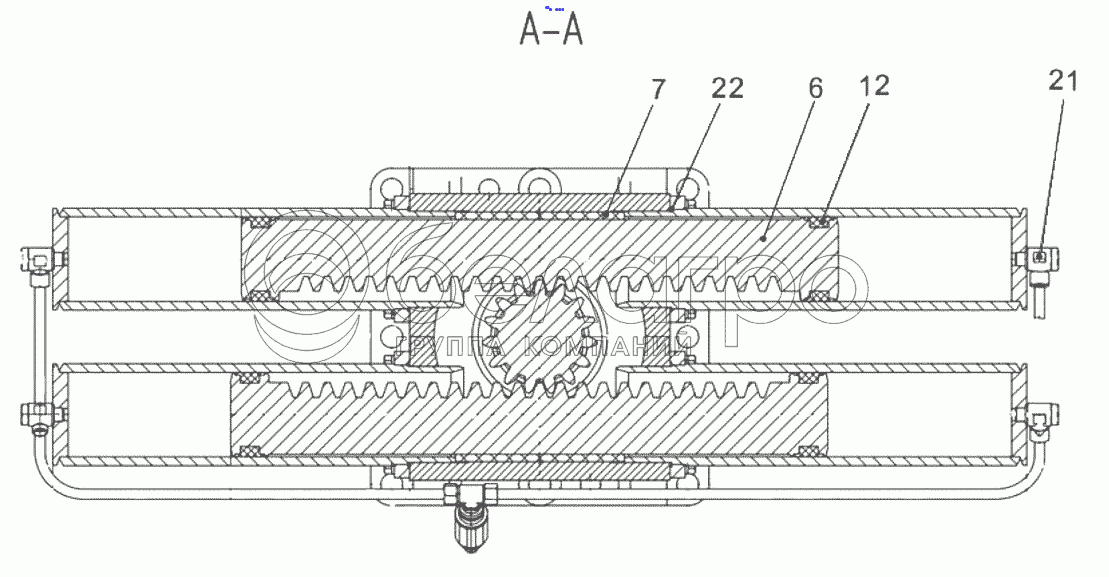
6
7
12
21
22
ГМ42М-01000
Устройство опорно-поворотное
В узле: ---
1
ГМ42М-01010
Гильза
В узле: 4
2
ГМ42М-01020
Колонна
В узле: 1
3
ГМ42М-01070
Трубопровод
В узле: 2
4
ГМ42М-01070-01
Трубопровод
В узле: 2
5
ГМ42М-01001
Корпус
В узле: 1
6
ГМ42М-01002
Шток-рейка
В узле: 2
7
ГМ42М-01003
Подшипник скольжения
В узле: 2
8
ГМ42-0700006
Гайка
В узле: 1
9
ГМ42М-01004
Крышка
В узле: 1
10
ГМ42М-01005
Стакан
В узле: 1
11
ГМ42-0700107
Пыльник
В узле: 1
12
KDSB 1000 0750 225 CX
Уплотнение поршневое
В узле: 4
13
ГМ42М-01006
Заглушка-щуп
В узле: 1
14
ГМ42М-01007
Пробка
В узле: 1
15
Болт М8-6gx20.45.0115
Болт
В узле: 6
16
Болт М16х1,5-6gx40.109.40Х.0115
Болт
В узле: 16
17
Шайба Н95.01.08кп05
Шайба
В узле: 1
18
Шайба 8.65Г.0115
Шайба
В узле: 6
19
Шайба 16.65Г.0115
Шайба
В узле: 16
20
Кольцо 019-023-25-2-2
Кольцо 019-023-25-2-2
В узле: 1
21
101407.1
Соединение
В узле: 4
22
Кольцо 115-025-58-2-2
Кольцо
В узле: 4
23
Кольцо 180-185-36-2-2
Кольцо 180-185-36-2-2
В узле: 1
24
Кольцо 205-210-36-2-2
Кольцо 205-210-36-2-2
В узле: 1
25
7520
Подшипник 7520
В узле: 1
26
2007128
Подшипник 2007128
В узле: 1
27
Масленка 1.2.Ц6
Масленка 1.2.Ц6
В узле: 2
28
VRF02S
Дроссель односторонний с обратным клапаном
В узле: 2
29
CAST 100507.1
Штуцер
В узле: 2
30
CAST 1007007.1
Тройник
В узле: 2
Содержащиеся в справочниках-каталогах запасные части и детали не предлагаются к продаже, а носят исключительно информационный характер

Ваша заявка была отправлена. В ближайшее время наши специалисты с Вами свяжутся по указанному Вами телефону.

Представьтесь
Поле обязательно для заполнения
Ваш телефон
Введите правильный номер телефона
E-mail
Введите правильный e-mail
Тема
Тема
применяемость финансирование доставка цена, наличие другое сервис и гарантия
Время для звонка
08:00
08:00 09:00 10:00 11:00 12:00 13:00 14:00 15:00 16:00 17:00 18:00 19:00
19:00
08:00 09:00 10:00 11:00 12:00 13:00 14:00 15:00 16:00 17:00 18:00 19:00

Мы постараемся перезвонить в указанное время

Если вы не хотите ждать, то звоните нашим вежливым консультантам:

8 800 100-2-700
Подтвердите, что вы не робот
Подтвердите, что вы не робот
Спасибо!

Ваше сообщение успешно отправлено!

ЗакрытьПовторить попытку