Каталог запасных частей к технике: МТЗ МЛПТ-344. Редуктор планетарный

zoom-in zoom-out enlarge shrink circle-right circle-left file-text2 info cart arraw right arraw left zoom out zoom in arraw maximize arraw minimize
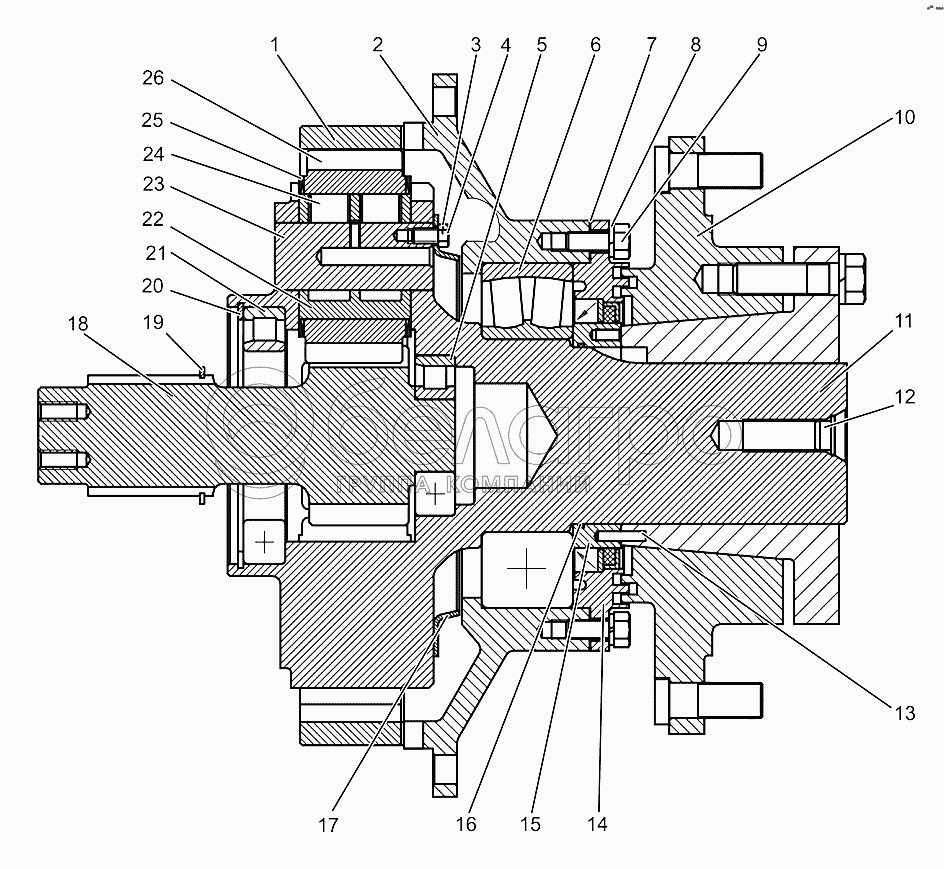
1
2
3
4
5
6
6
7
8
9
10
11
12
13
14
15
16
17
18
19
20
21
22
23
24
24
25
26
МЛ127-2412050-А
Редуктор планетарный
В узле: ---
1
МЛ127-2412059
Шестерня коронная
В узле: 1
2
МЛ127-2412054
Опора
В узле: 1
3
1,2x150
Шплинт
В узле: 4
4
3М10-6gх14.109.40Х.019
Болт
В узле: 12
5
12309КМ
Подшипник
В узле: 1
6
53524Н
Подшипник
В узле: ---
6
3524
Подшипник
В узле: 1
7
МЛ127-2412056
Прокладка
В узле: 1
8
4598166068
Шайба 12ОТ
В узле: 8
9
М12-6gх35.109.40Х.019
Болт
В узле: 8
10
МЛ127-2412100
Ступица
В узле: 1
11
МЛ127-2412051-В
Водило
В узле: 1
12
80-3405038-03
Пробка
В узле: 1
13
6x30
Заклепка
В узле: 2
14
МЛ127-2412120
Крышка подшипника
В узле: 1
15
МЛ127-2412073
Втулка
В узле: 1
16
110-115-30-1-4
Кольцо ГОСТ 9833-73
В узле: 1
17
МЛ127-2412066
Маслосборник
В узле: 1
18
МЛ127-2412058
Шестерня солнечная
В узле: 1
19
2С75
Кольцо
В узле: 1
20
С160
Кольцо
В узле: 1
21
32121М
Подшипник
В узле: 1
22
МЛ127-2412067
Сепаратор
В узле: 4
23
МЛ127-2412068
Ось сателлита
В узле: 4
24
18x26IV
Ролик
В узле: ---
24
18x26АР
Ролик
В узле: 64
25
МЛ127-2412069
Кольцо плавающее
В узле: 25
26
МЛ127-2412057
Сателлит
В узле: 4
Содержащиеся в справочниках-каталогах запасные части и детали не предлагаются к продаже, а носят исключительно информационный характер

Ваша заявка была отправлена. В ближайшее время наши специалисты с Вами свяжутся по указанному Вами телефону.

Представьтесь
Поле обязательно для заполнения
Ваш телефон
Введите правильный номер телефона
E-mail
Введите правильный e-mail
Тема
Тема
применяемость финансирование доставка цена, наличие другое сервис и гарантия
Время для звонка
08:00
08:00 09:00 10:00 11:00 12:00 13:00 14:00 15:00 16:00 17:00 18:00 19:00
19:00
08:00 09:00 10:00 11:00 12:00 13:00 14:00 15:00 16:00 17:00 18:00 19:00

Мы постараемся перезвонить в указанное время

Если вы не хотите ждать, то звоните нашим вежливым консультантам:

8 800 100-2-700
Подтвердите, что вы не робот
Подтвердите, что вы не робот
Спасибо!

Ваше сообщение успешно отправлено!

ЗакрытьПовторить попытку