Каталог запасных частей к технике: МТЗ МЛПТ-354М. Установка зеркала

zoom-in zoom-out enlarge shrink circle-right circle-left file-text2 info cart arraw right arraw left zoom out zoom in arraw maximize arraw minimize
80-8201005
1
2
2
3
3
4
5
6
7
8
9
10
11
6
А30.04.017-01
Колпачок
В узле: 1
А30.04.017-01 Колпачок МТЗ, Беларусь >10 шт. 4.61 р.
9
А30.04.017-02
Колпачок
В узле: 1
А30.04.017-02 Колпачок МТЗ, Беларусь Под заказ 2.90 р.
4
80-8201106-Б
Труба
В узле: 1
80-8201106-Б Труба МТЗ Под заказ 990.68 р.
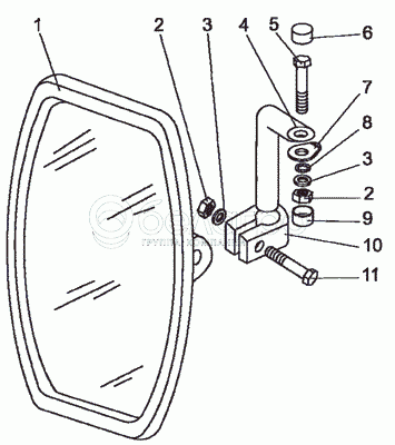
80-8201005
Установка зеркала
В узле: 2
1
80-8201055
Зеркало
В узле: 1
2
М8-6Н.6.019
Гайка
В узле: 2
3
С8.01.019
Шайба
В узле: 2
5
M8-6gx20.88.35.019
Болт
В узле: 1
7
80-8201107
Шайба
В узле: 1
8
4598166046
Шайба 8Т
В узле: 1
10
А30.04.051
Хомут
В узле: 1
11
M8-6gx40.88.35.019
Болт
В узле: 1
Содержащиеся в справочниках-каталогах запасные части и детали не предлагаются к продаже, а носят исключительно информационный характер

Ваша заявка была отправлена. В ближайшее время наши специалисты с Вами свяжутся по указанному Вами телефону.

Представьтесь
Поле обязательно для заполнения
Ваш телефон
Введите правильный номер телефона
E-mail
Введите правильный e-mail
Тема
Тема
применяемость финансирование доставка цена, наличие другое сервис и гарантия
Время для звонка
08:00
08:00 09:00 10:00 11:00 12:00 13:00 14:00 15:00 16:00 17:00 18:00 19:00
19:00
08:00 09:00 10:00 11:00 12:00 13:00 14:00 15:00 16:00 17:00 18:00 19:00

Мы постараемся перезвонить в указанное время

Если вы не хотите ждать, то звоните нашим вежливым консультантам:

8 800 100-2-700
Подтвердите, что вы не робот
Подтвердите, что вы не робот
Спасибо!

Ваше сообщение успешно отправлено!

ЗакрытьПовторить попытку