Каталог запасных частей к технике: МТЗ МПТ-461.1. ГМ42-0700000 Устройство поворотное

zoom-in zoom-out enlarge shrink circle-right circle-left file-text2 info cart arraw right arraw left zoom out zoom in arraw maximize arraw minimize
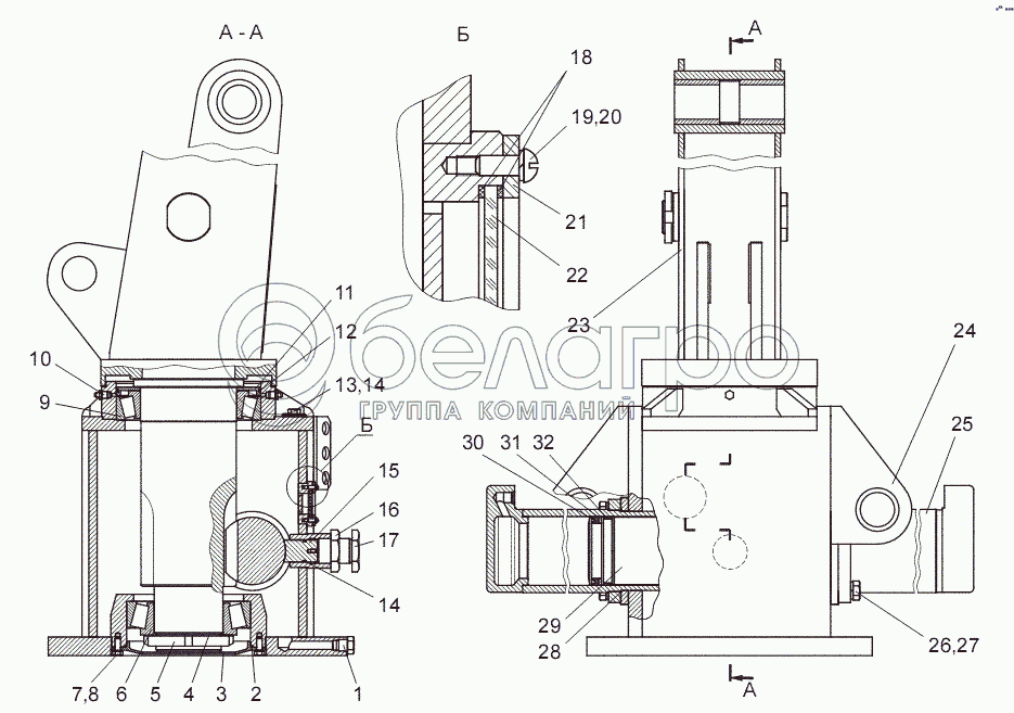
ГМ42-0700000
1
2
3
4
5
6
7
8
9
10
11
12
13
14
14
15
16
17
18
19
20
21
22
23
24
25
26
27
28
29
30
31
32
ГМ42-0700000
Устройство поворотное
В узле: 1
1
У459.007-02
Пробка
В узле: 2
2
Кольцо 180-185-36-2-2
Кольцо 180-185-36-2-2
В узле: 1
3
ГМ42-0700007
Крышка
В узле: 1
4
Н95.01.019
Шайба
В узле: 1
5
ГМ42-0700006
Гайка
В узле: 1
6
7520
Подшипник 7520
В узле: 1
7
М8-6gx20.46.0115
Болт М8-6gx20.46.0115
В узле: 6
8
4598166046
Шайба 8Т
В узле: 6
9
2007128
Подшипник 2007128
В узле: 1
10
Масленка 1.2.Ц6
Масленка 1.2.Ц6
В узле: 2
11
ГМ42-0700008
Стакан
В узле: 1
12
Кольцо 205-210-36-2-2
Кольцо 205-210-36-2-2
В узле: 1
13
У459.034-01
Заглушка
В узле: 1
14
Кольцо 027-032-30-2-2
Кольцо 027-032-30-2-2
В узле: 2
15
ГМ42-0700004
Упор
В узле: 1
16
ГМ42-0700013
Гайка
В узле: 1
17
ГМ42-0700012
Болт
В узле: 1
18
Кольцо 040-045-30-2-2
Кольцо 040-045-30-2-2
В узле: 2
19
Винт ВМ5-6gx10.48.0115
Винт ВМ5-6gx10.48.0115
В узле: 4
20
4598166044
Шайба 5Т
В узле: 4
21
ДУ-35.03.01.10.014
Фланец
В узле: 1
22
ДУ-35.03.01.10.015
Стекло
В узле: 1
23
ГМ42-0702000
Колонна
В узле: 1
24
ГМ42-0703000
Корпус
В узле: 1
25
ГМ42-0701000
Гильза
В узле: 2
26
М16х1,5-6gx40.109.40Х.0115
Болт М16х1,5-6gx40.109.40Х.0115
В узле: 8
27
4598166069
Шайба 14 ОТ
В узле: 8
28
Кольцо 115-120-25-2-2
Кольцо 115-120-25-2-2
В узле: 2
29
ГМ42-0700003-02
Шток-рейка
В узле: 1
30
Манжета 1-100х80-6
Манжета 1-100х80-6
В узле: 2
31
УКЗ.1-18
Кольцо защитное
В узле: 2
32
КОП 3-62
Кольцо опорное
В узле: 2
Содержащиеся в справочниках-каталогах запасные части и детали не предлагаются к продаже, а носят исключительно информационный характер

Ваша заявка была отправлена. В ближайшее время наши специалисты с Вами свяжутся по указанному Вами телефону.

Представьтесь
Поле обязательно для заполнения
Ваш телефон
Введите правильный номер телефона
E-mail
Введите правильный e-mail
Тема
Тема
применяемость финансирование доставка цена, наличие другое сервис и гарантия
Время для звонка
08:00
08:00 09:00 10:00 11:00 12:00 13:00 14:00 15:00 16:00 17:00 18:00 19:00
19:00
08:00 09:00 10:00 11:00 12:00 13:00 14:00 15:00 16:00 17:00 18:00 19:00

Мы постараемся перезвонить в указанное время

Если вы не хотите ждать, то звоните нашим вежливым консультантам:

8 800 100-2-700
Подтвердите, что вы не робот
Подтвердите, что вы не робот
Спасибо!

Ваше сообщение успешно отправлено!

ЗакрытьПовторить попытку