Каталог запасных частей к технике: МТЗ Ш-353М. Опора промежуточная 406-4209400

zoom-in zoom-out enlarge shrink circle-right circle-left file-text2 info cart arraw right arraw left zoom out zoom in arraw maximize arraw minimize
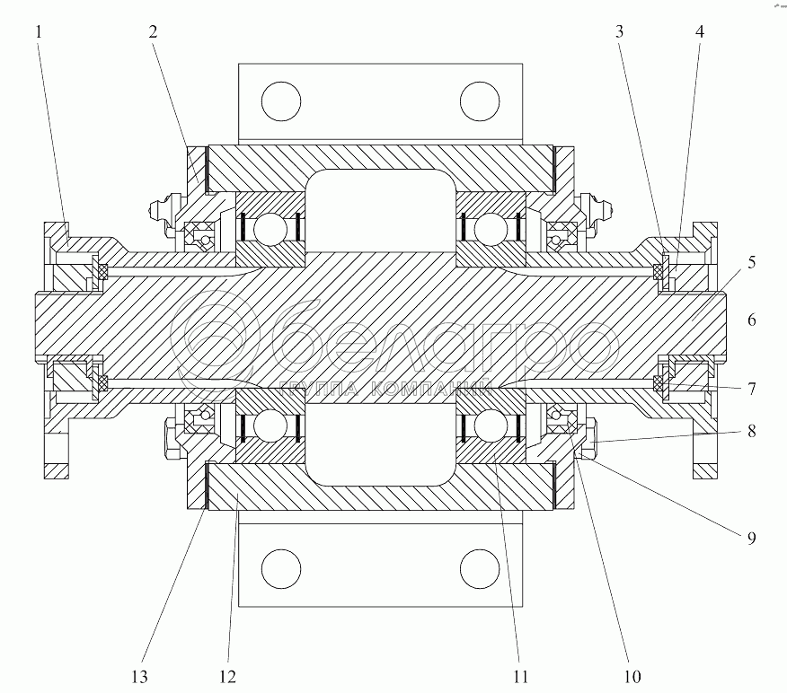
1
2
3
4
5
6
7
8
9
10
11
12
13
1
406-4209061
Фланец
В узле: 2
2
406-4209402
Крышка
В узле: 2
3
364-1601034
Шайба
В узле: 2
4
364-1601036
Гайка
В узле: 2
5
406-4209401
Вал
В узле: 1
6
364-1601037
Пластина замковая
В узле: 2
7
Кольцо036-042-36-2-2
Кольцо 036-042-36-2-2
В узле: 2
8
БолтМ8-6gx20.88.35.019
Болт
В узле: 8
9
4598166046
Шайба 8Т
В узле: 8
10
Манжета2.2-50x70-1
Манжета 2.2-50x70-1
В узле: 2
11
180308АС23
Подшипник
В узле: 2
12
406-4209420
Корпус
В узле: 1
13
406-4209403
Прокладка
В узле: 2
Содержащиеся в справочниках-каталогах запасные части и детали не предлагаются к продаже, а носят исключительно информационный характер

Ваша заявка была отправлена. В ближайшее время наши специалисты с Вами свяжутся по указанному Вами телефону.

Представьтесь
Поле обязательно для заполнения
Ваш телефон
Введите правильный номер телефона
E-mail
Введите правильный e-mail
Тема
Тема
применяемость финансирование доставка цена, наличие другое сервис и гарантия
Время для звонка
08:00
08:00 09:00 10:00 11:00 12:00 13:00 14:00 15:00 16:00 17:00 18:00 19:00
19:00
08:00 09:00 10:00 11:00 12:00 13:00 14:00 15:00 16:00 17:00 18:00 19:00

Мы постараемся перезвонить в указанное время

Если вы не хотите ждать, то звоните нашим вежливым консультантам:

8 800 100-2-700
Подтвердите, что вы не робот
Подтвердите, что вы не робот
Спасибо!

Ваше сообщение успешно отправлено!

ЗакрытьПовторить попытку