Каталог запасных частей к технике: МЗКТ-69234. Кронштейны 6923-3414010-10, 6923-3414110-10

zoom-in zoom-out enlarge shrink circle-right circle-left file-text2 info cart arraw right arraw left zoom out zoom in arraw maximize arraw minimize
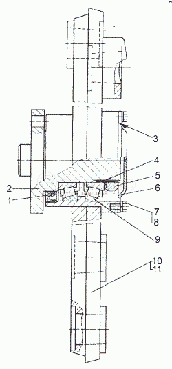
1
2
3
4
5
6
7
8
9
9
10
11
1
0000-2304799
Манжета 2.2-65х90-3
В узле: 1
2
6923-3414026
Ось
В узле: 1
3
69237-3414034
Прокладка
В узле: 1
4
535-3401152
Шайба
В узле: 1
5
375093
Гайка М42х2-5Н6Н
В узле: 1
6
69237-3414032
Крышка
В узле: 1
7
201416
Болт М6-6gх12
В узле: 4
8
252134
Шайба 6Т
В узле: 4
9
0000-3426274
Подшипник 7209
В узле: 2
9
0000-3426274-01
Подшипник 7209 А
В узле: 1
10
6923-3414013-20
Кронштейн
В узле: 1
11
6923-3414113-20
Кронштейн
В узле: 1
Содержащиеся в справочниках-каталогах запасные части и детали не предлагаются к продаже, а носят исключительно информационный характер

Ваша заявка была отправлена. В ближайшее время наши специалисты с Вами свяжутся по указанному Вами телефону.

Представьтесь
Поле обязательно для заполнения
Ваш телефон
Введите правильный номер телефона
E-mail
Введите правильный e-mail
Тема
Тема
применяемость финансирование доставка цена, наличие другое сервис и гарантия
Время для звонка
08:00
08:00 09:00 10:00 11:00 12:00 13:00 14:00 15:00 16:00 17:00 18:00 19:00
19:00
08:00 09:00 10:00 11:00 12:00 13:00 14:00 15:00 16:00 17:00 18:00 19:00

Мы постараемся перезвонить в указанное время

Если вы не хотите ждать, то звоните нашим вежливым консультантам:

8 800 100-2-700
Подтвердите, что вы не робот
Подтвердите, что вы не робот
Спасибо!

Ваше сообщение успешно отправлено!

ЗакрытьПовторить попытку