Каталог запасных частей к технике: МЗКТ-8006. Установка бампера

zoom-in zoom-out enlarge shrink circle-right circle-left file-text2 info cart arraw right arraw left zoom out zoom in arraw maximize arraw minimize
1
2
3
4
5
6
7
8
8
9
10
11
12
13
14
15
16
17
18
19
20
21
22
23
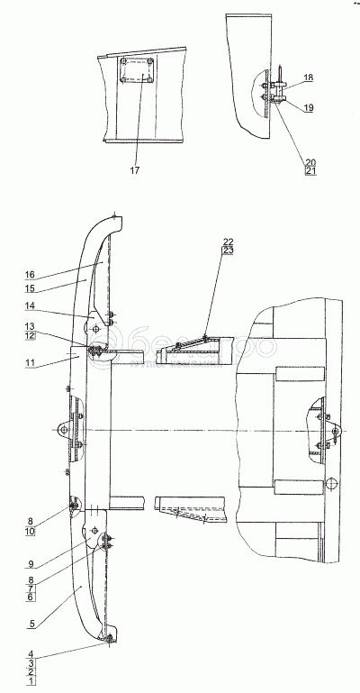
8006-2800010
Рама
В узле: 1
8006-2806122
Ручка пальца
В узле: 1
8006-2806119
Палец
В узле: 1
1
252136
Шайба 10 ОТ
В узле: 4
2
252006
Шайба 10
В узле: 4
3
250512
Гайка М10-6Н
В узле: 4
4
210406
Болт М10-6gx30
В узле: 4
5
5432-2803010
Бампер
В узле: 1
6
252137
Шайба 12 ОТ
В узле: 8
7
250514
Гайка М12-6Н
В узле: 8
8
201540
Болт М12-6gх30
В узле: 12
9
6923-5001055
Кронштейн левый
В узле: 1
10
252007
Шайба 12
В узле: 4
11
8006-2803012
Буфер
В узле: 1
12
202142
Болт М16х1,5-6hх38
В узле: 8
13
374634
Гайка М16х1,5-6Н
В узле: 8
14
6923-5001054
Кронштейн правый
В узле: 1
15
6923-2803010
Буфер
В узле: 1
16
5432-2803030
Усилитель
В узле: 2
17
8006-2801238
Крышка
В узле: 2
18
8006-2806117
Палец
В узле: 1
19
69237-2805158
Вилка буксирная
В узле: 2
20
252 141
Шайба 20.OT
В узле: 8
21
372830
Болт М20х1,5-6gх60
В узле: 8
22
201418
Болт М6-6gх16
В узле: 10
23
252154
Шайба 6Л
В узле: 10
Содержащиеся в справочниках-каталогах запасные части и детали не предлагаются к продаже, а носят исключительно информационный характер

Ваша заявка была отправлена. В ближайшее время наши специалисты с Вами свяжутся по указанному Вами телефону.

Представьтесь
Поле обязательно для заполнения
Ваш телефон
Введите правильный номер телефона
E-mail
Введите правильный e-mail
Тема
Тема
применяемость финансирование доставка цена, наличие другое сервис и гарантия
Время для звонка
08:00
08:00 09:00 10:00 11:00 12:00 13:00 14:00 15:00 16:00 17:00 18:00 19:00
19:00
08:00 09:00 10:00 11:00 12:00 13:00 14:00 15:00 16:00 17:00 18:00 19:00

Мы постараемся перезвонить в указанное время

Если вы не хотите ждать, то звоните нашим вежливым консультантам:

8 800 100-2-700
Подтвердите, что вы не робот
Подтвердите, что вы не робот
Спасибо!

Ваше сообщение успешно отправлено!

ЗакрытьПовторить попытку