Каталог запасных частей к технике: МЗКТ-80211. Бак

zoom-in zoom-out enlarge shrink circle-right circle-left file-text2 info cart arraw right arraw left zoom out zoom in arraw maximize arraw minimize
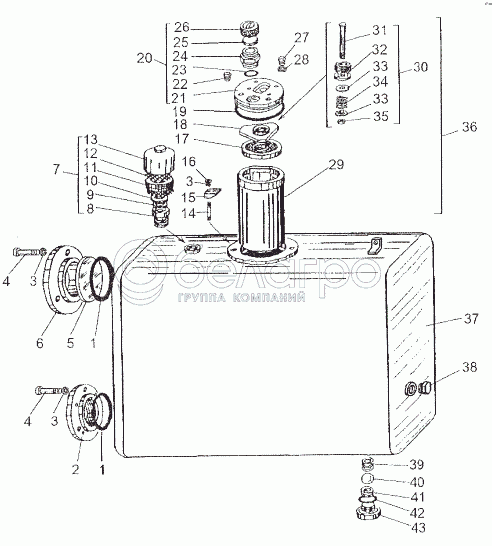
1
1
2
3
3
3
4
4
5
6
7
8
9
10
11
12
13
14
15
16
17
18
19
20
21
22
23
24
25
26
27
28
29
30
31
32
33
33
34
35
36
37
38
39
40
41
42
43
1
7410-2024053
Кольцо уплотнительное
В узле: 2
2
8021-1917048
Фланец
В узле: 1
3
252135
Шайба 8Т
В узле: 8
4
201456
Болт М8-6gх20
В узле: 6
5
7410-2024055
Стекло смотровое
В узле: 1
6
7410-2024056
Фланец
В узле: 1
7
7413-1711560
Сапун
В узле: 1
8
7413-1711562
Переходник
В узле: 1
9
252136
Шайба 10 ОТ
В узле: 1
10
252006
Шайба 10
В узле: 1
11
543-1018323-Б
Фильтрующий элемент
В узле: 1
12
543В-1101710
Решетка суфлера
В узле: 2
13
7413-1711564
Корпус
В узле: 1
14
373220
Шпилька М8х25
В узле: 2
15
7413-1909052
Упор
В узле: 2
16
250510
Гайка М8х1-6Н
В узле: 2
17
543-1716102-Б
Секция фильтра тонкой очистки
В узле: 24
18
7413-1909070
Крышка
В узле: 1
19
0000-1918814
Кольцо 150-155-36-2-2
В узле: 2
20
742953-1917022
Крышка
В узле: 1
21
742953-1917026
Крышка
В узле: 1
22
262542
Пробка КГ 1/4"
В узле: 1
23
0000-1903747
Кольцо 030-034-25-2-2
В узле: 1
24
74296-1917099
Переходник
В узле: 1
25
74296-1917098
Прокладка
В узле: 1
26
74296-1917095
Крышка
В узле: 1
27
378599
Пробка
В узле: 1
28
376120
Прокладка 18М3
В узле: 1
29
7930-1910034
Фильтр
В узле: 1
30
7930-1910030
Клапан
В узле: 1
31
370742
Болт М8-6gх80
В узле: 1
32
7930-1910032
Корпус клапана
В узле: 1
33
7413-1909104
Клапан
В узле: 2
34
535А-1517146
Пружина клапана
В узле: 1
35
251645
Гайка М8-6Н
В узле: 1
36
7930-1910024
Фильтр с клапаном
В узле: 1
37
80211-1917030
Бак
В узле: 1
38
262543
Пробка КГ 3/8"
В узле: 1
39
543-1718366
Пружина сливного клапана
В узле: 1
40
0000-3410201
Шарик 26,988-100
В узле: 1
41
543-1718370
Седло сливного клапана
В узле: 1
42
0000-3515839
Кольцо У-35х30-2
В узле: 1
43
547В-1101348-01
Пробка сливная
В узле: 1
Содержащиеся в справочниках-каталогах запасные части и детали не предлагаются к продаже, а носят исключительно информационный характер

Ваша заявка была отправлена. В ближайшее время наши специалисты с Вами свяжутся по указанному Вами телефону.

Представьтесь
Поле обязательно для заполнения
Ваш телефон
Введите правильный номер телефона
E-mail
Введите правильный e-mail
Тема
Тема
применяемость финансирование доставка цена, наличие другое сервис и гарантия
Время для звонка
08:00
08:00 09:00 10:00 11:00 12:00 13:00 14:00 15:00 16:00 17:00 18:00 19:00
19:00
08:00 09:00 10:00 11:00 12:00 13:00 14:00 15:00 16:00 17:00 18:00 19:00

Мы постараемся перезвонить в указанное время

Если вы не хотите ждать, то звоните нашим вежливым консультантам:

8 800 100-2-700
Подтвердите, что вы не робот
Подтвердите, что вы не робот
Спасибо!

Ваше сообщение успешно отправлено!

ЗакрытьПовторить попытку