Каталог запасных частей к технике: МЗКТ-80211. Насос опрокидывающего механизма 79092-5004010

zoom-in zoom-out enlarge shrink circle-right circle-left file-text2 info cart arraw right arraw left zoom out zoom in arraw maximize arraw minimize
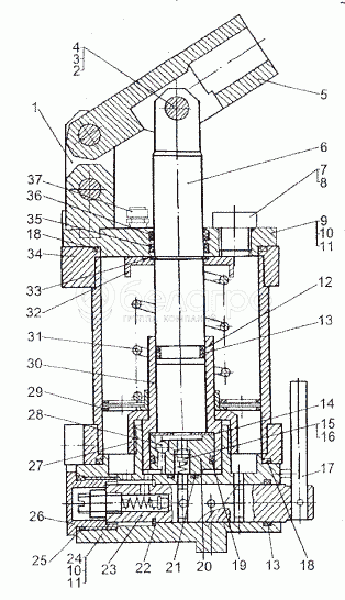
1
2
3
4
5
6
7
8
9
10
10
11
11
12
13
13
14
15
16
17
18
18
19
20
21
22
23
24
25
26
27
28
29
30
31
32
33
34
35
36
37
1
79092-5004114
Серьга
В узле: 2
2
260086
Палец 12х32
В узле: 3
3
375828
Шайба 12
В узле: 3
4
258053
Шплинт 4х25
В узле: 3
5
79092-Й004096
Рычаг
В узле: 1
6
79092-5004098
Плунжер
В узле: 1
7
547А-2927156
Пробка
В узле: 1
8
0000-3408723
Кольцо 013-016-19-2-2
В узле: 1
9
79092-5004050
Крышка
В узле: 1
10
201497
Болт М10-6gх25
В узле: 8
11
252156
Шайба 10Л
В узле: 8
12
5247Г-2724324
Шайба защитная
В узле: 1
13
0000-3515733
Кольцо 020-025-30-2-2
В узле: 2
14
79092-5004118
Пластина
В узле: 1
15
79092-5003056-01
Гнездо
В узле: 1
16
79092-5003058
Пружина
В узле: 1
17
79092-5004108
Ручка
В узле: 1
18
0000-1116793
Кольцо 085-090-30-2-2
В узле: 2
19
0000-3408743
Кольцо 027-032-30-2-2
В узле: 1
20
79092-5004092
Корпус
В узле: 1
21
0000-1923732
Кольцо 020-024-25-2-2
В узле: 1
22
400366
Кольцо 1Б 20
В узле: 1
23
79092-5004030
Золотник
В узле: 1
24
79092-5004020
Основание
В узле: 1
25
0000-1105738
Кольцо 024-028-25-2-2
В узле: 1
26
79092-5004110
Упор
В узле: 1
27
79092-5004102
Гайка гильзы
В узле: 1
28
0000-5003201
Шарик 6-20
В узле: 2
29
79092-5004040
Фильтр
В узле: 1
30
79092-5004104
Гильза
В узле: 1
31
547А-3515142-Б
Пружина
В узле: 1
32
79092-5004112
Упор
В узле: 1
33
400376
Кольцо 1Б25
В узле: 1
34
79092-5004012
Корпус
В узле: 1
35
0000-1015739
Кольцо 025-029-25-2-2
В узле: 1
36
79092-5004106
Грязесьемник
В узле: 1
37
298430-30
Сапун
В узле: 1
Содержащиеся в справочниках-каталогах запасные части и детали не предлагаются к продаже, а носят исключительно информационный характер

Ваша заявка была отправлена. В ближайшее время наши специалисты с Вами свяжутся по указанному Вами телефону.

Представьтесь
Поле обязательно для заполнения
Ваш телефон
Введите правильный номер телефона
E-mail
Введите правильный e-mail
Тема
Тема
применяемость финансирование доставка цена, наличие другое сервис и гарантия
Время для звонка
08:00
08:00 09:00 10:00 11:00 12:00 13:00 14:00 15:00 16:00 17:00 18:00 19:00
19:00
08:00 09:00 10:00 11:00 12:00 13:00 14:00 15:00 16:00 17:00 18:00 19:00

Мы постараемся перезвонить в указанное время

Если вы не хотите ждать, то звоните нашим вежливым консультантам:

8 800 100-2-700
Подтвердите, что вы не робот
Подтвердите, что вы не робот
Спасибо!

Ваше сообщение успешно отправлено!

ЗакрытьПовторить попытку