Каталог запасных частей к технике: МЗКТ-80211. Установка трубопроводов моторного тормоза

zoom-in zoom-out enlarge shrink circle-right circle-left file-text2 info cart arraw right arraw left zoom out zoom in arraw maximize arraw minimize
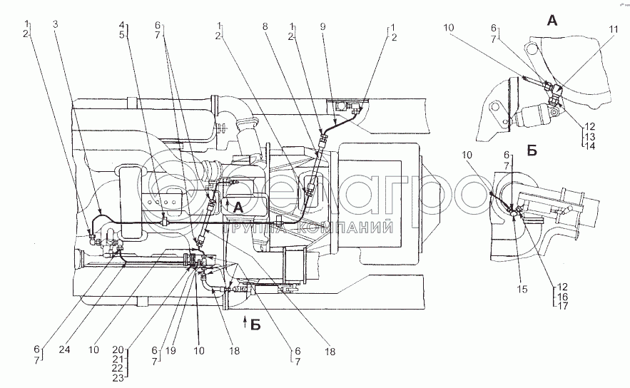
1
1
1
1
2
2
2
2
3
4
5
6
6
6
6
6
6
7
7
7
7
7
7
8
9
10
10
10
10
11
12
12
13
14
15
16
17
18
18
19
20
21
22
23
24
1
314802
Муфта конусная 10
В узле: 4
2
405641
Гайка накидная 10
В узле: 4
3
80211-3570325
Трубка
В узле: 1
4
547А-3724870
Втулка
В узле: 1
5
315403
Кляммер
В узле: 1
6
379277
Муфта конусная 6
В узле: 10
7
401120
Гайка накидная
В узле: 10
8
742952-3570210
Шланг
В узле: 1
9
80211-3570324
Трубка
В узле: 1
10
80211-3570317
Трубка
В узле: 4
11
402717
Угольник
В узле: 1
12
0000-1310719
Кольцо 010-014-25-2-2
В узле: 2
13
37437301
Гайка М10х1-6Н
В узле: 1
14
375600
Шайба 10
В узле: 1
15
402737
Угольник
В узле: 1
16
374614
Гайка М12х1,5-5Н6Н
В узле: 1
17
375818
Шайба 12
В узле: 1
18
79092-1703530
Шланг
В узле: 1
19
379537
Тройник
В узле: 1
20
543-4216151-А2
Прокладка кляммера
В узле: 1
21
297575
Шплинт 5,6х22
В узле: 1
22
297580
Пряжка
В узле: 1
23
297588
Лента
В узле: 1
24
80211-3570321
Трубка
В узле: 1
Содержащиеся в справочниках-каталогах запасные части и детали не предлагаются к продаже, а носят исключительно информационный характер

Ваша заявка была отправлена. В ближайшее время наши специалисты с Вами свяжутся по указанному Вами телефону.

Представьтесь
Поле обязательно для заполнения
Ваш телефон
Введите правильный номер телефона
E-mail
Введите правильный e-mail
Тема
Тема
применяемость финансирование доставка цена, наличие другое сервис и гарантия
Время для звонка
08:00
08:00 09:00 10:00 11:00 12:00 13:00 14:00 15:00 16:00 17:00 18:00 19:00
19:00
08:00 09:00 10:00 11:00 12:00 13:00 14:00 15:00 16:00 17:00 18:00 19:00

Мы постараемся перезвонить в указанное время

Если вы не хотите ждать, то звоните нашим вежливым консультантам:

8 800 100-2-700
Подтвердите, что вы не робот
Подтвердите, что вы не робот
Спасибо!

Ваше сообщение успешно отправлено!

ЗакрытьПовторить попытку