Каталог запасных частей к технике: МЗКТ-80211. Вентилятор 8021-1308010

zoom-in zoom-out enlarge shrink circle-right circle-left file-text2 info cart arraw right arraw left zoom out zoom in arraw maximize arraw minimize
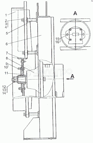
1
2
3
4
5
6
7
8
9
10
11
12
13
14
15
16
1
8021-1308044
Обечайка
В узле: 1
2
370848
Болт М8-6gх75
В узле: 8
3
252038
Шайба 8
В узле: 8
4
252155
Шайба 8Л
В узле: 8
5
74295-1174029
Втулка
В узле: 8
6
8021-1308014
Корпус вентилятора
В узле: 1
7
0001-1308012
Пропеллер 712/12-12/30/РАG/52L
В узле: 1
8
0001-1308014
Гидромотор М5ВF 036 1N04А5Z3
В узле: 1
9
201418
Болт М6-6gх16
В узле: 5
10
407807-01
Гайка М6-6Н
В узле: 5
11
8021-1308029
Диск
В узле: 1
12
250871
Гайка М16х1,5-5Н6Н
В узле: 1
13
535А-1512111
Шайба
В узле: 1
14
258054
Шплинт 4х32
В узле: 1
15
201585
Болт М14-6hх30
В узле: 2
16
252158
Шайба 14Л
В узле: 2
Содержащиеся в справочниках-каталогах запасные части и детали не предлагаются к продаже, а носят исключительно информационный характер

Ваша заявка была отправлена. В ближайшее время наши специалисты с Вами свяжутся по указанному Вами телефону.

Представьтесь
Поле обязательно для заполнения
Ваш телефон
Введите правильный номер телефона
E-mail
Введите правильный e-mail
Тема
Тема
применяемость финансирование доставка цена, наличие другое сервис и гарантия
Время для звонка
08:00
08:00 09:00 10:00 11:00 12:00 13:00 14:00 15:00 16:00 17:00 18:00 19:00
19:00
08:00 09:00 10:00 11:00 12:00 13:00 14:00 15:00 16:00 17:00 18:00 19:00

Мы постараемся перезвонить в указанное время

Если вы не хотите ждать, то звоните нашим вежливым консультантам:

8 800 100-2-700
Подтвердите, что вы не робот
Подтвердите, что вы не робот
Спасибо!

Ваше сообщение успешно отправлено!

ЗакрытьПовторить попытку