Каталог запасных частей к технике: Weichai WD615G0165, WD10G0004. Корпус цилиндра, часть 1

zoom-in zoom-out enlarge shrink circle-right circle-left file-text2 info cart arraw right arraw left zoom out zoom in arraw maximize arraw minimize
1
2
2
3
3
4
5
6
7
8
9
10
11
12
13
14
15
16
17
18
19
20
21
22
23
24
25
26
27
28
29
30
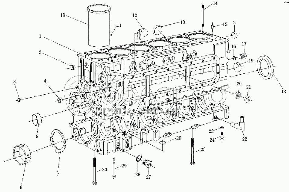
1
612600012126
Цилиндр
В узле: 1
2
90003982121
Пробка чашеобразная
В узле: 4
3
90003989480
Пробка чашеобразная
В узле: 2
4
90003989204
Пробка чашеобразная
В узле: 1
5
61560010029
Втулка распредвала
В узле: 6
5
612600010990
Втулка распредвала
В узле: 1
6
81500010046
Вкладыш коренной (компл.)
В узле: 7
7
81500010125
Уплотнительная шайба (компл.)
В узле: 2
8
61500010366
Постель коленчатого вала
В узле: 1
9
90003901604A
Вкладыш цилиндрический
В узле: 3
10
61500010344
Гильза цилиндра
В узле: 6
11
90003909626
Вкладыш
В узле: 6
12
614010279
Газоотводный патрубок
В узле: 1
13
90003989210
Пробка чашеобразная
В узле: 6
14
61500010185
Шпилька головки блока
В узле: 21
15
90003901604
Вкладыш цилиндрический
В узле: 6
16
90003098086
Кольцо уплотнительное
В узле: 1
17
61460070011
Болт
В узле: 1
18
61500010100
Сальник коленвала задний
В узле: 1
19
90003989288
Пробка чашеобразная
В узле: 1
20
90003989289
Пробка чашеобразная
В узле: 4
21
90003982915
Пробка чашеобразная
В узле: 3
22
612600070107
Возвратная изогнута труба
В узле: 1
23
188250083
Шайба
В узле: 22
24
90003862428
Винт
В узле: 22
25
614010217
Болт
В узле: 1
26
81400010032
Кольцо прокладочное
В узле: 2
27
90003962050
Пробка
В узле: 1
28
90003098086
Кольцо уплотнительное
В узле: 1
29
90003802493
Болт
В узле: 2
30
614010114
Болт
В узле: 13
Содержащиеся в справочниках-каталогах запасные части и детали не предлагаются к продаже, а носят исключительно информационный характер

Ваша заявка была отправлена. В ближайшее время наши специалисты с Вами свяжутся по указанному Вами телефону.

Представьтесь
Поле обязательно для заполнения
Ваш телефон
Введите правильный номер телефона
E-mail
Введите правильный e-mail
Тема
Тема
применяемость финансирование доставка цена, наличие другое сервис и гарантия
Время для звонка
08:00
08:00 09:00 10:00 11:00 12:00 13:00 14:00 15:00 16:00 17:00 18:00 19:00
19:00
08:00 09:00 10:00 11:00 12:00 13:00 14:00 15:00 16:00 17:00 18:00 19:00

Мы постараемся перезвонить в указанное время

Если вы не хотите ждать, то звоните нашим вежливым консультантам:

8 800 100-2-700
Подтвердите, что вы не робот
Подтвердите, что вы не робот
Спасибо!

Ваше сообщение успешно отправлено!

ЗакрытьПовторить попытку