Каталог запасных частей к технике: МАЗ КПП МАЗ-543205-070. Клапан блокировки

zoom-in zoom-out enlarge shrink circle-right circle-left file-text2 info cart arraw right arraw left zoom out zoom in arraw maximize arraw minimize
1
2
3
4
5
6
7
8
9
10
11
12
13
14
15
16
17
201.1708200
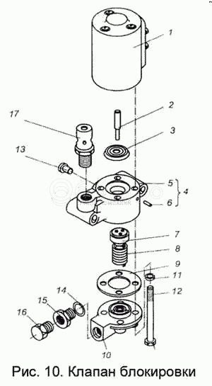
Клапан блокировки с электромагнитом
В узле: 1
Разина 7-9831 Ш
Разина 7-9831 Ш
В узле: 1
201.1708210
Клапан блокировки
В узле: 1
1
Электромагнит 151.3747
Электромагнит 151.3747
В узле: 1
2
201.1708220
Шток
В узле: 1
3
201.1708218
Диафрагма
В узле: 1
4
201.1708212
Корпус со штифтом
В узле: 1
5
201.1708214
Корпус
В узле: 1
6
313404
Штифт 5х12
В узле: 1
7
201.1708208
Клапан блокировки
В узле: 1
8
201.1708224
Пружина
В узле: 1
9
201.1708228
Прокладка крышки корпуса механизма блокировки переключения передач
В узле: 1
10
201.1708216
Крынка
В узле: 1
11
252134
Шайба 6Т
В узле: 4
12
200221
Болт М6-6gх60
В узле: 4
13
313883
Заглушка (технологическая)
В узле: 1
14
312326
Шайба 14х19х1,5
В узле: 1
15
238-1723280
Ввертыш
В узле: 1
16
316127
Пробка М10х1 (технологическая)
В узле: 1
17
238Н-1723100
Сапун воздухораспределителя в сборе
В узле: 1
Содержащиеся в справочниках-каталогах запасные части и детали не предлагаются к продаже, а носят исключительно информационный характер

Ваша заявка была отправлена. В ближайшее время наши специалисты с Вами свяжутся по указанному Вами телефону.

Представьтесь
Поле обязательно для заполнения
Ваш телефон
Введите правильный номер телефона
E-mail
Введите правильный e-mail
Тема
Тема
применяемость финансирование доставка цена, наличие другое сервис и гарантия
Время для звонка
08:00
08:00 09:00 10:00 11:00 12:00 13:00 14:00 15:00 16:00 17:00 18:00 19:00
19:00
08:00 09:00 10:00 11:00 12:00 13:00 14:00 15:00 16:00 17:00 18:00 19:00

Мы постараемся перезвонить в указанное время

Если вы не хотите ждать, то звоните нашим вежливым консультантам:

8 800 100-2-700
Подтвердите, что вы не робот
Подтвердите, что вы не робот
Спасибо!

Ваше сообщение успешно отправлено!

ЗакрытьПовторить попытку