Каталог запасных частей к технике: МЗКТ-65158. Установка трубопроводов отопителя

zoom-in zoom-out enlarge shrink circle-right circle-left file-text2 info cart arraw right arraw left zoom out zoom in arraw maximize arraw minimize
1
2
2
3
4
5
6
7
8
9
10
11
12
13
14
15
16
16
17
17
18
20
21
22
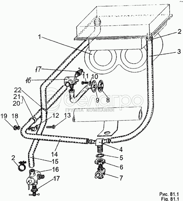
692378-8100005
Установка трубопроводов отопителя
В узле: 1
64221-8101060
Радиатор отопителя
В узле: 1
1
64221-8101010
Отопитель
В узле: 1
2
379947
Хомут 28
В узле: 6
3
79092-8101271
Рукав Ф16
В узле: 1
4
401418
Тройник
В узле: 1
5
252161
Шайба 20Л
В узле: 1
6
250640
Гайка М20х1,5-6Н
В узле: 1
7
0000-1753070
Кран ПС-7
В узле: 1
8
6923-1015088
Прокладка
В узле: 1
9
692378-8101245
Патрубок
В узле: 1
10
252135
Шайба 8Т
В узле: 2
11
201456
Болт М8-6gх20
В узле: 2
12
692378-8101046
Кронштейн
В узле: 1
13
201416
Болт М6-6gх12
В узле: 1
14
7911-8101254
Рукав отводящий отопителя правый
В узле: 1
15
543-8101036
Рукав
В узле: 1
16
5336-8101310
Краник отопителя
В узле: 2
17
6923-1305010
Краник сливной
В узле: 2
18
252154
Шайба 6Л
В узле: 1
19
250508
Гайка М6-6Н
В узле: 1
20
379202
Кляммер
В узле: 1
21
543-3506226-А
Прокладка резиновая Д4101.545
В узле: 1
22
64221-3724622
Лента стяжная
В узле: 1
Содержащиеся в справочниках-каталогах запасные части и детали не предлагаются к продаже, а носят исключительно информационный характер

Ваша заявка была отправлена. В ближайшее время наши специалисты с Вами свяжутся по указанному Вами телефону.

Представьтесь
Поле обязательно для заполнения
Ваш телефон
Введите правильный номер телефона
E-mail
Введите правильный e-mail
Тема
Тема
применяемость финансирование доставка цена, наличие другое сервис и гарантия
Время для звонка
08:00
08:00 09:00 10:00 11:00 12:00 13:00 14:00 15:00 16:00 17:00 18:00 19:00
19:00
08:00 09:00 10:00 11:00 12:00 13:00 14:00 15:00 16:00 17:00 18:00 19:00

Мы постараемся перезвонить в указанное время

Если вы не хотите ждать, то звоните нашим вежливым консультантам:

8 800 100-2-700
Подтвердите, что вы не робот
Подтвердите, что вы не робот
Спасибо!

Ваше сообщение успешно отправлено!

ЗакрытьПовторить попытку