Каталог запасных частей к технике: ХТЗ Т-151К. Кабина

zoom-in zoom-out enlarge shrink circle-right circle-left file-text2 info cart arraw right arraw left zoom out zoom in arraw maximize arraw minimize
1
2
3
4
4
4
4
5
5
5
5
6
7
8
9
10
11
12
12
12
12
12
12
12
12
13
13
13
13
13
13
14
15
16
17
19
20
20
22
23
24
25
26
27
28
29
30
31
32
33
34
35
36
37
38
39
40
41
42
43
44
45
46
47
48
49
50
51
52
53
54
54
55
56
57
58
59
60
60
61
61
62
62
63
64
65
66
67
67
67
67
68
68
68
68
69
69
70
71
71
72
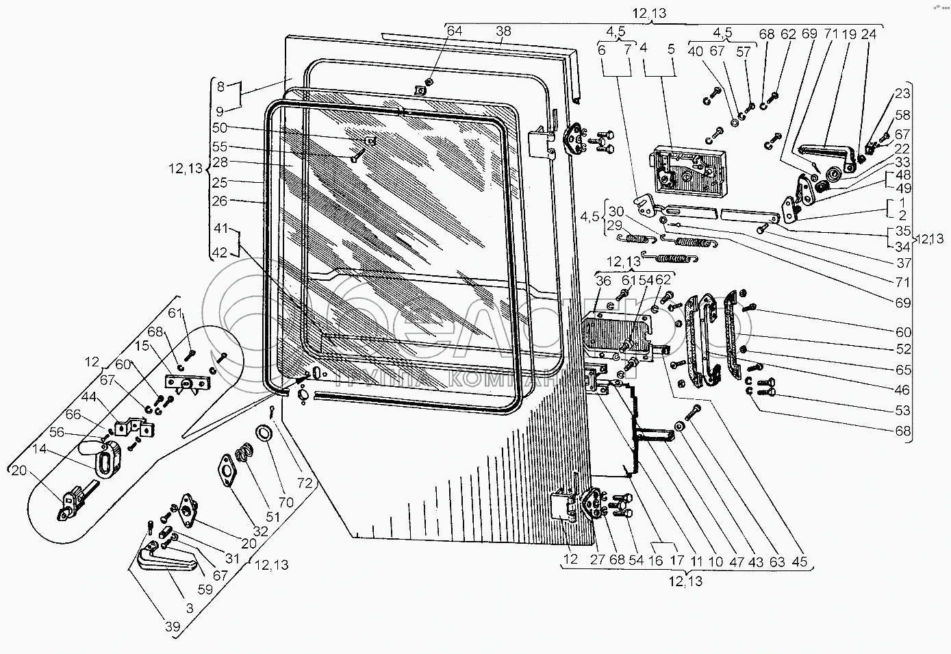
1
151К.45.022
Рычаг левый
В узле: 1
2
151К.45.022-01
Рычаг правый
В узле: 1
3
151К.45.0105
Ручка
В узле: 2
4
150М.45.015
Замок правый
В узле: 1
5
150М.45.016
Замок левый
В узле: 1
6
150М.45.019
Ограничитель левый
В узле: 1
7
150М.45.020
Ограничитель правый
В узле: 1
8
150М.45.031-1
Дверь правая
В узле: 1
9
150М.45.032-1
Дверь левая
В узле: 1
10
150М.45.033
Тяга
В узле: 2
11
150М.45.034
Направляющая
В узле: 2
12
150М.45.043-1
Дверь правая
В узле: 1
13
150М.45.044-1
Дверь левая
В узле: 1
14
150М.45.061-1
Накладка
В узле: 1
15
150М.45.062
Вилка
В узле: 1
16
150М.45.089
Облицовка правая
В узле: 1
17
150М.45.089-01
Облицовка левая
В узле: 1
18
МЦ6А-7.010-7-01
Механизм цилиндровый
В узле: 1
19
151К.45.162-1
Ручка
В узле: 2
20
151К.45.183
Втулка
В узле: 2
21
151К.45.208
Петля
В узле: 4
22
151К.45.394
Колпачок
В узле: 2
23
151К.45.483
Пластина
В узле: 2
24
151К.45.485
Шайба
В узле: 2
25
151К.45.487-02
Уплотнитель
В узле: 2
26
151К.45.496-02
Уплотнение
В узле: 2
27
150М.45.131
Планка
В узле: 4
28
150М.45.141
Стекло
В узле: 2
29
150М.45.161
Пружина
В узле: 2
30
150М.45.163
Пружина
В узле: 4
31
150М.45.182
Стержень
В узле: 2
32
150М.45.184
Пластина
В узле: 2
33
150М.45.188
Пружина
В узле: 2
34
150М.45.195
Тяга правая
В узле: 1
35
150М.45.195-01
Тяга левая
В узле: 1
36
150М.45.229
Крышка
В узле: 2
37
150М.45.230
Ось
В узле: 2
38
150М.45.269
Уплотнитель
В узле: 2
39
150М.45.272
Штифт
В узле: 2
40
150М.45.274
Шайба
В узле: 2
41
150М.45.279-1
Облицовка правая
В узле: 1
42
150М.45.279-1-01
Облицовка левая
В узле: 1
43
150М.45.280
Шайба
В узле: 14
44
150М.45.281
Кронштейн
В узле: 1
45
150М.45.320
Планка
В узле: 2
46
150М.45.324
Ручка
В узле: 2
47
150М.45.343
Планка
В узле: 2
48
150М.45.363
Пружина
В узле: 1
49
150М.45.363-01
Пружина
В узле: 1
50
150М.45.364
Скоба
В узле: 24
51
150М.45.372
Пружина
В узле: 2
52
150М.45.410-1Б
Накладка
В узле: 4
53
М6х12.7798
Болт
В узле: 8
54
М6х16.7798
Болт
В узле: 20
55
М3х30.17473
Винт (d=3, l=30, L0=12, H=2,1, D=5,5)
В узле: 12
56
М4х8.17473
Винт
В узле: 2
57
М5х8.17473
Винт
В узле: 2
58
М5х12.17473
Винт
В узле: 2
59
М5х16.174734
Винт
В узле: 4
60
М5х18.17473
Винт
В узле: 10
61
М6х12.17473
Винт
В узле: 10
62
М6х40.17473
Винт
В узле: 8
63
М4х25.17475
Винт (d=4, l=25, L0=14, H=2, D=7,4)
В узле: 14
64
М3.5927
Гайка (d=3, H=2,4, S=5,5)
В узле: 12
65
М5.5927
Гайка
В узле: 8
66
4 65Г.6402
Шайба
В узле: 2
67
5 65Г.6402
Шайба
В узле: 10
68
6 65Г.6402
Шайба
В узле: 46
69
6.04.11371
Шайба
В узле: 4
70
18.04.11371
Шайба
В узле: 2
71
2х10.397
Шплинт
В узле: 4
72
3,2х25.397
Шплинт
В узле: 2
Содержащиеся в справочниках-каталогах запасные части и детали не предлагаются к продаже, а носят исключительно информационный характер

Ваша заявка была отправлена. В ближайшее время наши специалисты с Вами свяжутся по указанному Вами телефону.

Представьтесь
Поле обязательно для заполнения
Ваш телефон
Введите правильный номер телефона
E-mail
Введите правильный e-mail
Тема
Тема
применяемость финансирование доставка цена, наличие другое сервис и гарантия
Время для звонка
08:00
08:00 09:00 10:00 11:00 12:00 13:00 14:00 15:00 16:00 17:00 18:00 19:00
19:00
08:00 09:00 10:00 11:00 12:00 13:00 14:00 15:00 16:00 17:00 18:00 19:00

Мы постараемся перезвонить в указанное время

Если вы не хотите ждать, то звоните нашим вежливым консультантам:

8 800 100-2-700
Подтвердите, что вы не робот
Подтвердите, что вы не робот
Спасибо!

Ваше сообщение успешно отправлено!

ЗакрытьПовторить попытку