Каталог запасных частей к технике: МТЗ-2022. Цилиндр рабочий 822-1602550-Б-01

zoom-in zoom-out enlarge shrink circle-right circle-left file-text2 info cart arraw right arraw left zoom out zoom in arraw maximize arraw minimize
822-1602550-Б-01
1
2
3
4
5
6
6
7
8
9
10
11
12
13
14
15
2
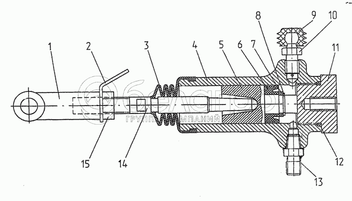
80-1602116
Ушко
В узле: 1
80-1602116 Ушко МТЗ крепежное >10 шт. 156.26 р.
1
50-3502203
Вилка
В узле: 1
50-3502203 Вилка соединительная МТЗ Под заказ 291.90 р.
822-1602550-Б-01
Цилиндр рабочий
В узле: 1
3
142-1602569
Чехол
В узле: 1
4
1221В-1602551
Корпус
В узле: 1
5
822-1602556-Б
Поршень
В узле: 1
6
N14-102
Манжета
В узле: 1
6
Simrit 85 EPDMV MOO 282
Simrit 85 EPDMV MOO 282
В узле: 1
7
1221В-1602517-Б
Втулка распорная
В узле: 1
8
С13
Кольцо
В узле: 1
9
142-1602377
Колпачок
В узле: 1
10
142-1602371
Клапан перепускной
В узле: 1
11
1221В-1602561
Крышка
В узле: 1
12
OR ЕРОМ 70 02700250
Кольцо резиновое уплотнительное
В узле: 1
13
80-1701549
Штуцер
В узле: 1
14
822-1602112
Тяга
В узле: 1
15
М12х1,25
Гайка
В узле: 1
Содержащиеся в справочниках-каталогах запасные части и детали не предлагаются к продаже, а носят исключительно информационный характер

Ваша заявка была отправлена. В ближайшее время наши специалисты с Вами свяжутся по указанному Вами телефону.

Представьтесь
Поле обязательно для заполнения
Ваш телефон
Введите правильный номер телефона
E-mail
Введите правильный e-mail
Тема
Тема
применяемость финансирование доставка цена, наличие другое сервис и гарантия
Время для звонка
08:00
08:00 09:00 10:00 11:00 12:00 13:00 14:00 15:00 16:00 17:00 18:00 19:00
19:00
08:00 09:00 10:00 11:00 12:00 13:00 14:00 15:00 16:00 17:00 18:00 19:00

Мы постараемся перезвонить в указанное время

Если вы не хотите ждать, то звоните нашим вежливым консультантам:

8 800 100-2-700
Подтвердите, что вы не робот
Подтвердите, что вы не робот
Спасибо!

Ваше сообщение успешно отправлено!

ЗакрытьПовторить попытку