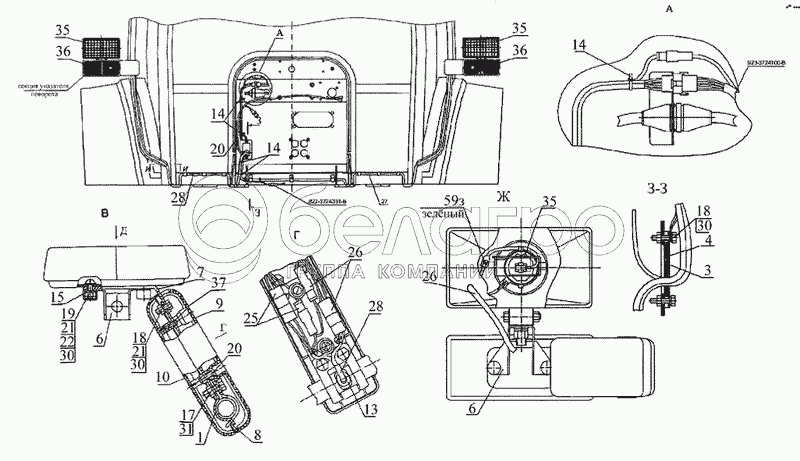
Каталог запасных частей к технике: МТЗ-2022. Установка фонарей передних

zoom-in zoom-out enlarge shrink circle-right circle-left file-text2 info cart arraw right arraw left zoom out zoom in arraw maximize arraw minimize
1
3
4
6
6
7
8
9
10
13
14
14
14
15
17
18
18
19
20
20
21
21
22
25
26
26
28
28
30
30
30
31
35
35
35
36
36
37
15
А30.04.017
Колпачок
В узле: 4
А30.04.017 Колпачок Под заказ 4.53 р.
35
8724.304/011
Фара
В узле: 2
8724.304/011 Фара прямоугольная МТЗ пластмассовая с решеткой (РАУС 14.3711010-11), Беларусь Под заказ 1 219.21 р.
1
920-3712010
Кронштейн
В узле: 2
3
923-3712016
Прокладка
В узле: 1
4
923-3712017
Кронштейн
В узле: 1
5
923-3723042
Втулка
В узле: 2
6
920-3711011
Кронштейн
В узле: 2
7
920-3712012
Кронштейн
В узле: 2
8
920-3712013
Скоба
В узле: 2
9
920-3712021
Кожух
В узле: 2
10
920-3712022
Кожух
В узле: 2
13
70-3723042-01
Втулка
В узле: 6
14
80-3723045
Манжета
В узле: 4
17
М8-6gx16.88.35.019
Болт
В узле: 4
18
М6-6gx18.88.35.019
Болт
В узле: 6
19
912075
Винт B.M6-6gx18.58.019 ГОСТ 17473-80
В узле: 4
20
912077
Винт B.M6-6gx18.58.019 ГОСТ 17475-80
В узле: 4
21
М6-6Н.6.019
Гайка
В узле: 8
22
С 6.01.019
Шайба
В узле: 4
24
Жгут 923-3724130-В
Жгут 923-3724130-В
В узле: 1
25
Жгут 923-3724140-Б
Жгут 923-3724140-Б
В узле: 2
26
Жгут 923-3724142
Жгут 923-3724142
В узле: 2
27
Жгут 923-3724145-Б
Жгут 923-3724145-Б
В узле: 1
28
Жгут 923-3724146-Б
Жгут 923-3724146-Б
В узле: 1
30
Шайба 6Т
Шайба 6Т
В узле: 10
31
Шайба 8Т
Шайба 8Т
В узле: 4
36
3712.10
Фонарь передний с боковым повторителем
В узле: 2
37
4x16.019
Шуруп
В узле: 8
Содержащиеся в справочниках-каталогах запасные части и детали не предлагаются к продаже, а носят исключительно информационный характер

Ваша заявка была отправлена. В ближайшее время наши специалисты с Вами свяжутся по указанному Вами телефону.

Представьтесь
Поле обязательно для заполнения
Ваш телефон
Введите правильный номер телефона
E-mail
Введите правильный e-mail
Тема
Тема
применяемость финансирование доставка цена, наличие другое сервис и гарантия
Время для звонка
08:00
08:00 09:00 10:00 11:00 12:00 13:00 14:00 15:00 16:00 17:00 18:00 19:00
19:00
08:00 09:00 10:00 11:00 12:00 13:00 14:00 15:00 16:00 17:00 18:00 19:00

Мы постараемся перезвонить в указанное время

Если вы не хотите ждать, то звоните нашим вежливым консультантам:

8 800 100-2-700
Подтвердите, что вы не робот
Подтвердите, что вы не робот
Спасибо!

Ваше сообщение успешно отправлено!

ЗакрытьПовторить попытку