Каталог запасных частей к технике: ЧТЗ Бульдозер Б12. Редуктор бортовой (левый, правый)

zoom-in zoom-out enlarge shrink circle-right circle-left file-text2 info cart arraw right arraw left zoom out zoom in arraw maximize arraw minimize
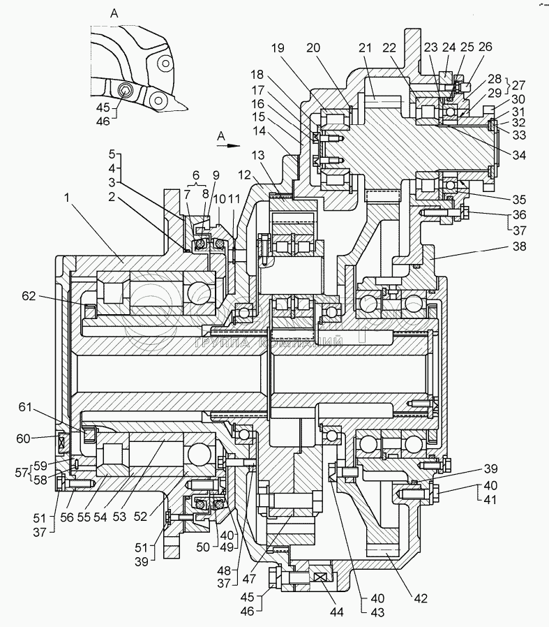
64-19-116-03СП
64-19-116-01СП
1
2
3
4
5
6
7
8
8
9
10
11
12
13
14
15
15
15
15
16
17
18
19
20
21
22
23
24
25
26
27
28
29
29
29
30
31
32
33
34
35
36
37
37
37
38
39
39
40
40
40
41
42
43
44
45
45
45
46
46
47
48
49
50
51
51
52
53
54
55
56
57
58
59
60
61
62
64-19-116-03СП
Редуктор бортовой
В узле: ---
64-19-116-01СП
Редуктор бортовой
В узле: ---
1
64-19-110СП
Ступица колеса
В узле: ---
2
700-40-9426
Кольцо
В узле: 1
3
64-19-62
Прокладка регулировочная
В узле: 1
4
64-19-62-01
Прокладка регулировочная
В узле: 2
5
64-19-62-02
Прокладка регулировочная
В узле: 2
6
64-19-108СП
Уплотнение торцевое
В узле: 1
7
25.01-19-12
Кольцо
В узле: 2
8
25.01-49-40
Кольцо упругое
В узле: 2
8
700-40-9633
Кольцо уплотнительное
В узле: 2
9
64-19-61
Лабиринт
В узле: 1
10
64-19-60
Крышка
В узле: 1
11
775-36-25
Кольцо
В узле: 2
12
64-19-46
Корпус
В узле: 1
13
64-19-45
Эпицикл
В узле: 1
14
700-40-9454
Прокладка
В узле: 1
15
64-19-126СП
Корпус
В узле: 1
15
64-19-126СП
Корпус
В узле: 1
15
64-19-125СП
Корпус
В узле: 1
15
64-19-66
Корпус
В узле: 1
16
БолтМ8-6gх20.88.35.019
Болт
В узле: 2
17
700-31-2499
Пластина стопорная
В узле: 1
18
60-19-40
Фиксатор
В узле: 1
19
70-32612К1М
Подшипник
В узле: 1
20
700-39-492
Кольцо В130
В узле: 1
21
64-19-40
Вал-шестерня
В узле: 1
22
70-32315К1М
Подшипник
В узле: 1
23
50-19-151
Кольцо
В узле: 1
24
64-19-49
Корпус подшипника
В узле: 1
25
Кольцо140-150-58-2-2
Кольцо
В узле: 1
26
720-15-125СП
Сапун
В узле: 1
27
64-19-111СП
Крышка
В узле: 1
28
64-19-50
Крышка
В узле: 1
29
Манжета2.2-100х125-1
Манжета
В узле: 1
29
Манжета2.1-100х125-4
Манжета
В узле: 1
29
Манжета2.2-100х125-2
Манжета
В узле: 1
30
64-19-43
Муфта (технологическая)
В узле: 1
31
700-40-7108
Кольцо
В узле: 1
32
50-19-153
Кольцо
В узле: 1
33
700-30-2301
Гайка
В узле: 1
34
50-19-155
Кольцо
В узле: 1
35
118
Подшипник шариковый радиальный однорядный
В узле: 1
36
БолтМ12-6gх55.58.019
Болт
В узле: 6
37
Шайба12ОТ65Г09
Шайба
В узле: 37
38
64-19-117СП
Опора
В узле: 1
39
714-15-56-02
Кольцо
В узле: 1
40
БолтМ16х1,5-6gх35.88.38ХС.019
Болт
В узле: 43
41
Шайба16ОТ65Г09
Шайба
В узле: 13
42
64-19-64
Шестерня
В узле: 1
43
700-31-2817
Пластина стопорная
В узле: 9
44
19290
Пробка
В узле: 2
45
700-28-2691-01
Болт
В узле: 7
45
700-28-2691
Болт
В узле: 7
46
Шайба20ОТ65Г09
Шайба
В узле: 7
47
64-19-105СП
Водило
В узле: 1
48
БолтМ12-6gх50.58.019
Болт
В узле: 9
49
700-31-2811
Шайба стопорная
В узле: 1
50
64-19-51
Крышка
В узле: 1
51
БолтМ12-6gх40.58.019
Болт
В узле: 22
52
2236
Подшипник
В узле: 1
53
64-19-53
Втулка
В узле: 1
54
64-19-52
Втулка
В узле: 1
55
236
Подшипник
В узле: 1
56
64-19-41
Крышка
В узле: 1
57
64-19-112СП
Муфта
В узле: 1
58
Штифт5u8х14
Штифт
В узле: 1
59
64-19-55
Муфта
В узле: 1
60
15224
Пробка
В узле: 1
61
700-30-2443
Гайка
В узле: 1
62
700-31-2810
Шайба стопорная
В узле: 1
Содержащиеся в справочниках-каталогах запасные части и детали не предлагаются к продаже, а носят исключительно информационный характер

Ваша заявка была отправлена. В ближайшее время наши специалисты с Вами свяжутся по указанному Вами телефону.

Представьтесь
Поле обязательно для заполнения
Ваш телефон
Введите правильный номер телефона
E-mail
Введите правильный e-mail
Тема
Тема
применяемость финансирование доставка цена, наличие другое сервис и гарантия
Время для звонка
08:00
08:00 09:00 10:00 11:00 12:00 13:00 14:00 15:00 16:00 17:00 18:00 19:00
19:00
08:00 09:00 10:00 11:00 12:00 13:00 14:00 15:00 16:00 17:00 18:00 19:00

Мы постараемся перезвонить в указанное время

Если вы не хотите ждать, то звоните нашим вежливым консультантам:

8 800 100-2-700
Подтвердите, что вы не робот
Подтвердите, что вы не робот
Спасибо!

Ваше сообщение успешно отправлено!

ЗакрытьПовторить попытку