Каталог запасных частей к технике: ЧТЗ Бульдозер Б14. Каток поддерживающий

zoom-in zoom-out enlarge shrink circle-right circle-left file-text2 info cart arraw right arraw left zoom out zoom in arraw maximize arraw minimize
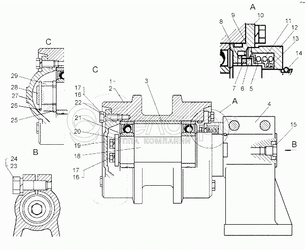
1
2
3
4
5
6
7
8
9
10
11
12
13
14
15
16
16
17
17
18
19
20
21
22
23
24
25
26
27
28
29
50-21-416СП
Каток поддерживающий
В узле: ---
1
50-21-425СП
Каток поддерживающий
В узле: ---
2
50-21-417-01СП
Ролик
В узле: ---
2
50-21-417СП
Ролик
В узле: ---
3
50-21-395-01
Ролик
В узле: ---
3
50-21-434-01
Втулка
В узле: ---
4
50-21-314-01
Кронштейн
В узле: ---
5
КАТ-40-5432
Манжета
В узле: ---
6
24-21-126
Кольцо
В узле: ---
7
24-21-127
Кольцо
В узле: ---
8
КАТ-40-5019
Прокладка
В узле: ---
9
24-21-130
Обойма
В узле: ---
10
50-21-419СП
Упор
В узле: ---
11
700-38-2568
Пружина
В узле: ---
12
50-21-398
Лабиринт
В узле: ---
13
700-58-2369
Кольцо
В узле: ---
14
700-58-2624
Кольцо пружинное
В узле: ---
15
700-37-2240
Пробка
В узле: ---
16
БолтМ12-6gх30.88.35.019
Болт М12-6gх30.88.35.019
В узле: ---
16
2816
Болт
В узле: ---
17
Шайба12Т.65Г.09
Шайба 12Т.65Г.09
В узле: ---
17
Шайба12.ОТ.65Г.09
Шайба 12.ОТ.65Г.09
В узле: ---
18
64-21-155
Ось
В узле: ---
19
50-21-436
Крышка
В узле: ---
20
64-21-156
Пластина
В узле: ---
21
311
Подшипник шариковый радиальный однорядный
В узле: ---
22
КАТ-21-60-03
Кольцо
В узле: ---
23
БолтМ20х1,5х62
Болт
В узле: ---
24
Шайба20.ОТ.65Г.09
Шайба 20.ОТ.65Г.09
В узле: ---
25
50-21-318
Кольцо
В узле: ---
26
35-21-37
Шплинт
В узле: ---
27
50-21-385
Крышка
В узле: ---
28
50-21-396
Ось
В узле: ---
29
700-30-2195
Гайка
В узле: ---
Содержащиеся в справочниках-каталогах запасные части и детали не предлагаются к продаже, а носят исключительно информационный характер

Ваша заявка была отправлена. В ближайшее время наши специалисты с Вами свяжутся по указанному Вами телефону.

Представьтесь
Поле обязательно для заполнения
Ваш телефон
Введите правильный номер телефона
E-mail
Введите правильный e-mail
Тема
Тема
применяемость финансирование доставка цена, наличие другое сервис и гарантия
Время для звонка
08:00
08:00 09:00 10:00 11:00 12:00 13:00 14:00 15:00 16:00 17:00 18:00 19:00
19:00
08:00 09:00 10:00 11:00 12:00 13:00 14:00 15:00 16:00 17:00 18:00 19:00

Мы постараемся перезвонить в указанное время

Если вы не хотите ждать, то звоните нашим вежливым консультантам:

8 800 100-2-700
Подтвердите, что вы не робот
Подтвердите, что вы не робот
Спасибо!

Ваше сообщение успешно отправлено!

ЗакрытьПовторить попытку