Каталог запасных частей к технике: ЧТЗ Бульдозер Б14. Колеса натяжные

zoom-in zoom-out enlarge shrink circle-right circle-left file-text2 info cart arraw right arraw left zoom out zoom in arraw maximize arraw minimize
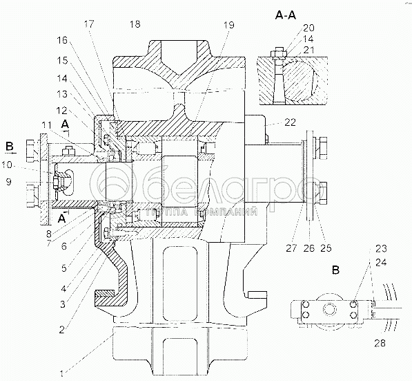
1
2
3
4
5
6
7
8
9
10
11
12
13
14
14
15
16
17
18
19
20
21
22
23
24
25
26
27
28
50-21-305-05СП
Колесо натяжное
В узле: ---
50-21-306-05СП
Колесо натяжное
В узле: ---
1
50-21-212
Колесо натяжное
В узле: ---
2
24-21-44-01
Прокладка
В узле: ---
3
24-21-147СП
Шайба
В узле: ---
4
2816
Болт
В узле: ---
4
БолтМ12-6gх30.88.35.019
Болт М12-6gх30.88.35.019
В узле: ---
5
24-21-126
Кольцо
В узле: ---
6
24-21-130
Обойма
В узле: ---
7
700-38-2568
Пружина
В узле: ---
8
КАТ-40-5432
Манжета
В узле: ---
9
700-37-2240
Пробка
В узле: ---
10
24-21-123
Ось
В узле: ---
10
24-21-123-01
Ось
В узле: ---
11
700-58-2369
Кольцо
В узле: ---
12
24-21-127
Кольцо
В узле: ---
13
КАТ-40-5019
Прокладка
В узле: ---
14
Шайба12.ОТ.65Г.09
Шайба 12.ОТ.65Г.09
В узле: ---
15
КАТ-21-60-05
Кольцо
В узле: ---
16
50-21-424СП
Опора
В узле: ---
17
24-21-129
Шайба
В узле: ---
18
2614К2
Подшипник 2614 К2
В узле: ---
18
272614
Подшипник 272614
В узле: ---
19
50-21-434-02
Втулка
В узле: ---
19
50-21-409
Втулка
В узле: ---
20
700-30-2414
Гайка
В узле: ---
21
18-21-45
Стопор
В узле: ---
22
50-21-423СП
Опора
В узле: ---
23
БолтМ20х60.109.019
Болт М20х60.109.019
В узле: ---
23
28234-01
Болт
В узле: ---
23
28234
Болт
В узле: ---
24
Шайба20.ОТ.65Г.09
Шайба 20.ОТ.65Г.09
В узле: ---
25
31109
Шайба 20х4.02.10ЮА.019
В узле: ---
26
50-21-223
Крышка
В узле: ---
27
50-21-124
Прокладка
В узле: ---
28
50-21-63
Вилка
В узле: ---
Содержащиеся в справочниках-каталогах запасные части и детали не предлагаются к продаже, а носят исключительно информационный характер

Ваша заявка была отправлена. В ближайшее время наши специалисты с Вами свяжутся по указанному Вами телефону.

Представьтесь
Поле обязательно для заполнения
Ваш телефон
Введите правильный номер телефона
E-mail
Введите правильный e-mail
Тема
Тема
применяемость финансирование доставка цена, наличие другое сервис и гарантия
Время для звонка
08:00
08:00 09:00 10:00 11:00 12:00 13:00 14:00 15:00 16:00 17:00 18:00 19:00
19:00
08:00 09:00 10:00 11:00 12:00 13:00 14:00 15:00 16:00 17:00 18:00 19:00

Мы постараемся перезвонить в указанное время

Если вы не хотите ждать, то звоните нашим вежливым консультантам:

8 800 100-2-700
Подтвердите, что вы не робот
Подтвердите, что вы не робот
Спасибо!

Ваше сообщение успешно отправлено!

ЗакрытьПовторить попытку