Каталог запасных частей к технике: ЧТЗ ДЭТ-250М2. Бак масляный

zoom-in zoom-out enlarge shrink circle-right circle-left file-text2 info cart arraw right arraw left zoom out zoom in arraw maximize arraw minimize
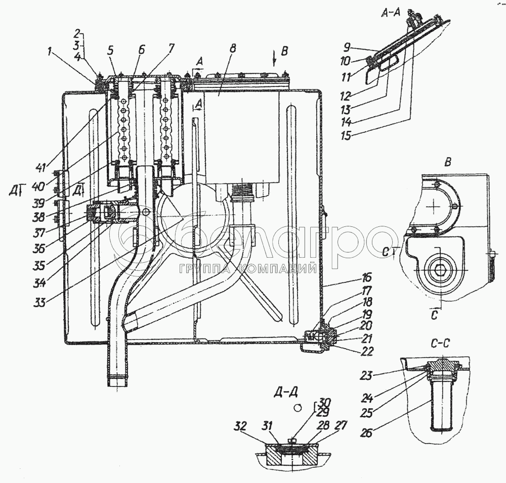
1
2
3
4
5
6
7
8
9
10
11
12
13
14
15
16
17
18
19
20
21
22
23
24
25
26
27
28
29
30
31
32
33
34
35
36
37
38
39
40
41
748-99-429СП
Крышка
В узле: ---
748-99-592СП
Клапан
В узле: ---
1
46799
Прокладка
В узле: ---
2
Гайка М8-7Н.6.019 [ГОСТ 5915-70]
Гайка М8-7Н.6.019
В узле: ---
3
Шайба 8Т 65Г 09 [ГОСТ 6402-70]
Шайба 8Т 65Г 09
В узле: ---
4
Шпилька М8-6gх25.66.019 [ГОСТ 22034-76]
Шпилька М8-6gх25.66.019
В узле: ---
5
26982СП
Крышка
В узле: ---
6
38515
Пружина
В узле: ---
7
26981
Шайба
В узле: ---
8
748-99-432СП
Корпус
В узле: ---
9
748-99-428СП
Крышка
В узле: ---
10
Болт М8-6gх16.88.35.019 [ГОСТ 7796-70]
Болт М8-6gх16.88.35.019
В узле: ---
11
748-99-772
Прокладка
В узле: ---
12
748-99-770
Фильтр
В узле: ---
13
748-99-769
Кассета
В узле: ---
14
1200
Крышка
В узле: ---
15
4286
Набивка сапуна
В узле: ---
16
748-99-507СП
Бак
В узле: ---
17
700-38-1933
Пружина
В узле: ---
18
748-20-1013
Седло
В узле: ---
19
Шарик Б25.4-100 [ГОСТ 3722-81]
Шарик Б25.4-100
В узле: ---
20
Проволока КО 1,6 [ГОСТ 792-67]
Проволока КО 1,6
В узле: ---
21
700-37-2242
Пробка
В узле: ---
22
МН 4152-62
Кольцо 12х18
В узле: ---
23
730-04-130
Кольцо
В узле: ---
24
730-04-225
Прокладка
В узле: ---
25
748-09-329
Пробка
В узле: ---
26
748-99-349СП
Фильтр
В узле: ---
27
700-404695
Манжета
В узле: ---
28
18-26-620
Отражатель
В узле: ---
29
Болт М6-6gх14.88.35.019 [ГОСТ 7798-70]
Болт М6-6gх14.88.35.019
В узле: ---
30
Шайба 6Т 65Г 09 [ГОСТ 6402-70]
Шайба 6Т 65Г 09
В узле: ---
31
25741
Стекло
В узле: ---
32
50-26-429
Крышка
В узле: ---
33
26987
Шайба
В узле: ---
34
748-99-1173
Корпус
В узле: ---
35
748-99-985
Клапан
В узле: ---
36
748-99-1172
Винт
В узле: ---
37
700-38-669
Пружина
В узле: ---
38
40601
Кольцо
В узле: ---
39
54.57.020А
Элемент фильтрующий
В узле: ---
40
26968СП
Труба
В узле: ---
41
700-40-5462
Прокладка
В узле: ---
Содержащиеся в справочниках-каталогах запасные части и детали не предлагаются к продаже, а носят исключительно информационный характер

Ваша заявка была отправлена. В ближайшее время наши специалисты с Вами свяжутся по указанному Вами телефону.

Представьтесь
Поле обязательно для заполнения
Ваш телефон
Введите правильный номер телефона
E-mail
Введите правильный e-mail
Тема
Тема
применяемость финансирование доставка цена, наличие другое сервис и гарантия
Время для звонка
08:00
08:00 09:00 10:00 11:00 12:00 13:00 14:00 15:00 16:00 17:00 18:00 19:00
19:00
08:00 09:00 10:00 11:00 12:00 13:00 14:00 15:00 16:00 17:00 18:00 19:00

Мы постараемся перезвонить в указанное время

Если вы не хотите ждать, то звоните нашим вежливым консультантам:

8 800 100-2-700
Подтвердите, что вы не робот
Подтвердите, что вы не робот
Спасибо!

Ваше сообщение успешно отправлено!

ЗакрытьПовторить попытку