Каталог запасных частей к технике: ЧТЗ ДЭТ-250М2. Распределитель

zoom-in zoom-out enlarge shrink circle-right circle-left file-text2 info cart arraw right arraw left zoom out zoom in arraw maximize arraw minimize
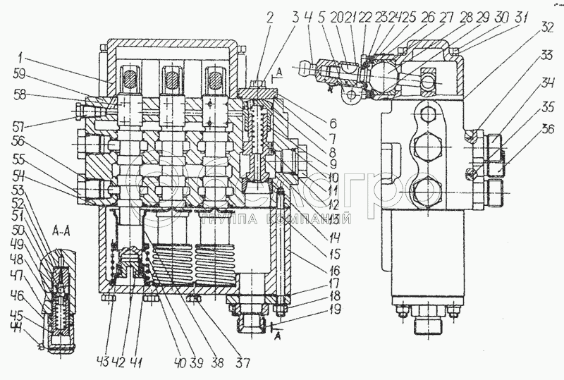
1
2
3
4
5
6
7
8
9
10
11
12
13
14
15
16
17
18
19
20
21
22
23
24
25
26
27
28
29
30
31
32
33
34
35
36
37
38
39
40
41
42
43
44
45
46
47
48
49
50
51
52
53
54
55
56
57
58
59
1
Р75-3-022Б
Крышка верхняя
В узле: ---
2
Болт М10-6gх30.88.35.019 [ГОСТ 7796-70]
Болт М10-6gх30.88.35.019
В узле: ---
3
Шайба 10 65Г 05 [ГОСТ 6402-70]
Шайба 10 65Г 05
В узле: ---
4
748-99-1072
Шарнир
В узле: ---
5
748-99-1046
Шарнир
В узле: ---
6
Р75-071Г
Упор
В узле: ---
7
Р75-077
Кольцо У35х30-З
В узле: ---
8
Кольцо 025-030-30-2-3 [ГОСТ 9833-73]
Кольцо 025-030-30-2-3
В узле: ---
9
Р75-073А
Направляющая перепускного клапана
В узле: ---
10
Кольцо 022-027-30-2-2 [ГОСТ 9833-73]
Кольцо 022-027-30-2-2
В узле: ---
11
Р75-067
Заглушка
В узле: ---
12
Р75-072
Пружина перепускного клапана
В узле: ---
13
Р80-3-041
Клапан перепускной
В узле: ---
14
Р80-040-10
Гнездо
В узле: ---
15
ШМ8х120
Шпилька
В узле: ---
16
Р75-3-023
Крышка нижняя
В узле: ---
17
748-99-1166
Прокладка
В узле: ---
18
Гайка М8-6Н.6.019 [ГОСТ 5915-70]
Гайка М8-6Н.6.019
В узле: ---
19
748-99-587СП
Фланец
В узле: ---
20
Р75-099
Шпонка 3х6,5
В узле: ---
21
748-99-1073
Проставка
В узле: ---
22
Болт М8-6gх16.88.35.019 [ГОСТ 7796-70]
Болт М8-6gх16.88.35.019
В узле: ---
23
Р75-3-055Б-1
Пластина пыльников
В узле: ---
24
Р75-056М
Чехол
В узле: ---
25
Р75-3-057
Пластина колец
В узле: ---
26
Р75-065А
Кольцо верхнее
В узле: ---
27
Р75-064А
Кольцо нижнее
В узле: ---
28
Р75-054А
Рычаг
В узле: ---
29
Кольцо 028-033-30-2-3 [ГОСТ 9833-73]
Кольцо 028-033-30-2-3
В узле: ---
30
Болт М8-6gх55.88.35.019 [ГОСТ 7795-70]
Болт М8-6gх55.88.35.019
В узле: ---
31
Шайба 8 65Г 05 [ГОСТ 6402-70]
Шайба 8 65Г 05
В узле: ---
32
Р75-3-038
Прокладка верхняя
В узле: ---
33
700-40-7185
Кольцо
В узле: ---
34
Н.036.04.005
Штуцер
В узле: ---
35
938.30.289
Кольцо
В узле: ---
36
Н.036.04.011
Штуцер
В узле: ---
37
Болт М8-6gх100.58.019 [ГОСТ 7795-70]
Болт М8-6gх100.58.019
В узле: ---
38
Р75-4-031
Стакан упорный
В узле: ---
39
Р80-2.3ПСП
Распределитель
В узле: ---
40
Р75-035
Проушина золотника
В узле: ---
41
Р75-033А
Стакан нижний
В узле: ---
42
Р80-23.20.137
Пробка
В узле: ---
43
Р75-ПГ-046
Втулка ограничительная
В узле: ---
44
Пломба 1-8хЮ-АД1М [ГОСТ 18677-75]
Пломба 1-8хЮ-АД1М
В узле: ---
45
Р75-051Б
Колпачок
В узле: ---
46
Проволока 0,8-0-4 [ГОСТ 3282-74]
Проволока 0,8-0-4
В узле: ---
47
Р75-058Б
Гайка
В узле: ---
48
Р40/75-0808049А
Винт регулировочный
В узле: ---
49
Р40/75-08080486
Пружина предохранительного клапана
В узле: ---
50
Р40/75-0808059А
Предохранительный клапан
В узле: ---
51
Шарик 5,556-10,0 [ГОСТ 3722-81]
Шарик 5,556-10,0
В узле: ---
52
Р80-3-063
Гнездо предохранительного клапана
В узле: ---
53
Р80-В-028
Прокладка
В узле: ---
54
Р75-3-039
Прокладка нижняя
В узле: ---
55
Р75-066
Заглушка
В узле: ---
56
Кольцо 018-022-25-2-2 [ГОСТ 9833-73]
Кольцо 018-022-25-2-2
В узле: ---
57
Пробка КГ 1/4 [ОСТ 23.1.117-83]
Пробка КГ 1/4
В узле: ---
58
Р80-4-024
Золотник
В узле: ---
59
Р80-3-021-10
Корпус распределителя
В узле: ---
Содержащиеся в справочниках-каталогах запасные части и детали не предлагаются к продаже, а носят исключительно информационный характер

Ваша заявка была отправлена. В ближайшее время наши специалисты с Вами свяжутся по указанному Вами телефону.

Представьтесь
Поле обязательно для заполнения
Ваш телефон
Введите правильный номер телефона
E-mail
Введите правильный e-mail
Тема
Тема
применяемость финансирование доставка цена, наличие другое сервис и гарантия
Время для звонка
08:00
08:00 09:00 10:00 11:00 12:00 13:00 14:00 15:00 16:00 17:00 18:00 19:00
19:00
08:00 09:00 10:00 11:00 12:00 13:00 14:00 15:00 16:00 17:00 18:00 19:00

Мы постараемся перезвонить в указанное время

Если вы не хотите ждать, то звоните нашим вежливым консультантам:

8 800 100-2-700
Подтвердите, что вы не робот
Подтвердите, что вы не робот
Спасибо!

Ваше сообщение успешно отправлено!

ЗакрытьПовторить попытку