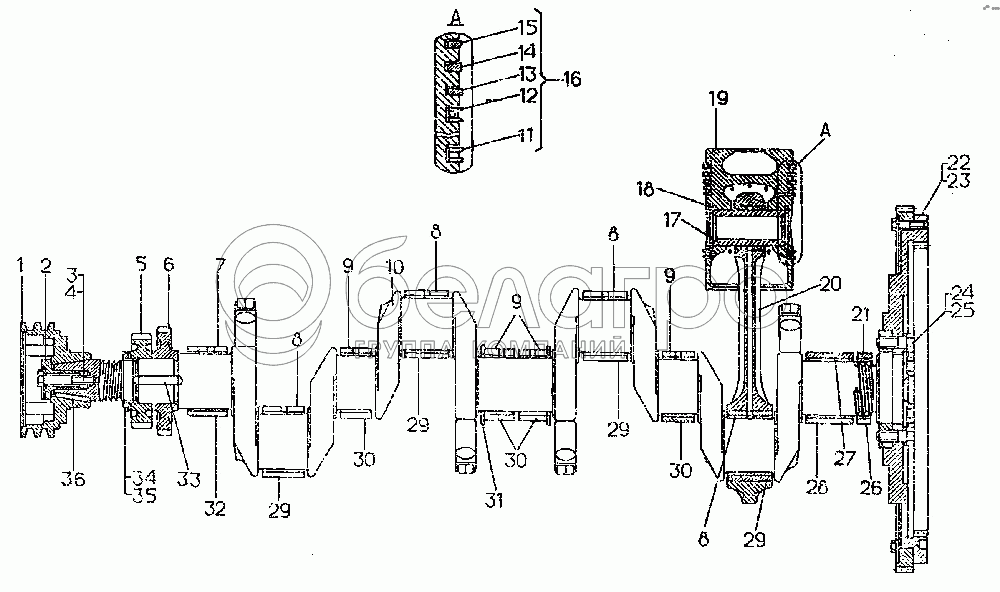
Каталог запасных частей к технике: ЧТЗ Т-10.02. Кривошипно-шатунный механизм дизеля

zoom-in zoom-out enlarge shrink circle-right circle-left file-text2 info cart arraw right arraw left zoom out zoom in arraw maximize arraw minimize
1
2
2
3
4
5
6
7
8
8
8
8
9
9
9
10
10
10
10
11
12
13
14
15
16
17
18
19
20
21
22
23
24
25
26
26
27
28
29
29
29
29
30
30
30
31
32
33
34
35
36
А23.01-10314А-01
Верхний вкладыш заднего коренного подшипника
В узле: 1
А23.01-10003А-01
Вкладыш шатунного подшипника верхний
В узле: 4
А23.01-10004А-0
Вкладыш шатунного подшипника
В узле: 4
А23.01-10308А-01
Верхний вкладыш переднего коренного подшипника
В узле: 1
А23.01-10309А-01
Вкладыш коренного подшипника
В узле: 1
65-03-3СП
Кривошипно-шатунный механизм с пуском дизеля электростартером
В узле: 1
65-03-2СП
Кривошипно-шатунный механизм дизеля с пуском пусковым двигателем
В узле: 1
А23.01-10310А-01
Вкладыш коренного подшипника
В узле: 4
А23.01-10311А-01
Нижний вкладыш промежуточных коренных подшипников
В узле: 1
А23.01-10312А-01
Нижний вкладыш переднего коренного подшипника
В узле: 1
А23.01-10313А-01
Нижний вкладыш заднего коренного подшипника
В узле: 1
1
14-03-12
Шкив коленчатого вала
В узле: 1
2
03709
Болт
В узле: 1
2
51-03-15
Стопор
В узле: 1
3
03331
Болт
В узле: ---
4
31337
Пластина замковая
В узле: 1
5
16-03-20
Шестерня
В узле: 1
6
1S--3-37
Шестерня
В узле: 1
7
А23.01-10308А
Вкладыш коренного подшипника
В узле: 1
8
А23.01-10003А
Вкладыш шатунного подшипника
В узле: 4
9
А23.01-10310А
Верхний вкладыш промежуточных коренных подшипников
В узле: 4
10
16-03-112 ОК СП
Вал коленчатый
В узле: 1
10
16-03-112СП
Вал коленчатый
В узле: 1
10
16-03-112 ОКШ СП
Вал коленчатый
В узле: 1
10
16-03-112 ОШ СП
Вал коленчатый
В узле: ---
11
А27.17.83.072
Кольцо маслосъемное
В узле: 4
12
А27.17.83.000
Кольцо маслосъемное
В узле: 4
13
А27.07.01.064
Кольцо компрессионное
В узле: 4
14
А27.07.02.069
Кольцо компрессионное
В узле: 4
15
А27.07.02.162
Кольцо компрессионное
В узле: 4
16
51-03-122СП
Комплект поршневых колец нормального размера
В узле: 1
17
16-03-50-01
Палец поршневой
В узле: 4
18
03306
Замок
В узле: 8
19
51-03-40
Поршень
В узле: 4
20
51-03-112СП
Шатун
В узле: 4
21
А23.01-10314А
Верхний вкладыш заднего коренного подшипника
В узле: 1
22
65-03-103СП
Маховик
В узле: 1
23
65-03-104СП
Маховик для дизеля с ЭССП
В узле: 1
24
03327
Болт
В узле: 5
25
31335
Пластина замковая
В узле: 3
26
А23.01-10315А
Нижний вкладыш заднего коренного подшипника
В узле: 1
26
А23.01-10315А-01
Нижний вкладыш заднего коренного подшипника
В узле: 1
27
А23.01-10312А
Нижний вкладыш переднего коренного подшипника
В узле: 1
28
А23.01-10313А
Вкладыш коренного подшипника
В узле: 1
29
А23.01-10004А
Вкладыш шатунного подшипника
В узле: 4
30
А23.01-10311А
Нижний вкладыш промежуточных коренных подшипников
В узле: 1
31
А23.01-13701А
Полукольцо упорное
В узле: 4
32
А23.01-10309А
Нижний вкладыш переднего коренного подшипника
В узле: 1
33
34106
Шпонка
В узле: 1
34
03323
Гайка
В узле: 1
35
16-03-49
Шайба
В узле: 1
36
34107
Шпонка
В узле: 1
Содержащиеся в справочниках-каталогах запасные части и детали не предлагаются к продаже, а носят исключительно информационный характер

Ваша заявка была отправлена. В ближайшее время наши специалисты с Вами свяжутся по указанному Вами телефону.

Представьтесь
Поле обязательно для заполнения
Ваш телефон
Введите правильный номер телефона
E-mail
Введите правильный e-mail
Тема
Тема
применяемость финансирование доставка цена, наличие другое сервис и гарантия
Время для звонка
08:00
08:00 09:00 10:00 11:00 12:00 13:00 14:00 15:00 16:00 17:00 18:00 19:00
19:00
08:00 09:00 10:00 11:00 12:00 13:00 14:00 15:00 16:00 17:00 18:00 19:00

Мы постараемся перезвонить в указанное время

Если вы не хотите ждать, то звоните нашим вежливым консультантам:

8 800 100-2-700
Подтвердите, что вы не робот
Подтвердите, что вы не робот
Спасибо!

Ваше сообщение успешно отправлено!

ЗакрытьПовторить попытку