Каталог запасных частей к технике: ЧТЗ Т-10М. Гидротрансформатор - продолжение

zoom-in zoom-out enlarge shrink circle-right circle-left file-text2 info cart arraw right arraw left zoom out zoom in arraw maximize arraw minimize
1
1
2
2
3
4
5
5
6
7
8
9
10
11
11
1
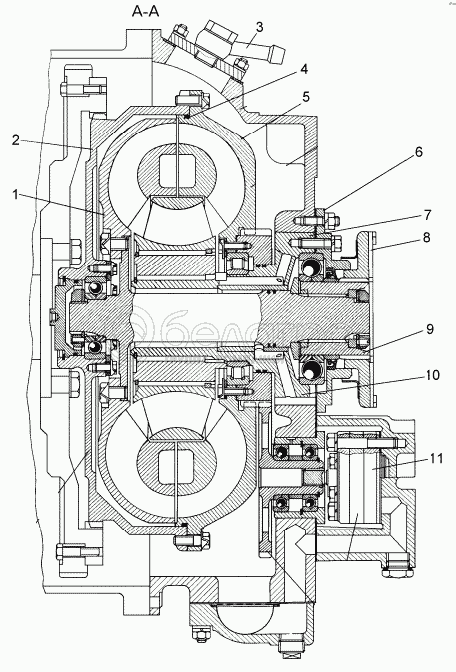
64-14-107СП
Вал турбинный
В узле: 1
1
64-14-107-01СП
Колесо турбинное
В узле: 1
2
64-14-101СП
Гидротрансформатор для тракторов с ЭССП
В узле: 1
2
64-14-101-01СП
Гидротрансформатор
В узле: 1
3
64-14-179СП
Трубка
В узле: 1
4
700-40-7517
Кольцо
В узле: 1
5
64-14-105СП
Колесо насосное
В узле: 1
5
64-14-105-01СП
Колесо насосное
В узле: 1
6
64-14-109СП
Крышка
В узле: 1
7
64-14-123СП
Ось
В узле: 1
8
64-14-13
Полумуфта
В узле: 1
9
64-14-108СП
Ступица
В узле: 1
10
64-14-102СП
Привод насосов
В узле: 1
11
50-60-231СП
Насос
В узле: 1
11
НМШ-25Б
Насос
В узле: ---
Содержащиеся в справочниках-каталогах запасные части и детали не предлагаются к продаже, а носят исключительно информационный характер

Ваша заявка была отправлена. В ближайшее время наши специалисты с Вами свяжутся по указанному Вами телефону.

Представьтесь
Поле обязательно для заполнения
Ваш телефон
Введите правильный номер телефона
E-mail
Введите правильный e-mail
Тема
Тема
применяемость финансирование доставка цена, наличие другое сервис и гарантия
Время для звонка
08:00
08:00 09:00 10:00 11:00 12:00 13:00 14:00 15:00 16:00 17:00 18:00 19:00
19:00
08:00 09:00 10:00 11:00 12:00 13:00 14:00 15:00 16:00 17:00 18:00 19:00

Мы постараемся перезвонить в указанное время

Если вы не хотите ждать, то звоните нашим вежливым консультантам:

8 800 100-2-700
Подтвердите, что вы не робот
Подтвердите, что вы не робот
Спасибо!

Ваше сообщение успешно отправлено!

ЗакрытьПовторить попытку