Каталог запасных частей к технике: ЧТЗ Т-10М. Капот

zoom-in zoom-out enlarge shrink circle-right circle-left file-text2 info cart arraw right arraw left zoom out zoom in arraw maximize arraw minimize
1
1
1
1
2
3
3
3
3
3
3
3
3
4
4
4
4
4
4
4
4
4
4
5
5
5
5
5
5
6
6
6
6
7
8
8
9
10
11
11
12
13
14
15
15
16
16
16
16
17
17
17
17
18
18
18
19
19
20
20
21
21
22
23
24
25
26
27
28
29
30
31
31
31
32
33
34
34
34
34
34
35
35
36
36
37
38
39
40
41
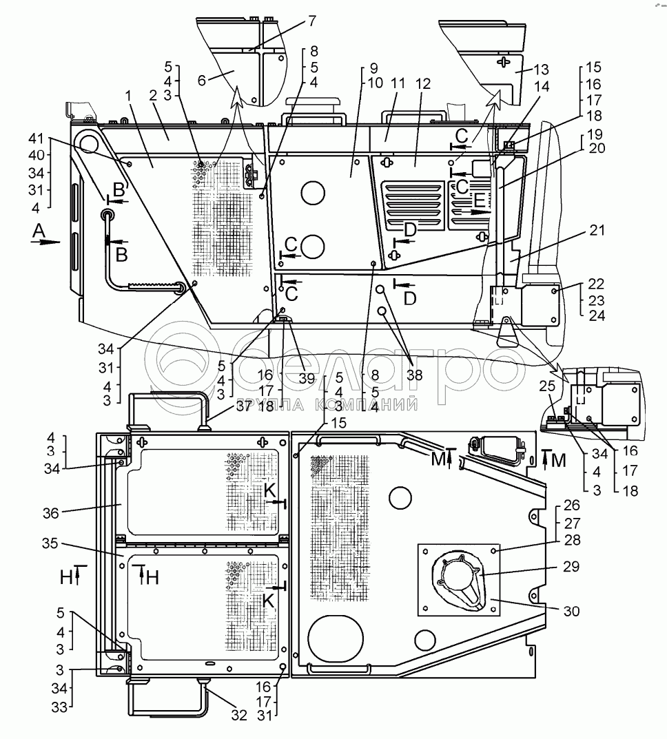
64-55-32-01СП
Капот
В узле: 1
64-55-32СП
Капот
В узле: 1
64-55-209-03СП
Рама
В узле: 1
64-55-209-02СП
Рама
В узле: 1
64-55-209-01СП
Рама
В узле: 1
64-55-32-08СП
Капот
В узле: 1
64-55-32-06СП
Капот
В узле: 1
64-55-32-02СП
Капот
В узле: 1
64-55-32-03СП
Капот
В узле: 1
64-55-32-05СП
Капот
В узле: 1
64-55-32-07СП
Капот
В узле: 1
1
64-55-520
Створка
В узле: 1
1
64-55-520-01
Створка
В узле: 1
1
64-55-520-04
Створка
В узле: 1
1
64-55-520-05
Створка
В узле: 1
2
64-55-225СП
Балка
В узле: 1
3
БолтМ10-6gx25.58.019
Болт
В узле: 33
4
Шайба10.ОТ.65Г.09
Шайба 10.ОТ.65Г.09
В узле: 49
5
3197
Шайба
В узле: 28
6
64-55-520-07
Створка
В узле: 1
6
64-55-520-06
Створка
В узле: 1
6
64-55-520-03
Створка
В узле: 1
6
64-55-520-02
Створка
В узле: 1
7
64-55-209СП
Рама
В узле: 1
8
28475
Болт
В узле: 4
9
50-55-486
Створка
В узле: 1
10
50-55-487
Створка
В узле: 1
11
64-55-210СП
Крыша
В узле: 1
11
50-55-325-03СП
Крыша
В узле: 1
12
50-55-488
Створка
В узле: 1
13
50-55-488-01
Створка
В узле: 1
14
50-55-489
Створка
В узле: 1
15
700-40-3667
Кольцо
В узле: 8
16
БолтМ12-6gx30.58.019
Болт
В узле: 10
17
Шайба12.ОТ.65Г.09
Шайба 12.ОТ.65Г.09
В узле: 6
18
3135-1
Шайба
В узле: 14
19
50-55-388СП
Опора
В узле: 1
19
50-55-388-01СП
Опора
В узле: 1
20
50-55-389СП
Опора
В узле: 1
20
50-55-389-01СП
Опора
В узле: 1
21
50-50-323СП
Боковина
В узле: 1
21
50-50-324СП
Боковина
В узле: 1
22
Шайба16.ОТ.65Г.09
Шайба 16.ОТ.65Г.09
В узле: 4
23
31477-01
Шайба
В узле: 4
24
700-28-2621
Болт
В узле: 4
25
50-55-449
Уголок
В узле: 2
26
БолтМ8-6gx16.88.35.019
Болт М8-6gx16.88.35.019
В узле: 4
27
Шайба8Т.65Г.09
Шайба 8Т.65Г.09
В узле: 4
28
31386
Шайба
В узле: 4
29
64-55-546
Пластина
В узле: 1
30
64-55-547
Пластина
В узле: 1
31
31372
Шайба
В узле: 14
32
64-70-111СП
Поручень - подножка
В узле: 1
33
Шайба10.ОТ.65Г.09
Шайба 10.ОТ.65Г.09
В узле: 4
34
31308-1
Шайба
В узле: 21
35
64-55-211СП
Крышка
В узле: 1
35
64-55-211-01СП
Крышка
В узле: 1
36
64-55-212СП
Крышка
В узле: 1
36
64-55-212-01СП
Крышка
В узле: 1
37
64-70-111-01СП
Поручень - подножка
В узле: 1
38
700-37-368
Пробка
В узле: 4
39
64-08-473-01
Накладка
В узле: 4
40
64-55-556
Болт
В узле: 16
41
64-55-557
Кольцо
В узле: 16
Содержащиеся в справочниках-каталогах запасные части и детали не предлагаются к продаже, а носят исключительно информационный характер

Ваша заявка была отправлена. В ближайшее время наши специалисты с Вами свяжутся по указанному Вами телефону.

Представьтесь
Поле обязательно для заполнения
Ваш телефон
Введите правильный номер телефона
E-mail
Введите правильный e-mail
Тема
Тема
применяемость финансирование доставка цена, наличие другое сервис и гарантия
Время для звонка
08:00
08:00 09:00 10:00 11:00 12:00 13:00 14:00 15:00 16:00 17:00 18:00 19:00
19:00
08:00 09:00 10:00 11:00 12:00 13:00 14:00 15:00 16:00 17:00 18:00 19:00

Мы постараемся перезвонить в указанное время

Если вы не хотите ждать, то звоните нашим вежливым консультантам:

8 800 100-2-700
Подтвердите, что вы не робот
Подтвердите, что вы не робот
Спасибо!

Ваше сообщение успешно отправлено!

ЗакрытьПовторить попытку