Каталог запасных частей к технике: ЧТЗ Т-10М. Механизм переключения

zoom-in zoom-out enlarge shrink circle-right circle-left file-text2 info cart arraw right arraw left zoom out zoom in arraw maximize arraw minimize
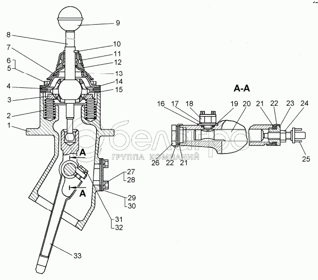
1
1
2
3
4
5
6
7
7
8
8
9
10
11
12
13
14
15
15
16
17
18
18
19
20
20
21
21
22
22
23
24
25
26
27
28
29
30
31
32
33
18-12-178СП
Механизм переключения правый
В узле: 1
18-12-177СП
Механизм переключения левый
В узле: 1
1
18-12-391
Проставка
В узле: 1
1
18-12-330
Проставка
В узле: 1
2
38325
Пружина
В узле: 2
3
13360
Кольцо
В узле: 1
4
13317
Фланец шаровой
В узле: 2
5
БолтМ10-6gx30.58.019
Болт
В узле: 4
6
Шайба10.ОТ.65Г.09
Шайба 10.ОТ.65Г.09
В узле: 4
7
40820
Кольцо
В узле: 1
7
КО50x70-2
Кольцо
В узле: 1
8
18-12-161СП
Рычаг правый
В узле: 1
8
18-12-162СП
Рычаг левый
В узле: 1
9
13310СП
Рукоятка
В узле: 1
10
Шплинт4x32.019
Шплинт 4x32.019
В узле: 1
11
13591
Крышка
В узле: 1
12
46612
Колпачок
В узле: 1
13
13319
Крышка
В узле: 1
14
13318
Фланец шаровой
В узле: 1
15
40819-1
Прокладка
В узле: 3
15
40819
Прокладка
В узле: 3
16
18-12-411
Пластина
В узле: 1
17
21-12-50
Прокладка
В узле: 7
18
ВК4183716000
Выключатель
В узле: 1
18
ВК4183716000-Т
Выключатель
В узле: 1
19
Кольцо014-018-25-2-5
Кольцо 014-018-25-2-5
В узле: 1
20
18-12-412
Валик
В узле: 1
20
18-12-413
Валик
В узле: 1
21
40588
Прокладка
В узле: 4
22
31368
Шайба
В узле: 2
23
700-37-2319
Пробка
В узле: 1
24
700-30-604
Гайка
В узле: 1
25
ВК412
Выключатель
В узле: 1
26
700-37-2154
Пробка
В узле: 2
27
БолтМ8-6gx16.88.35.019
Болт М8-6gx16.88.35.019
В узле: 4
28
Шайба8Т.65Г.09
Шайба 8Т.65Г.09
В узле: 4
29
18-12-246
Крышка
В узле: 1
30
700-40-3072-1
Прокладка
В узле: 1
31
БолтМ12x1,25-6gx30.88.019
Болт М12x1,25-6gx30.88.019
В узле: 2
32
700-31-2337
Шайба
В узле: 1
33
18-12-410
Рычаг
В узле: 1
Содержащиеся в справочниках-каталогах запасные части и детали не предлагаются к продаже, а носят исключительно информационный характер

Ваша заявка была отправлена. В ближайшее время наши специалисты с Вами свяжутся по указанному Вами телефону.

Представьтесь
Поле обязательно для заполнения
Ваш телефон
Введите правильный номер телефона
E-mail
Введите правильный e-mail
Тема
Тема
применяемость финансирование доставка цена, наличие другое сервис и гарантия
Время для звонка
08:00
08:00 09:00 10:00 11:00 12:00 13:00 14:00 15:00 16:00 17:00 18:00 19:00
19:00
08:00 09:00 10:00 11:00 12:00 13:00 14:00 15:00 16:00 17:00 18:00 19:00

Мы постараемся перезвонить в указанное время

Если вы не хотите ждать, то звоните нашим вежливым консультантам:

8 800 100-2-700
Подтвердите, что вы не робот
Подтвердите, что вы не робот
Спасибо!

Ваше сообщение успешно отправлено!

ЗакрытьПовторить попытку