Каталог запасных частей к технике: ЧТЗ Т-10М. Механизм переключения

zoom-in zoom-out enlarge shrink circle-right circle-left file-text2 info cart arraw right arraw left zoom out zoom in arraw maximize arraw minimize
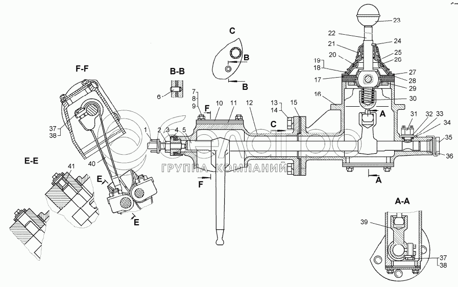
1
2
3
4
5
5
6
7
8
9
10
11
12
12
13
14
15
15
16
16
17
18
19
20
20
21
22
22
23
24
25
26
27
28
28
29
30
31
31
32
33
34
35
36
37
37
38
38
39
40
41
20-12-132СП
Механизм переключения
В узле: 1
20-12-131СП
Механизм переключения
В узле: 1
1
ВК412
Выключатель
В узле: 1
2
700-30-604
Гайка
В узле: 1
3
700-37-2319
Пробка
В узле: 1
4
31368
Шайба
В узле: 2
5
20-12-79
Валик
В узле: 1
5
20-12-92
Валик
В узле: 1
6
32349
Штифт
В узле: 1
7
ГайкаМ8x1-6Н.8.45.019
Гайка М8x1-6Н.8.45.019
В узле: 8
8
Шайба8Т.65Г.09
Шайба 8Т.65Г.09
В узле: 8
9
ШпилькаМ8x1,25-3р\1-6gx18.66.016
Шпилька М8x1,25-3р\1-6gx18.66.016
В узле: 8
10
18-12-246
Крышка
В узле: 2
11
700-40-3072-1
Прокладка
В узле: 2
12
20-12-85
Проставка задняя правая
В узле: 1
12
20-12-86
Проставка задняя левая
В узле: 1
13
700-28-2621
Болт
В узле: 4
14
Шайба16.ОТ.65Г.09
Шайба 16.ОТ.65Г.09
В узле: 4
15
700-40-3254
Прокладка
В узле: 1
15
700-40-3254-1
Прокладка
В узле: 1
16
20-12-80
Проставка передняя правая
В узле: 1
16
20-12-84
Проставка передняя левая
В узле: 1
17
13317
Фланец шаровой
В узле: 2
18
БолтМ10-6gx30.58.019
Болт
В узле: 4
19
Шайба10.ОТ.65Г.09
Шайба 10.ОТ.65Г.09
В узле: 4
20
40820
Кольцо
В узле: 1
20
КО50x70-2
Кольцо
В узле: 1
21
13591
Крышка
В узле: 1
22
18-12-161СП
Рычаг правый
В узле: 1
22
18-12-162СП
Рычаг левый
В узле: 1
23
13310СП
Рукоятка
В узле: 1
24
Шплинт4x32.019
Шплинт 4x32.019
В узле: 1
25
46612
Колпачок
В узле: 1
26
13319
Крышка
В узле: 1
27
13318
Фланец шаровой
В узле: 1
28
40819
Прокладка
В узле: 3
28
40819-1
Прокладка
В узле: 3
29
13360
Кольцо
В узле: 1
30
38325
Пружина
В узле: 2
31
ВК4183716000
Выключатель
В узле: 1
31
ВК4183716000-Т
Выключатель
В узле: 1
32
21-12-50
Прокладка
В узле: 7
33
Кольцо014-018-25-2-5
Кольцо 014-018-25-2-5
В узле: 1
34
18-12-411
Пластина
В узле: 1
35
700-37-2154
Пробка
В узле: 2
36
40588
Прокладка
В узле: 4
37
БолтМ12x1,25-6gx30.88.019
Болт М12x1,25-6gx30.88.019
В узле: 4
38
700-31-2337
Шайба
В узле: 1
39
20-12-91
Хвостовик
В узле: 1
40
20-12-90
Рычаг
В узле: 1
41
20-12-87
Втулка
В узле: 1
Содержащиеся в справочниках-каталогах запасные части и детали не предлагаются к продаже, а носят исключительно информационный характер

Ваша заявка была отправлена. В ближайшее время наши специалисты с Вами свяжутся по указанному Вами телефону.

Представьтесь
Поле обязательно для заполнения
Ваш телефон
Введите правильный номер телефона
E-mail
Введите правильный e-mail
Тема
Тема
применяемость финансирование доставка цена, наличие другое сервис и гарантия
Время для звонка
08:00
08:00 09:00 10:00 11:00 12:00 13:00 14:00 15:00 16:00 17:00 18:00 19:00
19:00
08:00 09:00 10:00 11:00 12:00 13:00 14:00 15:00 16:00 17:00 18:00 19:00

Мы постараемся перезвонить в указанное время

Если вы не хотите ждать, то звоните нашим вежливым консультантам:

8 800 100-2-700
Подтвердите, что вы не робот
Подтвердите, что вы не робот
Спасибо!

Ваше сообщение успешно отправлено!

ЗакрытьПовторить попытку